历史上的今天
今天是:2025年04月01日(星期二)
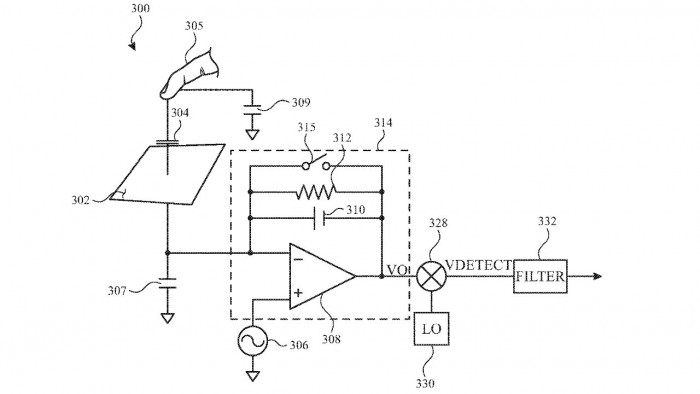
2021年04月01日 | 苹果新专利显示未来iPhone可以戴手套使用
2021-04-01 来源:cnBeta
如果苹果研究出如何让自己的设备在不需要按压玻璃的情况下就能登记触摸,那么今后你就不需要摘下手套来接听iPhone了。这也是为什么戴着手套的人有时会用鼻子接听电话的原因,或者至少是为什么他们接听电话时能用。现在苹果想让你可以保持鼻子干净。
“手套触摸检测”,是一项新披露的苹果专利,主要涉及iPhone或其他设备如何利用近距离来检测用户何时想要按下屏幕。苹果在专利当中表示,检测触控可以包括感应对应于近距离物体(例如手指或手写笔等导电物体)的触控信号。
通常情况下,iPhone屏幕的工作原理一直是检测你按压玻璃时的变化。它非常聪明,知道你何时打算这样做,何时只是无意中以某种角度拿起手机。而这种智能性的一部分在于做出选择。例如,iPhone可以记录一次按压,并知道它离屏幕上的图标或按钮有多近。它可以知道用户按压的时间有多长, 它可以分辨出手指的刺击动作和握持的区别。
在每一种情况下,归根结底是有一个点,在这个点上,设备认为你是认真的。苹果将其称为 “触摸检测阈值”。例如,用户在操作带有触摸屏的电子设备时可能戴着手套,电子设备可能无法检测到戴着手套的手指触碰触摸屏,因为响应于戴着手套的手指触碰而产生的触摸信号可能无法达到电子设备的调谐触摸检测阈值。
这项专利提出,如果在屏幕上的某个地方,在一定时间内登记了变化,那么就假设触摸是有意的。在检测到对应于戴着手套的手指触摸面板并从面板上抬起来的信号密度的斜率时就可以了。
这项专利大部分集中在用户按下苹果公司所谓的 “输入贴片 ”或可触摸区域时产生的电压问题上。但是,屏幕在iPhone、iPad或任何其他设备上,不能只由戴着手套的手使用,它也必须用裸指工作。所以根据用户是戴着手套与电子设备互动,还是裸指触摸,动态改变触摸阈值是有利的。苹果提出,设备可以在默认的“‘裸指模式’”和“‘手套模式’”中选择一种进行操作,在这种模式下,它可以改变对触摸压力的反应程度。

史海拾趣
|
新手请教verilog实现VGA显示移动小球的问题:使用ALTER公司的QuartusII软件开发,小弟现在想要实现一个用字模实现的小球,在屏幕上斜线移动的问题,但球会逐行显示又逐行消失,若只横向移动,则能一直显示,希望大家不吝赐教,部分代码如下: modu ...… 查看全部问答> |
|
如题: 我的板子是at89s52 晶振是11。0592 max232cpe通讯 通讯方式11位 怎样在9600下正常通讯,小弟是初学者,多谢各位… 查看全部问答> |
|
根据时序要求,我们设定VM/VDEN信号作LCD的ENAB信号,VCLK信号作LCD的NCLK信号。要想得到合适的VM和VCLK波形,就要正确设定寄存器的值,根据寄存器的值与VM和VCLK波形的关系,我们设定了如下关键寄存器的值: HSPW=10;HBPD=100;HFPD=47; VSPW=1;VBPD=37 ...… 查看全部问答> |
|
1PG的#18#17位置设置(1)的设置范围是“0到正负999999”,如果我的伺服驱动器设定每转输入100000个脉冲,那么我能让电机旋转的圈数最多只有9圈多?比如我要电机转15圈,那么每转脉冲数乘以旋转圈数(100000*15=1500000)就超出了设定范围了!如果 ...… 查看全部问答> |
|
一个使能端为E的D触发器:工作原理是:当E=0时:控制门被封锁,触发器保持原态不变。Qn+1=Qn当E=1时:控制门开启,Qn+1=D(E=1时),那么上电的时候输出Q为什么状态呢? 也就是说Qn是什么状态呢? Q是输出为0。… 查看全部问答> |




