历史上的今天
今天是:2025年04月08日(星期二)
2021年04月08日 | 广汽埃安电池包,给电池提供安全保护
2021-04-08 来源:爱集微
近日,广汽埃安发布了新一代动力电池安全技术——弹匣电池系统安全技术。据广汽埃安知情人士表示,该技术是将电芯安装在一个个高安全性的安全舱里,通过软硬件一体化的安全技术提升整体电池包的安全性。
随着汽车行业的快速发展,新能源车也随之得到迅速发展。新能源车电机的动力主要来源于电池模组,而电池模组一般以电池包的形式固定安装于车体上。目前,电池包主要由上壳体与下壳体两部分组成,电池模组安装在下壳体内,上壳体盖在下壳体上。在下壳体的底部通常喷涂防护层以对电池包的底部进行防护。然而,传统喷涂的防护层无法保障电池包的剐蹭性能,一旦发生剐蹭时,下壳体很容易发生变形或者破损的风险,严重影响电池模组的安全性。
为此,广汽埃安于2020年2月28日申请了一项名为“电池包、电池下壳体及底护结构”的发明专利(申请号: 202020227141.8),申请人为广汽埃安新能源汽车有限公司。

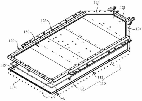
图1 电池下壳体结构示意图
图1为本发明提出的电池下壳体结构示意图。其中底护结构110包括防护板111与围边112,防护板111在底板130的底面,围边112在防护板111上,并沿着防护板111的周向设置,围成容纳空间115,装入底板130。围边112与边框120连接。
底护结构110在电池包组装过程中,将电池下壳体100的底板130装入容纳空间115中,使得底板130的底面贴在防护板111上,同时,也使边框120的侧面与围边112接触;接着,将围边112连接在边框120上,使底护结构110得到稳定安装。即在电池包的底部通过额外增设底护结构110,并通过围边112使得防护板111稳定贴合在底板130上,增强了电池包整体结构强度,当电池包底部发生剐蹭时,防护板111先于底板130接触剐蹭物,有效抵消剐蹭力,防止底板130在剐蹭过程中发生变形或者破损。此外,围边112与防护板111形成容纳空间115,使底板130、边框120与底板130连接的部分均位于容纳空间115内,保证电池包的底部得到全方位防护,进一步提高了电池包的剐蹭性能。
防护板111与围边112为一体化结构,不仅简化底护结构110的生产工序,加快底护结构110的制作效率,而且还增强底护结构110的整体强度,保证电池包具有更高的剐蹭性能。
底护结构110还包括密封件113。密封件113在防护板111朝向容纳空间115内的一侧面上,沿着防护板111的周向设置,与底板130的底面贴合。填补了底板130与防护板111之间的缝隙,使其紧密结合,提升密封性,避免雨水或者其他腐蚀性液体渗入其中而导致底板130被腐蚀损坏;同时,在底板130与底护结构110之间设置密封件113,也有利于提高电池包整体的防水性能。
简而言之,广汽埃安的电池包专利,通过在电池包的底部额外增设底护结构,并使防护板稳定贴合在底板上,增强了电池包整体结构强度,大大提升电池包的剐蹭性能,保证电池模组稳定、安全运行,从而有效提升电池包的使用寿命及安全性。
广汽埃安是广汽集团秉承自主创新的体系优势,面向未来发展成立的一家创新科技公司,致力于提供世界级的移动智能新能源产品和服务,成为世界领先和社会信赖的绿色智慧移动价值创造者。广汽埃安将一直以客户体验为中心,持续打造世界级的产品和服务,以科技创新实现全球引领。
史海拾趣
|
最近做wavecom模块连单片机的项目,要做来电自动回复短信的模块,可是用at+clip=1的at命令后,打电话返回的是这样的字符串 ring +clip \"18935\",,,129 \"xxxxxxxxxxxxxxxxxxxxxxxx\" 那一串x是一大堆十六进制数,我也记不清了,反正是根本没 ...… 查看全部问答> |
|
使用PB裁系统,怎么使得裁出来的系统默认使用GB2312字符集? 已经在setting选择 中国(中文) 在Fonts 添加了 Simsun ... (Subset 2_80) 是不是还需要添加什么啊?… 查看全部问答> |
|
我写了一个摇奖程序,现在只能用键盘来控制摇奖和开奖 但我想做一个只有一个按钮的东西,和电脑的串口相连, 然后,按一下这个按钮,就向电脑发送一个8位的数据,然后在程序里面读取, 但不知道这个东西怎么做 请高手帮个忙啊!!!… 查看全部问答> |
|
大家好,挽歌为大侠一个为问题! 我装了platform Bulider4.2 是默认安装的,里面只有X86一个型号,新建一个平台的时候,编译平台不能通过,提示下面的错误,大家帮帮忙,告诉我是什么原因???先谢谢了!! enerating platform header files... ...… 查看全部问答> |
|
我有个PDA windows mobile5.0。 想让PDA与单片机通过红外通信。 看了点wince下的红外资料,貌似是用套接字接口通信,还分客户端和服务器端。 单片机部分是硬件工程师做的,他说红外通信部分就和串口一样,把应用数据一个字节一个字节地发送。 但 ...… 查看全部问答> |
|
联系 收藏 回复 编辑 删除 如何进行ads7843触摸屏的调试?? 我采用ads7843进行触摸屏数据转换,DOUT脚始终是高电平,采集的数据始终是同样的值8190,8190(12位 最大值) 郁闷中 ,不知如何解决,请用过ads7843的朋友指点一二。 下面是程序中 ...… 查看全部问答> |
|
9b96每个GPIO管脚都可以作为外部中断输入GPIOIntTypeSet(GPIO_PORTJ_BASE, GPIO_PIN_3, GPIO_LOW_LEVEL); //设置PJ3作为中断源,低电平触发GPIOPinIntEnable(GPIO_PORTJ_BASE, GPIO_PIN_3); &nbs ...… 查看全部问答> |
|
全国大学生电子竞赛B题 风力摆控制系统设计【原理图+源代码+设计报告】 所需主要清单:mpu6050、四轴飞行器、液晶显示屏12864、按键、L298n驱动。完善程度:90% 除发挥部分其他(10分)未完成,剩余的基本完成。特别说明:由于关键时期,更换电机。所以设计报告中,与现实作品有一定差距,但并不影响最终效果。(以现实 ...… 查看全部问答> |




