历史上的今天
今天是:2025年08月19日(星期二)
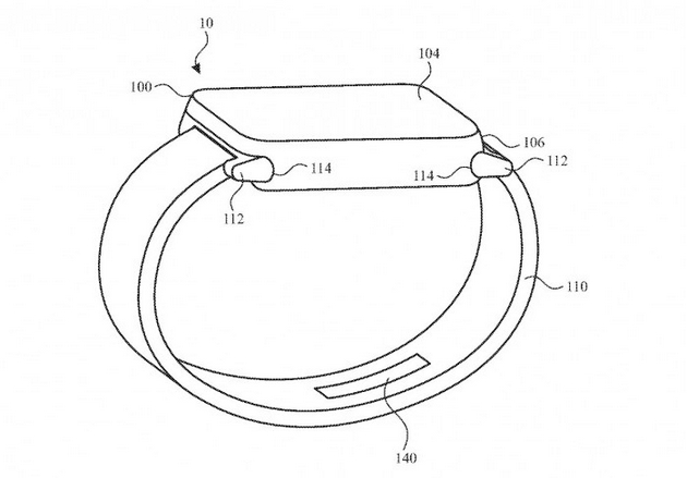
2021年08月19日 | 新专利显示未来苹果手表表带或集成水合传感器
2021-08-19 来源:cnBeta
苹果公司一直在研究如何让Apple Watch表带自动跟踪佩戴者的水合情况,以及由此带来的所有健康监测好处。苹果供应商Rockley Photonics最近宣布了一个无创葡萄糖监测系统,该系统看起来是为苹果手表准备的,演示装置使用了苹果手表表带。不过,该公告中几乎没有提到Rockley系统是否可以监测更多内容,包括水合作用。
现在,苹果公司已经单独获得了一项与此相关的专利。在这项名为“用手表测量水合作用”的专利当中,苹果表示,水合作用是一个关键的健康指标,从一个从单一类型的传感器就能贡献大量健康信息。用户的水合水平对用户的健康有重大影响,脱水会损害身体,并与一些有害的健康后果有关,包括中暑。过度饮水会导致低钠血症、疲劳、混乱、昏迷,甚至死亡。

目前,有许多iPhone和Apple Watch的应用程序,可以提醒用户经常喝水,但是不要喝太多。不过苹果表示,对于实际测量,典型的技术通常是侵入性的,昂贵的,或不可靠的。例如,一些水合跟踪技术涉及测量用户的液体样本,如尿液或血液,有些技术需要分析传感器与样本液体发生化学反应。这些传感器中有许多是一次性的,仅限于一次使用。
苹果在专利当中建议使用Apple Watch进行定期的、周期性的测量,以计算用户的水合情况,并使用Apple Watch表带进行测量。手表可以被定位为接收和测量用户汗液一个或多个电属性,测量结果可用于向用户提供有用的反馈和健康跟踪信息,从而使用户能够更好地管理水合和整体健康。
苹果公司的想法是包括用于测量汗液电性能的电极,这些特性可以代表汗液中的电解质浓度,这反过来又代表了用户的水合水平。由于这种测量是在汗水上进行的,所以它是它非侵入性的,可以重复、准确、自动地进行,而且用户干预最少。然后可以随着时间的推移跟踪测量结果,从而使用户能够更好地管理水合和整体健康。
史海拾趣
|
前面介绍了SJA1000独立的CAN控制器的工作原理和电路本文将介绍SJA1000独立的CAN控制器应用指南以变可以更好的运用SJA1000… 查看全部问答> |
|
你听过能预言祸吉的咒语吗?虽然这是回到在古希腊时代才能听得到,它似乎在当今的整个美国,包括IT领域内的众多企业在内仍然存在并且十分盛行。 卡珊德拉,这位古希腊美女,被深爱她的阿波罗赋予了预知未来的禀赋。但当卡珊德拉拒绝他的时 ...… 查看全部问答> |
|
在PPC下编译出现如下编译错误: 2140: Error: unsupported relocation type &nb ...… 查看全部问答> |
|
为什么基于cepc和geode定制的系统,一个可以跳转,一个停在jumping..上 Debug Serial Init SysInit: GDTBase=80ad70e8 IDTBase=80b28ec0 KData=80b49800 Windows CE Kernel for i486 Built on Jun 24 2004 at 18:23:42 g_pPageDir = 80b4a000 Init ...… 查看全部问答> |
|
ADI USB全速隔离芯片ADUM4160 ADuM4160是一款基于ADI公司iCoupler®技术的USB端口隔离器。它将高速CMOS工艺与单片空芯变压器技术相结合,可提供优异的工作性能,并且很容易与低速和全速USB兼容外设集成。许多微控制器实施的USB只向外部引脚提供 ...… 查看全部问答> |
|
一块CC2530板子在下载时,出现“This device has been locked for debugging. To enable debugging and continue with... ”,导致无法下载,另外一块板子如此下载没有问题。 当用SmartRF Flsah pragrammer 下载.hex时,出现“Chip is locked! Not ...… 查看全部问答> |




