历史上的今天
今天是:2024年08月22日(星期四)
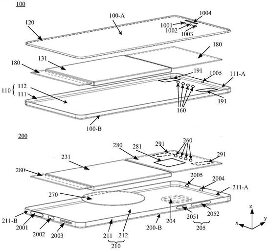
2021年08月22日 | 华为公布可分离移动终端专利:屏幕和主机可拆卸、可合体
2021-08-22 来源:IT之家
华为技术有限公司在近日公开了一项“可分离的移动终端”专利,专利号为 CN113271368A,申请日期为 2020 年 9 月。

企查查专利摘要显示,本申请提供了可分离的移动终端,包括屏幕组件和与屏幕组件可拆卸连接的主机组件,在屏幕组件和主机组件合为一体时,屏幕组件的外表面可与主机组件接触。屏幕组件是便于和用户交互的部件,主机组件包括用于提供通话功能且重量较重的移动通信模块,相比于现有的一体化设计的移动终端,移动终端的重量较重的移动通信模块设置在主机组件中,屏幕组件的重量大大减轻。

在屏幕组件和主机组件分离时,主机组件与屏幕组件可实现移动终端的通话功能,用户可仅手持屏幕组件,将主机组件放置在口袋或其他地方,在能够实现移动终端的通话功能的情况下,重量较轻的屏幕组件减少了用户手持的设备的重量,实现了移动终端的轻薄化设计,提高了用户体验。
IT之家了解到,华为在探索手机新形态方面有很多尝试,此前华为还公开了柔性屏相关专利,可对折叠状态进行有效控制,以及可折叠电子设备专利、卷曲屏电子设备专利等。
史海拾趣
|
我的电路设计和程序都编写好了,但是输出波形很不理想,只有方波OK,三角波,锯齿波,正弦波都失真很厉害,求大侠们帮小弟解决下这个问题! ORG 0000H MAIN: MOV A,#00H MO ...… 查看全部问答> |
|
在camera驱动的Display_Cam_Image 中 memcpy((void *)(FRAMEBUF_BASE+ (240*pos_y + pos_x) + y*240*2),(void *)buffer_rgb,(QCIF_XSIZE)*2); 这句中 FRAMEBUF_BASE+ (240*pos_y + pos_x) + y*240*2 这个地址为什么要这样计算???… 查看全部问答> |
|
我们现在做的一个关于嵌入式课题在开发系统选型时遇到了一点问题,因为我们的系统既需要良好的GUI又需要较强大的信号处理能力,因此我们不得不把目光放到了arm+dsp双核开发系统上,但过去的双核开发系统应用相对较少,大多是选取一片独立的arm芯片 ...… 查看全部问答> |
|
讨论:各位在单片机中用什么算法去做菜单? 比如我要用89s52和smc1602做个菜单。这个菜单有很多层的,即有子菜单。 不知道各位用的是什么方法和算法? 小弟我一开始就用树和链表方式做的。不好。 & ...… 查看全部问答> |
|
动手做个示波器,液晶显示屏不知用那款好些.有的说用 NS 12864C,也有的的说用 NS 12864R 有点拿不准.想请教高手.用那款实用好些,二者有何区别.请给欲我答复.感激.谢谢!… 查看全部问答> |
|
请问下各位大虾,目前在调试W25Q32,miso引脚没有输出,怎么办? 主芯片:lm3S9B92 dataflash:试过W25Q32和W25Q80 SPI时钟:1Mbit 表现如下: 初始化SPI正常,读取ID的值为0xff,用示波器看SCK和mosi都有信号,CS也有,SCK的频率也确实是1Mbit,从而应该可以判断SPI的初始化没有问题。而miso持续为高。MISO上 ...… 查看全部问答> |
|
LDO 是新一代的集成电路稳压器,它与三端稳压器最大的不同点在于,LDO 是一个自耗很低 的微型片上系统(SoC)。LDO 按 其 静 态 耗 流 来 分 , 分 为 OmniPowerTM / MicroPowerTM / NanoPowerTM 三种产品。OmniPowerTM LDO 的静态电流在 10 ...… 查看全部问答> |
|
各位大侠看看这个Atmega128单片机接收数据代码有啥问题,谢谢!怀疑是中断接收那里 #include #include #include #define fosc 8000000 #define baud 4800 #define uchar unsigned char #define uint unsigned int char rev_buf[80]; //接收缓存 /*uchar rev ...… 查看全部问答> |




