历史上的今天
今天是:2024年09月18日(星期三)
2021年09月18日 | s3c2440的处理器结构和外设连接
2021-09-18 来源:eefocus
1、S3C2440处理器结构
S3C2440处理器的结构如下图所示,其核心单元为ARM9TDMI处理器核,主要包括16K的指令Cache和16K的数据Cache,以及分开的指令和数据MMU单元等。CP15为一个协处理器(Co-Processor)。通过AMBA2.0(Advanced Microcontroller Bus Architecture)总线接口与外部设备相连。

IVA指Instruction Virtual Address,指令虚拟地址;DVA指Data Virtual Address,数据虚拟地址。IPA指Instruction Physical Address,指令物理地址;DPA指Data Physical Address,指数据物理地址。
S3C2440处理器的封装大小为14mmx14mm,289-FBGA封装类型。工作频率最高为400MHz。

2、总线与外设的连接框图

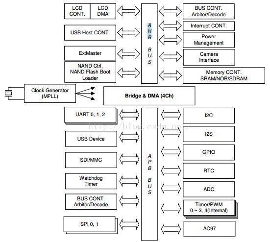
图 2 S3C2440外部设备连接图
MPLL锁相环产生时钟,供给AMBA总线上的各个设备使用。AHB总线上,主要包括LCD控制器、LCD的DMA模块,USB Host控制器,ExtMaster(允许外部设备作为总线的Master),NAND 控制器、NAND Flash启动的装载器,总线控制器、仲裁器和译码器,中断控制器,电源管理模块,摄像头接口模块,内存控制器(包括SRAM、NOR Flash和SDRAM三种)。
APB总线上挂载各种外设,包括3个UART,USB设备,SDI/MMC卡,看门狗定制器,总线控制器、仲裁器和译码器,2个SPI总线,I2C总线,I2S总线,GPIO接口,RTC实时时钟,ADC模数转换器,定时器/PWM发生器,AC97音频编解码器。
史海拾趣
|
影响平行缝焊成品率的因素 【来源:SMT信息网】【作者:toptouch】【时间: 2004-12-30 14:31:47】【点击: 4490】 摘要:对于一些在特殊环境下使用的光电器件,需要进行密封,以防止器件中的电路模块因潮气、大气中的离子、腐蚀气 ...… 查看全部问答> |
|
1、自动化仪表与企业的信息化 自动化仪表技术包括信息采集、处理和应用。“企业信息化”实际上是企业信息的集成和整合。为此,必须用自动化和系统的信息模型“简化”、“规则”和“抽象”信息,以便最有效地利用信息。这是自动化仪表领域的一 ...… 查看全部问答> |
|
我想用WinIO.sys获取cpu的当前温度,为什么程序老是失败,temp_dwPortVal=0xffffffff 在头文件中导入: #include \"WinIO.h\" #pragma comment(lib,\"WinIo.lib\") 在实现中: DWORD temp_dwPortVal=0;   ...… 查看全部问答> |
|
s3c2440 camera 疑惑(基于7113的视频采集) 各位大侠,小弟现在正在搞2440 的视频开发,初次涉及,想用7113来做视频采集,烦请各位给提供个简单的思路,或者是大致的方向,不胜感激… 查看全部问答> |
|
自学开始学习单片机,差不多学会了几种,包括8位的51系列和16位的msp430系列,以及32位的arm系列。 听一些人说一般要学会8位的51单片机后学习16位和32位才会比较容易,但是我实在对于他们的区别没有明显的感觉。特别是8位和16位单片机的区别,使用 ...… 查看全部问答> |
|
PSMN1R8-40YLC N-channel 40 V 1.8 mΩ 这款芯片是sot669封装,但是我不清楚是几脚的,关于mb ,到底是画成第五个引脚还是,就只是四个引脚,四个引脚的话,那个Drain是第几引脚?为啥1,2,3引脚都是source引脚?此芯片是用的AltiumDesigner 画的封装,跪求指导。。。… 查看全部问答> |




