历史上的今天
今天是:2024年09月18日(星期三)
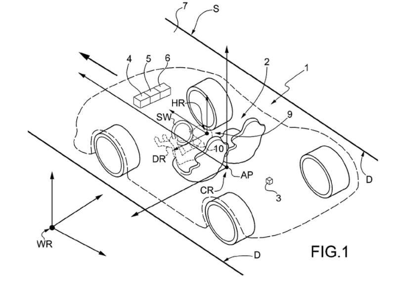
2021年09月18日 | 法拉利新专利:新智能头盔
2021-09-18 来源:盖世汽车
据外媒报道,法拉利的新“智能头盔”商标申请可能将获得美国专利商标局(United States Patent and Trademark Office)的通过。该技术可能会彻底改变跑车活动和赛车运动。
专利申请详细介绍了该头盔,并表示最终可以取代高端性能汽车上的平视显示器或繁忙仪表盘的设备。专利图显示,佩戴头盔的驾驶员将看到投射在他们眼前的各种数据,显示诸如车速、发动机转速、环境温度、建议的制动点和建议赛道等信息,以及更具环保意识的数显,像燃油经济性甚至速度区。

(图片来源:美国专利商标局)
在解释头盔的原理时,法拉利表示:“通车道路上的速度限制远低于汽车提供的实际性能,尤其是在高端性能跑车。因此,通常高端性能跑车在道路上行驶时,仅使用实际容量的一小部分。然而,对于没有经验的车手来说,在赛道上进行高端性能驾驶可能会变得非常复杂,因为它与日常在通车的道路上驾驶完全不同。特别是,没有经验的驾驶员很难完全了解汽车的实际极限。因此,一方面,汽车的性能有可能没有被完全利用,另一方面还存在偏离道路的风险,这对汽车的完整性和驾驶员的安全都是潜在的危险。”

(图片来源:美国专利商标局)
法拉利可通过这款新型“智能头盔”将视频游戏驾驶员辅助带到现实世界,以帮助新的或没有经验的赛道驾驶员充分利用车,即使没有电子安全系统,如稳定性和牵引力控制等。
史海拾趣
|
总结lcd1602的程序代码编写 https://home.eeworld.com.cn/?uid-78120-action-viewspace-itemid-8911 智能车制作全过程 https://home.eeworld.com.cn/?uid-89395-action-viewspace-itemid-8910 调试时钟芯片DS1302有感 https://home.ee ...… 查看全部问答> |
|
S3c610 Codec移植的工作经验总结[bootloader级] 1. S3C6410与WM9713的I2S,AC97,PCM相比较: 1.I2S,AC97,PCM是不同的,各是各的,三者时序不同,要双方通信,必须要是 同一种时序,要么均是I2S,要么均是AC97,要么均是PCM 2.S3C6410的I2S,AC97,PCM复用同一组Pin脚,但同一时间只能用一种类型 ...… 查看全部问答> |
|
前几天拿到一个mini2440,板子很精致。400M的主频,在跑uCos2的时候,发现速度很慢,可是却不知道为什么。怀疑是cache没有利用起来,可是我对于MMU也不是很明白,有没有点建议? void MMU_Init(void) { int i,j; / ...… 查看全部问答> |
|
本人在使用该芯片过程中遇到一些问题,想请有经验的朋友指教一下。 本人用720极的圆感应同步器作为角度传感器,想利用AD2S80来解码。 激磁信号使用的是5Khz的正弦波,AD2S80设置的分辨率为12位,该芯片的外围电路完全按照芯片手册上的针对5KHZ/12 ...… 查看全部问答> |
|
NEC,有时候老是下载不进去程序,出现错误writing to the on-chip debug reserved area is prohibited NEC,有时候老是下载不进去程序,出现错误writing to the on-chip debug reserved area is prohibited… 查看全部问答> |
|
有没有一款好的STM8/32的烧写仿真器,大家推荐一下。 我先前有的是ST LINK ,用了快一年,用坏了4个ST LINK,有什么替代的东西吗? 再问一下,STM8还有什么烧写器?… 查看全部问答> |
|
本人初学avr,学到数码管。我学习板上数码管位选是由74ls138控制,段选是由74hc595控制。。下面是本人写的程序,,目的是让第二个数码管显示1,从中午一直看到现在不知道到底错在哪!大侠求助啊!!! #include<iom16v.h>#incl ...… 查看全部问答> |




