历史上的今天
今天是:2024年09月28日(星期六)
2021年09月28日 | 双管振棒料位开关结构改进的必要性
2021-09-28 来源:eefocus
一、传统双管振棒料位开关结构的弊端
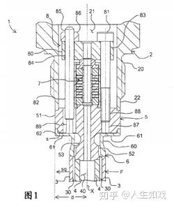
在专利《物位测量装置》中介绍了一种物位测量装置(如图1和图2),在该测量装置中,其驱动和检测装置是通过一个夹紧装置夹紧的,该夹紧装置具有一个夹紧螺栓,该夹紧螺栓从膜片出发延伸到一个夹紧元件,该夹紧元件使得作为驱动和检测的压电组件从前面相对于振动内管夹紧,而从后面相对于振动外管夹紧,从而产生压电组件正常工作所需的预紧力。
由于该物位测量装置可能出现因物料挤压施加在振棒料位开关振动外管上的侧向外力,使外管过度倾斜,导致膜片向后变形,而一旦变形过度将导致膜片永久损坏,同时膜片向后变形过大,也会导致夹紧装置向后移动,导致压电组件正常工作所需的预紧力减小甚至消失,造成卸载。
为了避免这一问题的出现,该装置在过渡体与膜片之间设置了一个很小的间隙,该间隙能避免膜片因过度变形导致地永久损坏,也能避免卸载现象的发生。


但该装置中这一间隙既不能设计的过小,也不能设计的过大,一般在0.2-0.3MM之间。若间隙过小,生产加工控制如此小的间隙非常困难,生产加工难度增大,给生产带来不便,造成生产成本过高;若间隙过大,易使任何细小的固体颗粒,如粉尘、焊渣等进入或遗留在间隙内,将造成膜片振动困难,导致产品报废。可见,该间隙在解决老问题的同时,也带来了新的问题,其对生产加工的要求非常高,不利于产品性能的稳定和生产率的提升。
二、双管振棒料位开关结构改进的必要性
为解决传统双管振棒料位开关结构设计的这一弊端,计为自动化研发工程师在多次试验的基础上,对双管振棒料位开关的结构做出了改进(如图3),在振动外管的内壁和振动内管的外壁中的至少一个上设有面向对方的凸台,当振动外管受到侧向作用的外力发生偏转至凸台位置时,凸台可限制振动外管继续偏转,把振动外管的偏转距离控制在设定范围内,从而控制膜片的变形偏移量,限制膜片变形偏移量在容许范围内,避免膜片过度变形,起到保护膜片的作用,同时也能保证压电组件正常工作所需的预紧力不被破坏,避免压电组件正常工作所需的预紧力减小甚至消失,起到防止卸载的作用。

图3
实践证明,计为自动化对双管振棒料位开关的这一结构改进,一方面可降低生产加工难度和对生产环境的要求,减少了生产制造的成本,另一方便也有利于生产效率的提升和产品性能的稳定。经计为自动化改进后的双管振棒料位开关可靠性极高,自推向市场以来,受到了用户的一致肯定。
上一篇:如何应对音叉液位开关“迟滞性”
下一篇:如何选择阻旋式料位开关的电机
史海拾趣
|
ARM与Cygyin 为了在 Windows 下开发嵌入式操作系统应用程序,可以在 Windows 环境下装上 Cygwin 软件。 ARM开发论坛 Cygwin 是一个在 Windows 平台上运行的 Unix 模拟环境,是 Cygnus Solutions 公司开发的自由软件。它对于学习把握 Unix/Lin ...… 查看全部问答> |
|
如图所示为公共汽车关门自动通报电路。该电路由单稳延时电路、叮咚声集成电路KD-153、双功率放大集成电路KD-28、音响电路(扬声器)等组成。 单稳延时电路由IC1(555)和R1、C1、R2、C2组成。在微动开关K1、K2合上瞬闻,C1上电压不能突变,555因 ...… 查看全部问答> |
|
VC2005嵌入式利用cximage库打开jpg图象,在exe里面可以,完全相同的代码移植到ocx里面,这个ocx在wm5的pda里面注册不了,有人遇到类似的问 VC2005嵌入式利用cximage库打开jpg图象,在exe里面可以,完全相同的代码移植到ocx里面,这个ocx在wm5的pda里面注册不了,有人遇到类似的问题吗?… 查看全部问答> |
|
本人想学习ARM嵌入式开发,想买一个开发板。 求达人推荐, 我希望 1:最重要的参考资料多,开发工具软件方便,多,免费。 2:开发板功能强大的。 另外新手学什么操作系统好?… 查看全部问答> |




