历史上的今天
今天是:2024年10月09日(星期三)
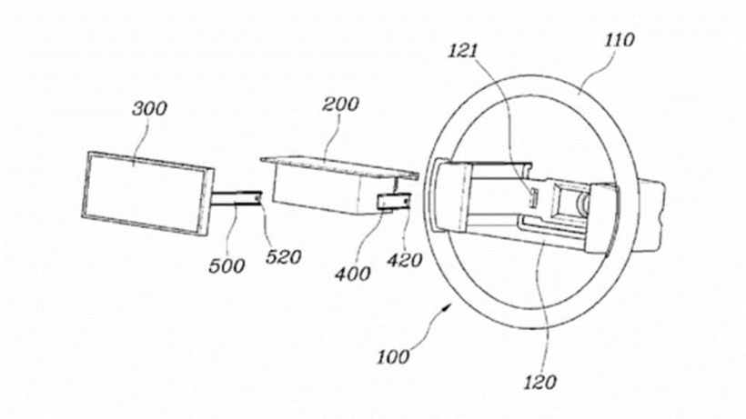
2021年10月09日 | 现代汽车新专利:在方向盘上安装显示屏 去除传统仪表盘
2021-10-09 来源:盖世汽车
据外媒报道,韩国汽车制造商现代在德国为一款安装到方向盘上的显示屏申请了专利,该显示屏能够有效地去除传统仪表盘。据专利文件显示,这是一款双辐条方向盘,其中在双手置于9点钟和3点钟之间的位置集成了一个显示屏。

现代汽车方向盘显示屏(图片来源:carbuzz.com)
该款先进方向盘模块似乎受到了一级方程式赛车的启发,其设计解决了一些驾驶员查看仪表盘时受到方向盘影响的问题。通过方向盘显示屏上展示的最相关信息,驾驶员可以毫无障碍地查看车辆速度、发动机转速和车辆里程数等信息。

现代汽车方向盘显示屏专利图(图片来源:carbuzz.com)
此外,该专利还描述了安全气囊不会受到该屏幕的阻碍。据专利所说,安全气囊会从方向盘中折叠出来,不会被该数字显示屏阻挡或损坏。而且,该显示屏与安全气囊装置都是单独安装,进行了隔开设置。此前,现代汽车还曾尝试用触摸屏控制方向盘,不过,该项最新专利更多地是为了监控车辆的重要信息,而不是执行更换电台等操作。

现代汽车方向盘显示屏(图片来源:carbuzz.com)
由于该显示屏会随着方向盘移动,因此引发的另一个问题,即当驾驶员操作汽车和转弯时会发生什么事情。虽然只需要移动头一至两英寸就可以看到燃料表,但是不知道该方向盘显示屏是否不需要驾驶员将眼睛长时间离开道路,因此似乎无法解决分心驾驶的问题。不过,据图片显示,该显示屏安装在较低的位置,不会阻挡驾驶员观察道路的视野。
此前,现代汽车豪华品牌捷恩斯推出了Mint概念车,该车就在方向盘内安装了一个宽屏显示屏,该专利是不是该款概念设计的量产迭代版呢?有关现代汽车将在何时采用此种未来设计的详细信息,现在尚不可知。
史海拾趣
|
315avr 技术网站资料日益增多,赠送礼品活动即将开始,敬请关注! 315avr 技术网站资料日益增多,赠送礼品活动即将开始,敬请关注! 技术论坛网址:http://www.315avr.com/bbs/index.asp 赠送礼品活动专题:http://www.315avr.com/bbs/dispbbs.asp?boardID=3&ID=23&page=1 欢迎大家给予关注,多多支持。 ------ ...… 查看全部问答> |
|
我在windows注册ocx,用regsvrce工具,出现这样提示, loadlibrary("\Programe Files\YTMap.ocx") fail 我在windows注册ocx,用regsvrce工具,出现这样提示, loadlibrary(\"\\Programe Files\\YTMap.ocx\") failed. GetLastError returns 7e 这个到底原因在哪儿?… 查看全部问答> |
|
此次发布的ECDS-MUI V1.0全功能评估版,包含ECDS-MUI V1.0编译好的示例、示例所有的C++源代码,开发文档。我们建议用户在使用之前先详细阅读我们的开发文档、使用教程及如何创建工程等文档,这将有利于你更加高效的使用ECDS-MUI V1.0进行开发。 EC ...… 查看全部问答> |
|
最近想好好学习下stm32F4,想用开发板或者模块交换stm32f4 discovery, 有没有哪位感兴趣呀。 我也自己做了一个stm32F4的板子,但是还是想拥有一个官方的板子,故发帖置换。 我有的东西和模块 1)vs1003/vs1053模块, 2)ch375 ...… 查看全部问答> |
|
小弟近来在移植cosii到str71x,参考其他高手的移植实例,一直没有移植成功, 总是在执行 msr cpsr_c ,r0 指令时遇到问题, 就是这句话执行完后,cpu 状态寄存器未发生任何变化 附件是我的整个源程序,编译环境是keil4,高手帮忙分析 ...… 查看全部问答> |
|
变态测试msp430G2452低功耗LPM3模式下不同CPU主频的功耗试验 变态测试msp430G2452低功耗LPM3模式下不同CPU主频的功耗试验 虽然大多数情况下msp430应用于电池供电很有优势,一般较低电压时只能低主频,但是也是有不需要考虑低电压但又要考虑功耗的情况吧?那么这时候我们选择高一点cpu主频好还是低一点的好呢 ...… 查看全部问答> |




