历史上的今天
今天是:2024年11月01日(星期五)
2021年11月01日 | Mini-LED芯片制造福音 晶元光电实现了大面积透明电极层
2021-11-01 来源:爱集微
据称,目前,LED外延片和芯片制造商晶元光电mini LED芯片产能满载,并将在2022年将总产能扩大50%。
Mini LED是芯片尺寸介于50~200μm之间的LED器件,其作为一种半导体发光元件,具有低功率消耗、高亮度以及体积小等优点,已广泛用于各式照明及显示器。例如,发光二极管直接作为显示器像素时,可以取代传统液晶显示器并实现更高画质的显示效果,同时,如果以发光二极管作为显示器的背光源并通过分区控制明暗度,则可达到显示器的高对比率,具有非常好的显示效果。
但是,由于Mini LED芯片尺寸太小,不仅对于加工制造来说存在难度,而且还应该避免电流密度太小而使得外部量子效率降低的问题。为此,晶元光电在2021年3月17日申请了一项名为“半导体发光元件”的发明专利(申请号:202110285067.4),申请人为晶元光电股份有限公司。
根据该专利目前公开的相关资料,让我们一起来看看这项技术方案吧。

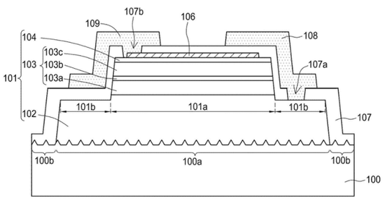
如上图,为该专利中发明的半导体发光元件的示意图,该半导体发光元件10主要包含基板100和半导体叠层101,在基板上包含有第一半导体接触层102、发光叠层103、以及第二半导体接触层104,在第二半导体接触层上设置有透明电极层106。
在上述结构的最外层是保护层107,其具有第一开口107a和第二开口107b,分别露出第一半导体接触层和透明电极层的一部分上表面。此外,在第一开口与第一半导体接触层之间填充有第一电极垫108,在第二开口与透明电极层之间填充有第二电极垫109,第一开口位于第一电极垫的正下方,第二开口位于第二电极垫的正下方。
具体而言,第二开口露出一部分的透明电极层和一部分的第二半导体接触层,第二电极垫则填入第二开口以与透明电极层及第二半导体接触层直接接触。在这种结构设计下,第二电极垫与透明电极层形成低电阻值界面且与第二半导体接触层形成高阻值界面,第二电极垫注入的电流主要流入透明电极层,进而流入发光叠层,实现该元件的发光效果。

上图为这种结构的剖面示意图,可以看到,非元件区100b环绕着元件区100a,基板的宽度大于半导体叠层101的宽度,保护层延伸覆盖至非元件区上且与基板直接接触。在半导体叠层,包含有活性区101a和凹陷区101b,而发光叠层就形成于活性区。

最后,上图是符合该发明中半导体发光元件接合至载板发光组件的一个实例示意图,半导体发光组件1000包括上述所说的半导体发光元件,如具备四种电极垫的半导体发光元件,由第一粘接金属502a和第二粘接金属502b固定于基板500上。可以发现,利用这样架空的粘连设计,可以拥有较大面积的半导体发光电极层。
以上就是晶元光电发明的半导体发光元件结构方案,该方案中发明了一种层叠式的半导体发光元件结构,可以实现较大的透明电极层和基板的面积比,并可以应用在Mini-LED等发光二极管芯片的生产上,从而解决制作工艺操作困难等问题。
史海拾趣
|
让我们逐条分析评价Linux和WinCE/Windows的优缺点。 1.支持多种硬件平台由于嵌入式设备硬件平台的多样性,CPU芯片的快速更新,嵌入式操作系统要求支持常用的嵌入式CPU,如X86, ARM, MIPS, POWERPC等,并具有良好的可移植性。另外还需要支持种类繁 ...… 查看全部问答> |
|
s3c2440_spi.ko驱动编译失败,s3c2440 linux 2.6.29自己带的spi驱动如何编译 友善之笔 的系统,采用三星的s3c2440处理器, 想要spi驱动,不是gpio io口模拟的那种,直接采用多路复用spi的给定口,可是选择了spi_s3c2440_serial这个选项后,编译的时候总是遇到问题,说是spi_alloc_master找不到,网上搜索了很多资料,很多都是介绍 ...… 查看全部问答> |
|
关于SLE4442读写问题: 我用初始密码0XFF 0XFF 0XFF,效验成功, 读加密存储器器数据为7000FFFF , 修改密码,0XF1 0XF1 0XF1,效验失败, 读加密存储器器数据为 ...… 查看全部问答> |
|
功能: 保护进程和属于本进程的窗口 使其信息不被其他进程访问或修改 保护进程 可以从2方面实现 一种是从进程列表里面隐藏,另外一种是使其他进程打开pid失败 窗口也同样. 设想安装了该驱动的机器,软件调用驱动提供的服务后 就进入了保护模式,其 ...… 查看全部问答> |
|
由于我们工作的失误,造成部分注册参加研讨会的朋友没有收到告知研讨会地址的回函,特此道歉。 现特将明天上海研讨会的地址公布如下,请已经报名的朋友前往捧场,谢谢! ---------------------------------- 2009年9月16日ST MCU上海巡回研 ...… 查看全部问答> |




