历史上的今天
今天是:2024年12月07日(星期六)
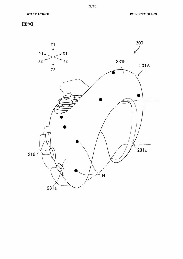
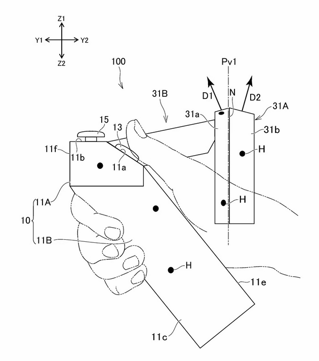
2021年12月07日 | 索尼提交新输入设备专利 将用在PSVR 2
2021-12-07 来源:3DMGame
日本SIE近期提交的一项专利引起了一些人的注意,因为该专利据称是针对PSVR 2的输入设备。该专利描述了一种新的手持“控制器”形式,与第一代PSVR非常不同。该专利似乎是在今年早些时候(2月26日)提交的。下面是PSVR 2输入设备专利的一些图片:




在该专利的描述摘要中写道:“本发明利用摄像机提高了检测发光单元的稳定性。该输入设备具有要跟踪的区域,其中多个发光单元H被配置在该区域内。”
虽然我们现在对其输入设备的外观有了大致的了解,但我们仍有待观察索尼将如何在实际的VR设备上进行创新。
推荐阅读
史海拾趣




