历史上的今天
今天是:2024年12月15日(星期日)
2021年12月15日 | 芯导科技技术沉淀 发明双向TVS器件的制备方案
2021-12-15 来源:爱集微
11月12日,芯导科技发布科创板上市招股意向书、上市发行安排及初步询价公告,预计近期将正式登陆科创板上市。其在TVS、MOSFET、肖特基等功率器件方面具有较强的技术积累,同时拥有良好的市场口碑。
TVS器件,可理解为瞬态二极管,这是一种二极管形式的高效能保护器件。TVS器件能在极短时间内承受反向电压冲击,使两极间的电压钳位于一个特定电压上,避免后面的电路受到冲击。其中,双向TVS器件可在正反两个方向吸收瞬时大脉冲。
目前市场上有多种低电容双向TVS器件的产品结构中:对于电容值在1pF以下的TVS器件,通常在器件结构中串联普通二极管的方式降低整体电容;对于电容值在2~5pF范围的TVS器件,通常采用减小有源区的面积来满足容值的需求。
但是减小有源区面积的同时,TVS器件的浪涌能力以及ESD防护能力也会随之减小,这与市场需求的低电容产品高ESD防护能力相矛盾,因此,仅仅减小有源区面积很难满足器件高浪涌、高ESD防护能力的需求。
为解决该难题,芯导科技在2021年8月20日申请了一项名为“双向TVS器件及其制备方法、电子设备”的发明专利(申请号:202110958513.3),申请人为上海芯导电子科技股份有限公司。
根据该专利目前公开的相关资料,让我们一起来看看这项技术方案吧。

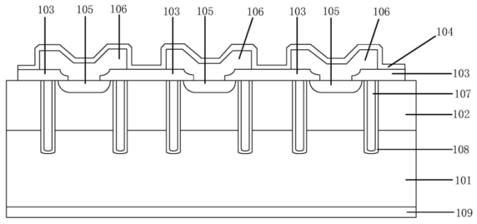
如上图,为该专利中发明的双向TVS器件的结构示意图,这种双向TVS器件包括:衬底101、外延层102、有源区105、隔离槽、主氧化层103、图形化的第一金属层106以及第二金属层109。其中,外延层设置于衬底的上侧方,其材料通常选用P型外延层,且厚度可根据需求进行配置。
隔离槽从外延层的表面延申至沉底内,其贯穿外延层而延申至衬底内,其具有的隔离功能可以将使得各有源区分隔独立,能够防止各个有源区之间横向电场的干扰。基于隔离槽的深度,可以将不同的外延层部隔离开来,并且其中填充有槽内多晶硅107。在这种结构中,有源区为N+有源区,衬底为N型衬底,外延层为P型外延层,因此三者可形成NPN结构。
该方案基于填充有多晶硅的隔离槽,其贯穿外延层而延伸至衬底,因此可改善PN结结边缘的电势分布,增强器件的防浪涌能力,同时,槽内填充的多晶硅也可进一步提升防浪涌能力。
此外,该双向TVS器件还包括有钝化层104,钝化层设置于主氧化层和第一金属层的相背于外延层的一侧,其能够减少氧化层中的各种电荷,可以保护电路及内部互连线免受机械和化学损伤,达到增强器件对离子玷污的阻挡能力,从而起到保护作用的材料层。

如上图,为这种双向TVS器件的制备方法的流程示意图,该方案首先在衬底上生长外延层。当有了外延层后,即可在其上制作隔离槽,并在隔离槽内填充槽内多晶硅,其中需要执行包括掩膜形成、刻蚀、生长等多个步骤。
其次,在对应的两个隔离槽间的外延层部分形成有源区域,第一PN结和第二PN结就形成于该区域中。并且外延层、有源区域和隔离槽的槽口沉淀主氧化层,在主氧化层上刻蚀出接触孔,通过接触孔图形化第一金属材料,其穿过接触孔与有源区连接。
最后,在第一金属层和主氧化层表面淀积钝化层,在衬底的第二侧淀积第二金属材料以形成第二金属层,最终形成的双向的低容TVS器件。
以上就是芯导科技发明的双向TVS器件及其制备方法,相对于嵌入普通二极管的结构形式,该方案中的结构不仅可有效避免有源区面积减小后ESD防护能力弱的问题,也具备制造工艺简单的优点,从而可以降低其制造成本。
史海拾趣
|
DO-254中的高设计可靠性的逻辑综合(十)--使用Precision综合可以不用担心设计可靠性 在一些应用中,例如DO-254的A级和B级,对于设计可靠性的要求是非常重要的,而面积和性能的要求相应的优先级比较低。对这样的工程来说,通常会建议采用一个全局的选项,能够关闭一些优化后难以验证的功能。 这个全局选项要有两个功能,一个是能够自 ...… 查看全部问答> |
|
奇怪:Design Templates设为Small footprint device时模拟器跑不起来,而设为PDA时可以? 昨天,我将Design Templates设为PDA时模拟器跑起来了. 附: 在Builder options中,去掉Enable KITL; 在Target-〉Connectivity options->Debugger选none. 而今天自己想再试一 ...… 查看全部问答> |
|
我用VB.net开发一个小程序 有一个teXtboX的输入框 我想让程序在cE6下一点该输入框就跳出输入键盘 该怎么做呢 谢谢… 查看全部问答> |
|
我想在WinCE下通过DeviceIOControl来改变LCD背光电源的状态以实现背光灯的亮灭控制。 bResult = DeviceIoControl(hDevice, // device to be queried ...… 查看全部问答> |
|
想和單片機高手一起討論下這個簡單串口中斷程序的問題所在!!! 我編寫了一個串口中斷匯編程序,不復雜,調試也沒有出現問題,但是就是工作不了,我想和大家討論下究竟是什么錯誤導致它運\行出錯~請大家幫忙... T2CON EQU 0C8H T2MOD EQU 0C9H TR2 BIT T2CON.2 RCAP2L EQU 0CAH RCAP2H EQU 0CBH TH2 EQU 0C ...… 查看全部问答> |
|
这是焊接在一个线路板上的晶振,画圈的两边是卡座,为了防止晶振因震动而损坏采用的防患措施,但是如果因焊接工艺不精细,很容易让卡座和晶振之间有足够的空隙,这样当晶振产生震动时,很容易与旁边的卡座发生碰撞导致内部芯片受损,从而使 ...… 查看全部问答> |




