首页 > 器件类别 > 存储 > 存储
 PDF数据手册

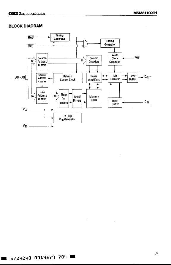
MSM511000H-45RS

描述:
Fast Page DRAM, 1MX1, 45ns, CMOS, PDIP18
分类:
存储    存储   
文件大小:
331KB,共8页
制造商:
概述
Fast Page DRAM, 1MX1, 45ns, CMOS, PDIP18
器件参数
参数名称
属性值
是否Rohs认证
不符合
厂商名称
LAPIS Semiconductor Co Ltd
包装说明
DIP, DIP18,.3
Reach Compliance Code
unknown
最长访问时间
45 ns
I/O 类型
SEPARATE
JESD-30 代码
R-PDIP-T18
JESD-609代码
e0
内存密度
1048576 bit
内存集成电路类型
FAST PAGE DRAM
内存宽度
1
端子数量
18
字数
1048576 words
字数代码
1000000
最高工作温度
70 °C
最低工作温度
组织
1MX1
输出特性
3-STATE
封装主体材料
PLASTIC/EPOXY
封装代码
DIP
封装等效代码
DIP18,.3
封装形状
RECTANGULAR
封装形式
IN-LINE
电源
5 V
认证状态
Not Qualified
刷新周期
512
最大待机电流
0.001 A
最大压摆率
0.1 mA
标称供电电压 (Vsup)
5 V
表面贴装
NO
技术
CMOS
温度等级
COMMERCIAL
端子面层
Tin/Lead (Sn/Pb)
端子形式
THROUGH-HOLE
端子节距
2.54 mm
端子位置
DUAL
文档预览
参数对比
与MSM511000H-45RS相近的元器件有:MSM511000H-50ZS、MSM511000H-50RS、MSM511000H-50JS、MSM511000H-60ZS。描述及对比如下:
型号 MSM511000H-45RS MSM511000H-50ZS MSM511000H-50RS MSM511000H-50JS MSM511000H-60ZS
描述 Fast Page DRAM, 1MX1, 45ns, CMOS, PDIP18 Fast Page DRAM, 1MX1, 50ns, CMOS, PZIP20 Fast Page DRAM, 1MX1, 50ns, CMOS, PDIP18 Fast Page DRAM, 1MX1, 50ns, CMOS, PDSO20 Fast Page DRAM, 1MX1, 60ns, CMOS, PZIP20
是否Rohs认证 不符合 不符合 不符合 不符合 不符合
厂商名称 LAPIS Semiconductor Co Ltd LAPIS Semiconductor Co Ltd LAPIS Semiconductor Co Ltd LAPIS Semiconductor Co Ltd LAPIS Semiconductor Co Ltd
包装说明 DIP, DIP18,.3 ZIP, ZIP20,.1 DIP, DIP18,.3 SOJ, SOJ20/26,.34 ZIP, ZIP20,.1
Reach Compliance Code unknown unknown unknown unknown unknown
最长访问时间 45 ns 50 ns 50 ns 50 ns 60 ns
I/O 类型 SEPARATE SEPARATE SEPARATE SEPARATE SEPARATE
JESD-30 代码 R-PDIP-T18 R-PZIP-T20 R-PDIP-T18 R-PDSO-J20 R-PZIP-T20
JESD-609代码 e0 e0 e0 e0 e0
内存密度 1048576 bit 1048576 bit 1048576 bit 1048576 bit 1048576 bit
内存集成电路类型 FAST PAGE DRAM FAST PAGE DRAM FAST PAGE DRAM FAST PAGE DRAM FAST PAGE DRAM
内存宽度 1 1 1 1 1
端子数量 18 20 18 20 20
字数 1048576 words 1048576 words 1048576 words 1048576 words 1048576 words
字数代码 1000000 1000000 1000000 1000000 1000000
最高工作温度 70 °C 70 °C 70 °C 70 °C 70 °C
组织 1MX1 1MX1 1MX1 1MX1 1MX1
输出特性 3-STATE 3-STATE 3-STATE 3-STATE 3-STATE
封装主体材料 PLASTIC/EPOXY PLASTIC/EPOXY PLASTIC/EPOXY PLASTIC/EPOXY PLASTIC/EPOXY
封装代码 DIP ZIP DIP SOJ ZIP
封装等效代码 DIP18,.3 ZIP20,.1 DIP18,.3 SOJ20/26,.34 ZIP20,.1
封装形状 RECTANGULAR RECTANGULAR RECTANGULAR RECTANGULAR RECTANGULAR
封装形式 IN-LINE IN-LINE IN-LINE SMALL OUTLINE IN-LINE
电源 5 V 5 V 5 V 5 V 5 V
认证状态 Not Qualified Not Qualified Not Qualified Not Qualified Not Qualified
刷新周期 512 512 512 512 512
最大待机电流 0.001 A 0.001 A 0.001 A 0.001 A 0.001 A
最大压摆率 0.1 mA 0.095 mA 0.095 mA 0.095 mA 0.085 mA
标称供电电压 (Vsup) 5 V 5 V 5 V 5 V 5 V
表面贴装 NO NO NO YES NO
技术 CMOS CMOS CMOS CMOS CMOS
温度等级 COMMERCIAL COMMERCIAL COMMERCIAL COMMERCIAL COMMERCIAL
端子面层 Tin/Lead (Sn/Pb) Tin/Lead (Sn/Pb) Tin/Lead (Sn/Pb) Tin/Lead (Sn/Pb) Tin/Lead (Sn/Pb)
端子形式 THROUGH-HOLE THROUGH-HOLE THROUGH-HOLE J BEND THROUGH-HOLE
端子节距 2.54 mm 1.27 mm 2.54 mm 1.27 mm 1.27 mm
端子位置 DUAL ZIG-ZAG DUAL DUAL ZIG-ZAG
直流放大器
直流放大器能够放大直流信号或变化极其缓慢的交流信号,它广泛应用于自动控制仪表,医疗电子仪器、电子测...
fighting 模拟电子
数控电源资料
数控电源制作资料 单片机技术问题,模拟技术均可咨询 数控电源资料 支持!!!感谢!!! Re: 数...
破茧佼龙 电源技术
怎么打不开?
MP3电路图怎么打不开呀? 怎么打不开? ...
wxaxf 单片机
深入浅出LPC9401 Flash 单片机
深入浅出LPC9401 Flash 单片机 深入浅出LPC9401 Flash 单片机 ...
rain PCB设计
一起读《奔跑吧Linux内核(第2版)卷1:基础架构》- 了解kmalloc、vmalloc、malloc
Hello,大家好我是硬核王同学,是一名刚刚工作一年多的Linux工程师,很感谢EEWorld的本...
硬核王同学 嵌入式系统
【2024 DigiKey 创意大赛】开箱贴
买了RT1062 Teensy 4.1 i.MX ARM Cortex -M7 MPU 评估板,A...
流水源 DigiKey得捷技术专区
热门器件
热门资源推荐
器件捷径:
00 01 02 03 04 05 06 07 08 09 0A 0C 0F 0J 0L 0M 0R 0S 0T 0Z 10 11 12 13 14 15 16 17 18 19 1A 1B 1C 1D 1E 1F 1H 1K 1M 1N 1P 1S 1T 1V 1X 1Z 20 21 22 23 24 25 26 27 28 29 2A 2B 2C 2D 2E 2F 2G 2K 2M 2N 2P 2Q 2R 2S 2T 2W 2Z 30 31 32 33 34 35 36 37 38 39 3A 3B 3C 3D 3E 3F 3G 3H 3J 3K 3L 3M 3N 3P 3R 3S 3T 3V 40 41 42 43 44 45 46 47 48 49 4A 4B 4C 4D 4M 4N 4P 4S 4T 50 51 52 53 54 55 56 57 58 59 5A 5B 5C 5E 5G 5H 5K 5M 5N 5P 5S 5T 5V 60 61 62 63 64 65 66 67 68 69 6A 6C 6E 6F 6M 6N 6P 6R 6S 6T 70 71 72 73 74 75 76 77 78 79 7A 7B 7C 7M 7N 7P 7Q 7V 7W 7X 80 81 82 83 84 85 86 87 88 89 8A 8D 8E 8L 8N 8P 8S 8T 8W 8Y 8Z 90 91 92 93 94 95 96 97 98 99 9A 9B 9C 9D 9F 9G 9H 9L 9S 9T 9W
索引文件:
2430  2412  1594  1935  2027  49  33  39  41  6 
需要登录后才可以下载。
登录取消
下载 PDF 文件