首页 > 器件类别 > 存储 > 存储
 PDF数据手册

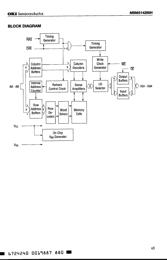
MSM514256H-45ZS

描述:
Fast Page DRAM, 256KX4, 45ns, CMOS, PZIP20
分类:
存储    存储   
文件大小:
347KB,共8页
制造商:
概述
Fast Page DRAM, 256KX4, 45ns, CMOS, PZIP20
器件参数
参数名称
属性值
是否Rohs认证
不符合
厂商名称
LAPIS Semiconductor Co Ltd
包装说明
ZIP, ZIP20,.1
Reach Compliance Code
unknow
最长访问时间
45 ns
I/O 类型
COMMON
JESD-30 代码
R-PZIP-T20
JESD-609代码
e0
内存密度
1048576 bi
内存集成电路类型
FAST PAGE DRAM
内存宽度
4
端子数量
20
字数
262144 words
字数代码
256000
最高工作温度
70 °C
最低工作温度
组织
256KX4
输出特性
3-STATE
封装主体材料
PLASTIC/EPOXY
封装代码
ZIP
封装等效代码
ZIP20,.1
封装形状
RECTANGULAR
封装形式
IN-LINE
电源
5 V
认证状态
Not Qualified
刷新周期
512
最大待机电流
0.001 A
最大压摆率
0.095 mA
标称供电电压 (Vsup)
5 V
表面贴装
NO
技术
CMOS
温度等级
COMMERCIAL
端子面层
Tin/Lead (Sn/Pb)
端子形式
THROUGH-HOLE
端子节距
1.27 mm
端子位置
ZIG-ZAG
文档预览
参数对比
与MSM514256H-45ZS相近的元器件有:MSM514256H-50RS、MSM514256H-45RS、MSM514256H-60RS。描述及对比如下:
型号 MSM514256H-45ZS MSM514256H-50RS MSM514256H-45RS MSM514256H-60RS
描述 Fast Page DRAM, 256KX4, 45ns, CMOS, PZIP20 Fast Page DRAM, 256KX4, 50ns, CMOS, PDIP20 Fast Page DRAM, 256KX4, 45ns, CMOS, PDIP20 Fast Page DRAM, 256KX4, 60ns, CMOS, PDIP20
是否Rohs认证 不符合 不符合 不符合 不符合
厂商名称 LAPIS Semiconductor Co Ltd LAPIS Semiconductor Co Ltd LAPIS Semiconductor Co Ltd LAPIS Semiconductor Co Ltd
包装说明 ZIP, ZIP20,.1 DIP, DIP20,.3 DIP, DIP20,.3 DIP, DIP20,.3
Reach Compliance Code unknow unknown unknow unknow
最长访问时间 45 ns 50 ns 45 ns 60 ns
I/O 类型 COMMON COMMON COMMON COMMON
JESD-30 代码 R-PZIP-T20 R-PDIP-T20 R-PDIP-T20 R-PDIP-T20
JESD-609代码 e0 e0 e0 e0
内存密度 1048576 bi 1048576 bit 1048576 bi 1048576 bi
内存集成电路类型 FAST PAGE DRAM FAST PAGE DRAM FAST PAGE DRAM FAST PAGE DRAM
内存宽度 4 4 4 4
端子数量 20 20 20 20
字数 262144 words 262144 words 262144 words 262144 words
字数代码 256000 256000 256000 256000
最高工作温度 70 °C 70 °C 70 °C 70 °C
组织 256KX4 256KX4 256KX4 256KX4
输出特性 3-STATE 3-STATE 3-STATE 3-STATE
封装主体材料 PLASTIC/EPOXY PLASTIC/EPOXY PLASTIC/EPOXY PLASTIC/EPOXY
封装代码 ZIP DIP DIP DIP
封装等效代码 ZIP20,.1 DIP20,.3 DIP20,.3 DIP20,.3
封装形状 RECTANGULAR RECTANGULAR RECTANGULAR RECTANGULAR
封装形式 IN-LINE IN-LINE IN-LINE IN-LINE
电源 5 V 5 V 5 V 5 V
认证状态 Not Qualified Not Qualified Not Qualified Not Qualified
刷新周期 512 512 512 512
最大待机电流 0.001 A 0.001 A 0.001 A 0.001 A
最大压摆率 0.095 mA 0.095 mA 0.1 mA 0.085 mA
标称供电电压 (Vsup) 5 V 5 V 5 V 5 V
表面贴装 NO NO NO NO
技术 CMOS CMOS CMOS CMOS
温度等级 COMMERCIAL COMMERCIAL COMMERCIAL COMMERCIAL
端子面层 Tin/Lead (Sn/Pb) Tin/Lead (Sn/Pb) Tin/Lead (Sn/Pb) Tin/Lead (Sn/Pb)
端子形式 THROUGH-HOLE THROUGH-HOLE THROUGH-HOLE THROUGH-HOLE
端子节距 1.27 mm 2.54 mm 2.54 mm 2.54 mm
端子位置 ZIG-ZAG DUAL DUAL DUAL
热门器件
热门资源推荐
器件捷径:
S0 S1 S2 S3 S4 S5 S6 S7 S8 S9 SA SB SC SD SE SF SG SH SI SJ SK SL SM SN SO SP SQ SR SS ST SU SV SW SX SY SZ T0 T1 T2 T3 T4 T5 T6 T7 T8 T9 TA TB TC TD TE TF TG TH TI TJ TK TL TM TN TO TP TQ TR TS TT TU TV TW TX TY TZ U0 U1 U2 U3 U4 U6 U7 U8 UA UB UC UD UE UF UG UH UI UJ UK UL UM UN UP UQ UR US UT UU UV UW UX UZ V0 V1 V2 V3 V4 V5 V6 V7 V8 V9 VA VB VC VD VE VF VG VH VI VJ VK VL VM VN VO VP VQ VR VS VT VU VV VW VX VY VZ W0 W1 W2 W3 W4 W5 W6 W7 W8 W9 WA WB WC WD WE WF WG WH WI WJ WK WL WM WN WO WP WR WS WT WU WV WW WY X0 X1 X2 X3 X4 X5 X7 X8 X9 XA XB XC XD XE XF XG XH XK XL XM XN XO XP XQ XR XS XT XU XV XW XX XY XZ Y0 Y1 Y2 Y4 Y5 Y6 Y9 YA YB YC YD YE YF YG YH YK YL YM YN YP YQ YR YS YT YX Z0 Z1 Z2 Z3 Z4 Z5 Z6 Z8 ZA ZB ZC ZD ZE ZF ZG ZH ZJ ZL ZM ZN ZP ZR ZS ZT ZU ZV ZW ZX ZY
索引文件:
1953  1127  1355  1855  853  40  23  28  38  18 
需要登录后才可以下载。
登录取消
下载 PDF 文件