首页 > 器件类别 > 存储 > 存储
 PDF数据手册

MSM51V17160-80JS

描述:
Fast Page DRAM, 1MX16, 80ns, CMOS, PDSO42,
分类:
存储    存储   
文件大小:
384KB,共8页
制造商:
概述
Fast Page DRAM, 1MX16, 80ns, CMOS, PDSO42,
器件参数
参数名称
属性值
是否Rohs认证
不符合
厂商名称
LAPIS Semiconductor Co Ltd
包装说明
SOJ, SOJ42,.44
Reach Compliance Code
unknown
最长访问时间
80 ns
I/O 类型
COMMON
JESD-30 代码
R-PDSO-J42
JESD-609代码
e0
内存密度
16777216 bit
内存集成电路类型
FAST PAGE DRAM
内存宽度
16
端子数量
42
字数
1048576 words
字数代码
1000000
最高工作温度
70 °C
最低工作温度
组织
1MX16
输出特性
3-STATE
封装主体材料
PLASTIC/EPOXY
封装代码
SOJ
封装等效代码
SOJ42,.44
封装形状
RECTANGULAR
封装形式
SMALL OUTLINE
电源
3.3 V
认证状态
Not Qualified
刷新周期
2048
自我刷新
NO
最大待机电流
0.001 A
最大压摆率
0.11 mA
标称供电电压 (Vsup)
3.3 V
表面贴装
YES
技术
CMOS
温度等级
COMMERCIAL
端子面层
Tin/Lead (Sn/Pb)
端子形式
J BEND
端子节距
1.27 mm
端子位置
DUAL
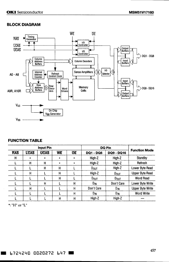
文档预览
参数对比
与MSM51V17160-80JS相近的元器件有:MSM51V17160-70TS-K、MSM51V17160-70JS、MSM51V17160-70TS-L。描述及对比如下:
型号 MSM51V17160-80JS MSM51V17160-70TS-K MSM51V17160-70JS MSM51V17160-70TS-L
描述 Fast Page DRAM, 1MX16, 80ns, CMOS, PDSO42, Fast Page DRAM, 1MX16, 70ns, CMOS, PDSO44, Fast Page DRAM, 1MX16, 70ns, CMOS, PDSO42, Fast Page DRAM, 1MX16, 70ns, CMOS, PDSO44,
是否Rohs认证 不符合 不符合 不符合 不符合
厂商名称 LAPIS Semiconductor Co Ltd LAPIS Semiconductor Co Ltd LAPIS Semiconductor Co Ltd LAPIS Semiconductor Co Ltd
包装说明 SOJ, SOJ42,.44 TSOP, TSOP44/50,.46,32 SOJ, SOJ42,.44 TSOP, TSOP44/50,.46,32
Reach Compliance Code unknown unknown unknown unknown
最长访问时间 80 ns 70 ns 70 ns 70 ns
I/O 类型 COMMON COMMON COMMON COMMON
JESD-30 代码 R-PDSO-J42 R-PDSO-G44 R-PDSO-J42 R-PDSO-G44
JESD-609代码 e0 e0 e0 e0
内存密度 16777216 bit 16777216 bit 16777216 bit 16777216 bit
内存集成电路类型 FAST PAGE DRAM FAST PAGE DRAM FAST PAGE DRAM FAST PAGE DRAM
内存宽度 16 16 16 16
端子数量 42 44 42 44
字数 1048576 words 1048576 words 1048576 words 1048576 words
字数代码 1000000 1000000 1000000 1000000
最高工作温度 70 °C 70 °C 70 °C 70 °C
组织 1MX16 1MX16 1MX16 1MX16
输出特性 3-STATE 3-STATE 3-STATE 3-STATE
封装主体材料 PLASTIC/EPOXY PLASTIC/EPOXY PLASTIC/EPOXY PLASTIC/EPOXY
封装代码 SOJ TSOP SOJ TSOP
封装等效代码 SOJ42,.44 TSOP44/50,.46,32 SOJ42,.44 TSOP44/50,.46,32
封装形状 RECTANGULAR RECTANGULAR RECTANGULAR RECTANGULAR
封装形式 SMALL OUTLINE SMALL OUTLINE, THIN PROFILE SMALL OUTLINE SMALL OUTLINE, THIN PROFILE
电源 3.3 V 3.3 V 3.3 V 3.3 V
认证状态 Not Qualified Not Qualified Not Qualified Not Qualified
刷新周期 2048 2048 2048 2048
自我刷新 NO NO NO NO
最大待机电流 0.001 A 0.001 A 0.001 A 0.001 A
最大压摆率 0.11 mA 0.12 mA 0.12 mA 0.12 mA
标称供电电压 (Vsup) 3.3 V 3.3 V 3.3 V 3.3 V
表面贴装 YES YES YES YES
技术 CMOS CMOS CMOS CMOS
温度等级 COMMERCIAL COMMERCIAL COMMERCIAL COMMERCIAL
端子面层 Tin/Lead (Sn/Pb) Tin/Lead (Sn/Pb) Tin/Lead (Sn/Pb) Tin/Lead (Sn/Pb)
端子形式 J BEND GULL WING J BEND GULL WING
端子节距 1.27 mm 0.8 mm 1.27 mm 0.8 mm
端子位置 DUAL DUAL DUAL DUAL
给电脑加装收音机
本人是一名电子电脑双料发烧友。喜欢上网聊天,冲浪听音乐。每次聊天时都会开着收音机听音乐。经常用电脑...
fighting 嵌入式系统
电路与电子学解题指导.
电路与电子学解题指导. 电路与电子学解题指导. 正需要,非常感谢 Re: 电路与电子学解题指导. 这...
fighting 模拟电子
普源DS1102Z-E双通道示波器全拆解,看一看里面使用了哪些芯片
今天拆解一下我去年买的普源DS1102Z-E示波器,双通道,100Mhz带宽,1G采样率。 当...
Wendydeee 以拆会友
【Follow me第二季第1期】进阶任务(必做):制作不倒翁
本帖最后由 disk0 于 2024-8-21 22:22 编辑 任务理解 展示不倒翁运动...
disk0 DigiKey得捷技术专区
【2024 DigiKey创意大赛】Follow me 第二季第2期任务
本帖最后由 kedy86 于 2024-8-16 21:37 编辑 Follow me 第二...
kedy86 DigiKey得捷技术专区
「星闪体验教程」1、如何添加自己的应用工程
前言 我也是第一次接触海思这种SDK,并不熟悉对应的构建系统,只是照着其他例子的配置,借鉴一下小...
walker2048 无线连接
热门器件
热门资源推荐
器件捷径:
S0 S1 S2 S3 S4 S5 S6 S7 S8 S9 SA SB SC SD SE SF SG SH SI SJ SK SL SM SN SO SP SQ SR SS ST SU SV SW SX SY SZ T0 T1 T2 T3 T4 T5 T6 T7 T8 T9 TA TB TC TD TE TF TG TH TI TJ TK TL TM TN TO TP TQ TR TS TT TU TV TW TX TY TZ U0 U1 U2 U3 U4 U6 U7 U8 UA UB UC UD UE UF UG UH UI UJ UK UL UM UN UP UQ UR US UT UU UV UW UX UZ V0 V1 V2 V3 V4 V5 V6 V7 V8 V9 VA VB VC VD VE VF VG VH VI VJ VK VL VM VN VO VP VQ VR VS VT VU VV VW VX VY VZ W0 W1 W2 W3 W4 W5 W6 W7 W8 W9 WA WB WC WD WE WF WG WH WI WJ WK WL WM WN WO WP WR WS WT WU WV WW WY X0 X1 X2 X3 X4 X5 X7 X8 X9 XA XB XC XD XE XF XG XH XK XL XM XN XO XP XQ XR XS XT XU XV XW XX XY XZ Y0 Y1 Y2 Y4 Y5 Y6 Y9 YA YB YC YD YE YF YG YH YK YL YM YN YP YQ YR YS YT YX Z0 Z1 Z2 Z3 Z4 Z5 Z6 Z8 ZA ZB ZC ZD ZE ZF ZG ZH ZJ ZL ZM ZN ZP ZR ZS ZT ZU ZV ZW ZX ZY
索引文件:
2246  2882  94  2152  2745  46  59  2  44  56 
需要登录后才可以下载。
登录取消
下载 PDF 文件