历史上的今天
今天是:2025年01月24日(星期五)
2019年01月24日 | 联想可折叠屏幕专利曝光 异形电脑要来了?
2019-01-24 来源:腾讯
很多科技公司对折叠式屏幕配件争相议论,甚至有公司还为此申请了大量专利。但是,目前还未出现一款真正适合大众市场设备的可折叠的显示产品。

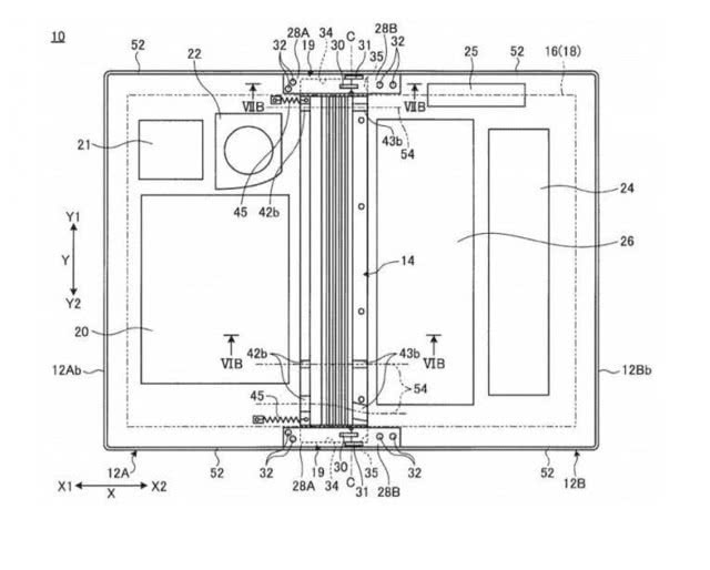
据悉,联想也正在研发可弯曲或柔性显示技术,近日,联想的一个新专利申请被曝光,这项专利图纸显示,这个装置弯曲之后,看起来像一本小册子。联想的专利设备使用了可折叠的铰链,因为还没有达到像折叠纸张一样完全弯曲的程度。


联想于2017年12月申请了“便携式信息设备”专利,美国专利局于2018年7月12日公布。这项专利展示了一种设备,它可以将一半弯曲成可携带的大小,外形比普通平板电脑更小。
该设备运行Windows10还是运行Android仍然未知。专利详细说明了该设备可以从中心弯曲。这意味着一个平板电脑大小的设备可以对半折叠成一台便携式PC。如上所述,该专利于2017年申请,因此联想仍有可能考虑采用这种设计的设备。不过,专利并不总是能转化为真正的产品上市销售。
此前有报道称,三星、华为、LG等厂商之前都正在研发可折叠手机,展开时可当做小型平板使用。但是,这些设备的屏幕大小预期仅为7或8英寸——只比当前平板式手机稍大一点点。

据传微软也有意开发可折叠Surface设备。但泄露的图片显示这款产品仍有两块独立的屏幕构成,并非一整块可折叠的屏幕。并且,项目是否会执行也是个问题。
史海拾趣
|
一般双口RAM都提供了两个完全独立的端口,每个端口都有自己的控制线、地址线和数据线,CPU对双口RAM端口的操作等效于对它的外部RAM进行操作。双口RAM在使用上要注意的问题是如何避免两端CPU对同一RAM单元的争用,一般来说,双 ...… 查看全部问答> |
|
http://blog.eeworld.net/zhblue/archive/2007/01/02/1472585.aspx 今天我也原创一回,谁给我推荐推荐,算然短点,还是希望我们linux版友支持 … 查看全部问答> |
|
哪里有好的教程呀? http://msdn2.microsoft.com/en-us/embedded/bb267253.aspx… 查看全部问答> |
|
因为2012的影响,让我DIY UFO,我准备购买仪表,机器,和材料。不知道这里有没有UFO DIY的路过者,可以交流一下研究结果,与制造步骤。 放个片来点吸引力: … 查看全部问答> |
|
简介:注意那些意外谐振响应您曾经将输入电压接通到您的电源却发现它已经失效了吗?短暂的输入电压上升时间和可产生两倍于输入电源电压的高 Q 谐振电路可能会是问题所在。如果您迅速中断感应元件中的电流便会出现类似问题。会出现这类问题的一些情 ...… 查看全部问答> |
|
转帖:感谢作者 分区PBR详解: 分区引导扇区知识 一、FAT32的分区引导扇区 分区引导扇区DBR(DOS BOOT RECORD)是由FORMAT高级格式化命令写到该扇区的内容;DBR是由硬盘的MBR装载的程序段。DBR装入内存后,即开始执行该引导程序段,其主要功能 ...… 查看全部问答> |
|
本帖最后由 paulhyde 于 2014-9-15 03:30 编辑 由于altium designer没法更好的显示原理图,所以用TINA做了这个原理图,请大家帮我看看有什么问题 这是我自制的pcb 测试的时候出现两个三个问题,第一个问题就是ths3001和buf634级联的地方那个Ro ...… 查看全部问答> |




