历史上的今天
今天是:2025年02月17日(星期一)
2019年02月17日 | 2019年02月14日最新科技大厂AR/VR专利报告
2019-02-17 来源:映维VR
一共更新了15篇专利。
(映维网 2019年02月14日)近期美国专利及商标局公布了一批全新的AR/VR专利,以下是映维网的整理(详情请点击专利标题)。
1. 《Oculus Patent | Apparatus, system, and method for adjusting head-mounted display straps with telescoping assemblies(Oculus专利:用于调节具有伸缩组件的头戴式显示器带的装置,系统和方法)》

头戴式显示器调节装置可包括伸缩组件。伸缩组件可包括(1)轨道;(2)凸台元件,所述凸台元件支承于轨道并且松散地连接至轨道,使得凸台元件可从轨道上升至有限的距离,以及(3)沿着轨道移动的滑动件,滑动件包括当凸起元件支承在轨道上时限制滑动件沿轨道移动的锁扣。调节装置同时可以包括束带,束带连接至头戴式显示器的远端部分并连接至滑动件的近端部分,使得束带可以通过滑动件的移动朝头戴式显示器之外延伸。
2. 《HTC Patent | Positioning system and positioning method(HTC专利:定位系统和定位方法)》

专利描述了一种定位系统和定位方法。定位系统包括目标装置,至少一个非光学定位装置,多个光学定位装置和主机设备。非光学定位设备和光学定位设备布置于现场。主机设备基于非光学定位设备的非光学定位信号确定目标设备在现场中的粗略位置。主机设备从光学定位设备选择位于粗略位置默认范围内的一个或多个所选光学定位设备。主机设备动态地启用所选择的光学定位设备,并且动态地禁用默认范围之外的剩余光学定位设备。
3. 《Magic Leap Patent | Methods and systems for creating virtual and augmented reality(Magic Leap专利:创建虚拟现实和增强现实的方法和系统)》

专利描述了用于向用户呈现虚拟现实和增强现实体验的配置。所述系统可包括用于捕获一个或多个图像的图像捕获设备,所述一个或多个图像对应于头戴式增强现实设备的用户视场;以及耦合至所述图像捕获设备的处理器,处理器从组捕获图像组中提取一组映射点,并从中识别一组稀疏点和一组密集点,并归一化这组映射点。
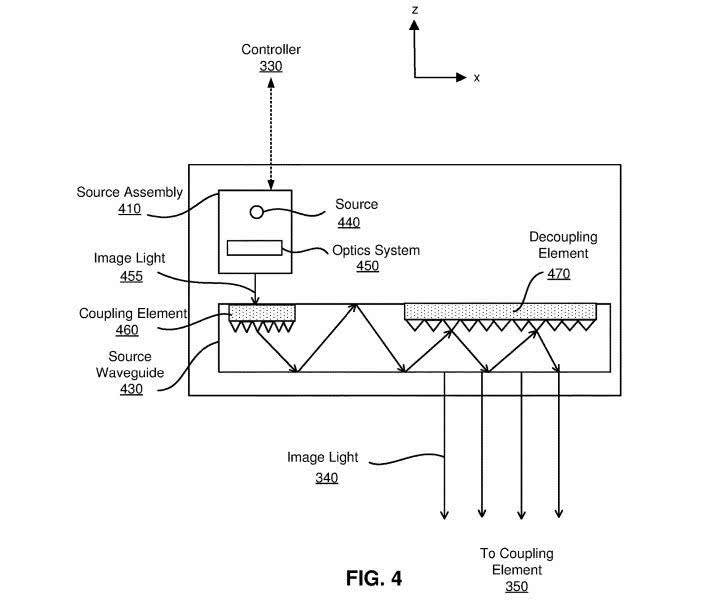
4. 《Facebook Patent | Scanning waveguide display(Facebook专利:扫描波导显示器)》

波导显示器用于向用户呈现媒体内容。波导组件包括光源,源波导,输出波导和控制器。光源基于来自控制器的扫描指令发射图像光。源波导接收来自光源的图像光,在至少一个维度上扩展图像光,并在输入区域将扩展的图像光输出至输出波导。输出波导基于来自扩展光的方向从输出区域的一部分输出扩展图像光。
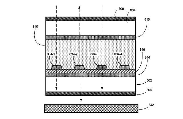
5. 《Facebook Patent | Enhanced spatial resolution using a segmented electrode array(Facebook专利:利用分段式电极阵列进行优化的空间分辨率)》

一种光强度调制器阵列包括具有二维电极阵列的第一基板;;具有一个或多个电极的第二基板;以及位于第一基板和第二基板之间的液晶。二维电极阵列布置在第一方向和第二方向上,第二方向不平行于第一方向。二维电极阵列的相应电极彼此不同,并且与二维电极阵列的第一相邻电极和第二相邻电极分开。第一相邻电极在第一方向上与相应电极相邻,第二相邻电极在第二方向上与相应电极相邻。专利同时描述了利用搭载所述光强度调制器阵列的设备来追踪眼球运动。
6. 《Microsoft Patent | Integrated free space and surface input device(微软专利:集成自由空间与表面的输入设备)》

各种实施例提供了用于实现集成自由空间和表面输入的方法和系统。集成自由空间和表面输入系统包括混合输入指示设备,用于通过自由空间输入和表面输入,触发按钮,压力传感器,以及与混合输入指示设备相关联的触觉反馈来与对象交互和控制界面对象。为混合输入指示设备追踪和确定自由空间移动数据和表面移动数据。为混合输入指示设备从第一输入转换至第二输入检测界面输入,如从自由空间输入到表面输入或从表面输入到自由空间输入。根据访问自由空间运动数据和表面运动数据来处理界面输入。从混合输入指示设备传输接口输入的输出以控制界面和与界面交互。
7. 《Microsoft Patent | Stereoscopic virtual reality through caching and image based rendering(通过缓存和基图渲染实现的立体视觉虚拟现实)》

虚拟现实由移动VR设备提供。从预渲染图像帧的本地缓存提供应用程序的图像请求以显示VR场景。当用户移动时,从高速缓存中检索匹配于从当前姿势视角下所看到的VR场景的图像帧,并将其作为VR场景显示给用户。高速缓存可以包括含有静态图像帧的静态高速缓存,以及含有动态对象图像帧的动态对象高速缓存。静态高速缓存可以由设备当前姿势进行索引。动态对象高速缓存可以由动态对象的动画制作阶段,方向,以及用户当前姿势相对于给定时间的相对距离来进行索引。静态图像帧和动态对象图像帧可以由系统合成并显示为场景。
8. 《Microsoft Patent | Bowtie view representing a 360-degree image(微软专利:代表360度图象的蝴蝶结式视图)》

专利描述了能够提供环境蝴蝶结式视图的技术。环境的蝴蝶结式视图是环境的360度图像表示,其中中心位置存在压缩,使得蝴蝶结式视图的至少一侧为凹形。例如,蝴蝶结式视图的两个相对侧可以是凹形。根据所述示例,两个相对侧可以是蝴蝶结式视图的顶侧和底侧。打开360度图像以提供平坦图像。在三维虚拟环境中将展平图像投影在虚拟对象的内表面上。使用虚拟camera并从虚拟对象的内表面捕获平坦图像的一部分以提供蝴蝶结式视图。
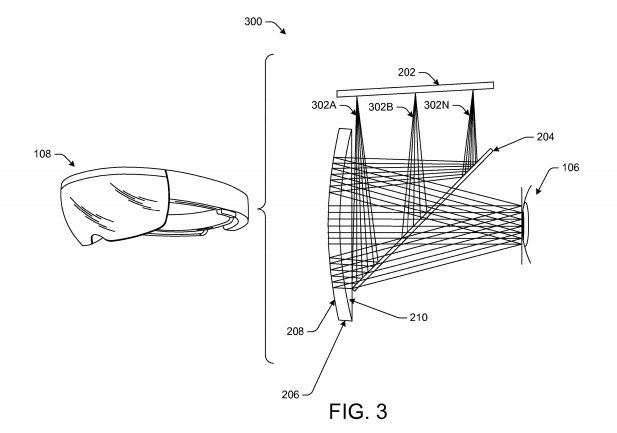
9. 《Microsoft Patent | Multi-optical surface optical design(微软专利:多层光学表面光学设计)》

专利描述了用于产生多个焦平面的多层光学表面光学设计,其中相同的图像数据基本上同时显示以产生变化的焦深感知。多层光学表面光学设计可以包括含有反射光学表面的设备,所述反射光学表面可以布置在彼此之上并且配置为生成多个焦平面,以及用于将图像数据投影到反射光学表面上的图像源。专利所描述的技术可以令图像数据在对应于期望焦距的焦平面中渲染,并且当图像数据在焦平面中渲染时,图像的多个副本可以在其他焦平面中基本同时被感知。可以以能够感知的清晰度呈现每个副本,使得每个副本都为散焦。
10. 《Microsoft Patent | Color fill in an augmented reality environment(微软专利:增强现实环境中的颜色填充)》

专利描述了一种用于操作头戴式计算设备的方法,包括在头戴式计算设备的显示器上显示环境图像,并基于捕获图像中的连续像素的颜色参数相似性识别适于颜色填充操作的表面。所述方法同时包括显示说明关于颜色填充的用户输入指示符,通过用户输入接收颜色填充请求,所述请求用于预定颜色,以及根据颜色填充请求在所识别表面上执行颜色填充操作。
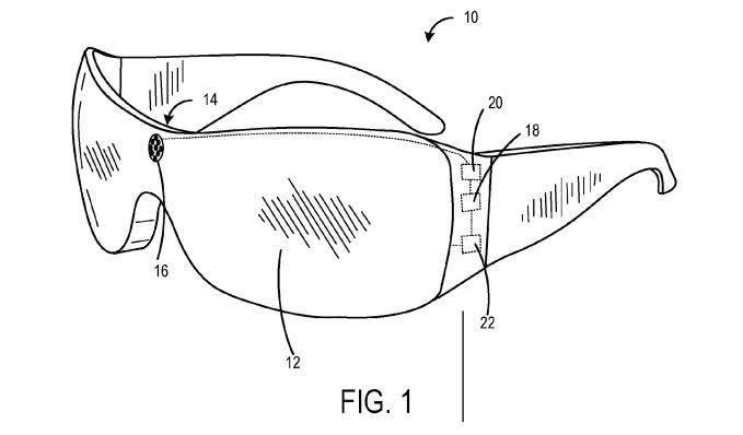
11. 《Apple Patent | Optical system for head-mounted display(苹果专利:头戴式显示器的光学系统)》

头戴式显示器可包括显示系统和壳体中的光学系统。显示系统可以具有产生与图像相关联光线的像素阵列。显示系统同时可以具有允许来自像素阵列的光线通过的线性偏振器,以及允许通过线性偏振器后的光线通过的四分之一波片。光学系统可以是具有一个或多个透镜元件的反射折射光学系统。透镜元件可包括平凸透镜和平凹透镜。部分反射镜可以形成在平凸透镜的凸表面。反射偏振器可以形成在平凸透镜的平坦表面或平凹透镜的凹面。额外的四分之一波片可以位于反射偏振器和部分反射镜之间。
12. 《Google Patent | Gesture detection and interactions(谷歌专利:手势检测与交互)》

专利描述了手势检测和交互技术。用于支持手势的对象检测可以以各种方式实现,例如通过将无线电波作为雷达技术的一部分。在第一示例中,实现所述的技术,使得用户的一只手为由用户另一只手定义的手势设置上下文情景。在另一示例中,可以利用手势识别模式。在又一个示例中,可以使用距离检测,使得相同的运动可以用于执行不同的操作。在另一示例中,支持分割手势。在另一实例中,可以通过触碰来进入手势识别模式,然后通过该手或另一手的三维定向和运动来进行识别。
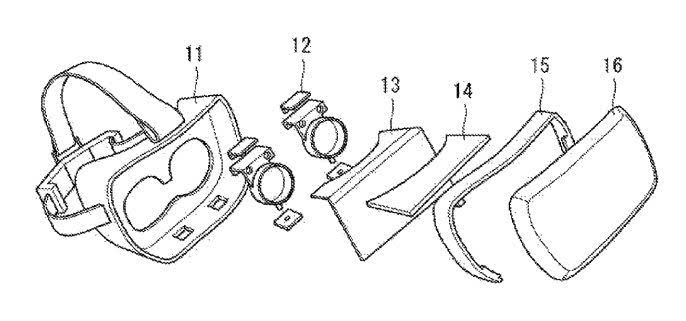
13. 《Sony Patent | Head mounted display, and image displaying method in head mounted display(索尼专利:头戴式显示器,及头戴式显示器中图像显示方法)》

专利描述了一种头戴式显示器,包括:(A)穿戴于用户头部的眼镜框状框架;(B)图像显示设备;(C)安装在框架上的图像传感设备;(D)校正组件。其中图像显示设备包括(B-1)图像生成组件和(B-2)透视型光导组件。透视型光导组件安装于图像生成组件之上,图像生成组件发射的光束通过光导组件发射至用户瞳孔。
14. 《Sony Patent | System and method for use in playing back panorama video content(索尼专利:用于播放全景视频内容的系统与方法)》

一些实施例提供了播放内容的方法,包括:访问含有一系列帧的视频内容;确定用户视场;识别第一帧的一个或多个部分至少有部分位于视场之内;解码第一帧的一个或多个部分,同时不解码不位于视场内的一个或多个部分;并且显示第一帧的一个或多个解码部分。
15. 《LG Patent | Display device for personal immersive device(LG专利:用于个人沉浸式设备的显示设备)》

专利描述了一种用于虚拟现实的显示设备。第一显示面板包括第一像素行,第一像素行具有第一端和第二端,第二端比第一端更靠近于第二显示面板。第一像素行具有在第一单位像素类型和第二单位像素类型之间交替的第一单位像素排列。第二显示面板包括与第一像素行对准并具有第三端的第二像素行,以及比第三端更远离第一显示面板的第四端。第一像素行第一端的第一单位像素是第一单位像素类型,第二像素行第三端的第二单位像素是第二单位像素类型。
上一篇:点亮猪年第一把火的“柔性屏”
史海拾趣
|
公司简介 深圳市英威腾电气股份有限公司(以下简称公司)是深圳市政府重点扶持的“高新技术企业”和“软件企业”,是集研发、制造、销售于一体的专业变频器产品(服务)供应商。 公司始创于2002年4月,经过三个发展阶段:第一阶段,2002年—2004 ...… 查看全部问答> |
|
hDev = CreateFile(NDISUIO_DEVICE_NAME, GENERIC_READ | GENERIC_WRITE,0,NULL,OPEN_EXISTING,0,0); if(hDev == INVALID_HANDLE_VALUE) { CString s; &nbs ...… 查看全部问答> |
|
单片机选用的 MSP430,利用SIM300模块实现短信控制功能,手机收发短信一切功能正常,但奇怪的 是单片机收到小灵通或10086这类的短信就会死机,因为里面设计的就是手机与手机发短信,但 死机确实是 个大隐患,下面是 我 的 串口中断函数 while((IF ...… 查看全部问答> |
|
网盘链接更新,20130815为了大家在相同的开发环境下进行开发,以减少兼容性问题的发生,建议统一安装Altera的Quartus11.1 +SP2版本的开发软件和ModelSim6.5版本的仿真软件。原因主要有: 1、 当然是目前我使 ...… 查看全部问答> |




