历史上的今天
今天是:2025年02月19日(星期三)
2019年02月19日 | 苹果申请卷曲屏专利 手表电视都能用
2019-02-19 来源:腾讯
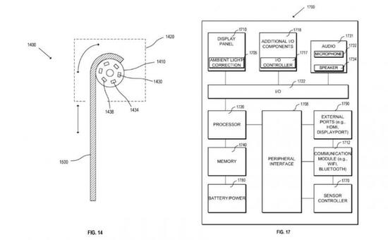
苹果申请一项名为“显示模块与系统应用”的新专利,在文件中,苹果提到一种新的LED显示技术,屏幕可以用在穿戴、卷曲及折叠设备上。
在草图中,我们看到一款设备,它有点像手表,由此暗示专利所说的技术可以用在手表上。显示屏很大,覆盖整个腕带,腕带上的屏幕可以增强时尚感,因为它能改变颜色。
事实上,让屏幕在手腕上折叠并不是什么新构想,努比亚Alpha概念穿戴手机就曾有过同样的设想。
但从苹果的措辞看,它似乎想将卷曲屏用在更大的设备上。
文件称:显示模块可以植入穿戴电子设备,比如智能手表。在使用时,屏幕区域不只覆盖表盘,还覆盖智能手表表带。另外,我们可以将显示基板固定在轴上。轴内可以有一个或者多个驱动电路,与多个连接器形成电接触。不只如此,屏幕模块还可以植入电视。

在一张草图中,我们可以看到外部接口,比如HDMI、Displayport接口。
LG已经展示过原型卷曲电视,苹果似乎也在开发相似的技术。未来苹果会将自己的技术用在独立产品中吗?比如推出苹果电视机?还是将技术用在现有产品中?还要看显示屏质量如何。
许多大型科技制造商都在开发柔性屏,形式各有不同,苹果有相似的考虑也是完全可以理解的。
下一篇:动听音乐从哪来?从CD到声波
史海拾趣
|
下面是错误信息 Error: failed PB timebomb check makeimg: FATAL ERROR: Command returned non-zero exit code 1 (dec). makeimg: FATAL ERROR: Command returned non-zero exit code 1 (dec). BLDDEMO: OSDesign1 build complete. OSDesign1 ...… 查看全部问答> |
|
在DXP 软件里看PCB图时不知道摁哪个键 所有的线都变成绿色 (包括元器件)怎么恢复原来的样子呢,老看绿的不舒服!谢谢大家了 ,抽个时间帮个忙!… 查看全部问答> |
|
想做一个文本阅读器.我是用的内存映射文件来读取文本文件的,然后直接用CEdit控件来显示的,但在显示了大概3000行之后,就显示不了文字了,滑条块还可以往下拖,但是没有文字,不知道是不是CEdit控件有最大限制. 在wince下,好像没有richEdit这个控件.不 ...… 查看全部问答> |
|
Bealebone开发板使用心得BeagleBone是一块小小的核心板它的外围正如这次DSP-Sitara新活动里鄂工所说它仅包括了一个AM335X一个DDR 256M一个电源芯片和一个以太网口 只售价89美金它是这么多AM335X里成本最低的一款开发板了。AM335X它集成的ARM Cortex ...… 查看全部问答> |




