历史上的今天
今天是:2025年03月04日(星期二)
2019年03月04日 | 芯讯通Tbox开发板瞄准人车交互智能化
2019-03-04

通过多重安全机制给整车厂和用户提供安全可靠车载通信解决方案
车联网已经成为汽车行业发展趋势,网联渗透率不断在提升。据IHS预计,到2020年,全球汽车电子市场规模将接近3000亿美元,市场空间巨大。而从产品层面来看,过去10 年,汽车电子产品应用主要集中于动力系统、底盘、车身等方面进行;将来,车联网将不再局限于对车的认知,更是作为智能终端与外网的连接。这时,GPS、传感器以及通信模组的相互协调成为了关键。
芯讯通作为行业领先的无线通信模组企业,致力于为广大车主提供稳定的连接和极佳的用户体验。芯讯通提供的无线通信模组是车载远程通信终端中的核心零部件,是连接汽车与网络的管道,也是用户体验的开始。没有无线通信模组,汽车相关的车载应用便不能连接到互联网,即不能实现车联网。将来,在车联网应用移动边缘计算和5G网络后,车联网数据可以就近存储于离车辆较近的位置,提供低时延、高可靠性的通信能力,实时进行数据分析,并将分析所得结果迅速传送给临近区域内的其他联网车辆,以便车辆做出决策。芯讯通SIM7800车规级模组将中控台和Tbox连接在一起,由Tbox与外界连接,实现车联环境内大流量的新互联或者娱乐体验。

【图为T-Box客户应用架构】
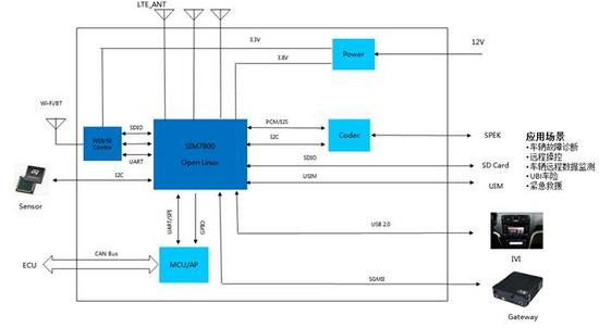
芯讯通SIM7800是基于高通MDM9628 LTE CAT4的车规级模组,LGA封装,尺寸为34*40*2.9mm,最大下行带宽可以达到150Mbps而上行带宽可以达到50Mbps。SIM7800基于全新的网络安全设计,符合汽车网络安全构架标准。SIM7800通过多重安全机制来保障汽车和互联网之间的通信安全,给整车厂和用户提供智能车载解决方案。SIM7800模组是一款提供软件开发工具包和软件二次开发方案的车规级模组,提供的open linux方案可以激发开发者的创造潜力,还提供内置网络安全功能,并支持安全的空中升级。SIM7800预留高速以太网接口,适合车内高速传输数据,为车辆提供稳定可靠的通信能力。

【图为 T-Box成品图】
芯讯通代理商——Excelpoint世健公司产品经理Nicola Chen表示:“Tbox定制开发板将帮助设计者灵活使用芯讯通车规级模组SIM7800,为汽车用户提供更加丰富的业务和服务,并对车辆进行有效的监管和调度,实现更加高效、安全、舒适的车辆管理和用户体验。”
安全是车联网的重中之重,严格把控Tbox与外网的连接的绝对安全是芯讯通的重要任务。首先,从程序的保护上,只有来源合法的产品才能对Tbox进行升级。第二:模块的系统安全性上,由于其本身基于Linux,芯讯通采用SeLinux+把各种非法入侵的途径都堵死。第三:保障文件的私密性,对数据进行加密。

【图为 SIM7800CE 4G模块设计框图】
关于世健——亚太区领先的元器件授权代理商
世健是完整解决方案的供应商,为亚洲电子厂商包括原设备生产商(OEM)、原设计生产商(ODM)和电子制造服务提供商(EMS)提供优质的元器件、工程设计及供应链管理服务。
世健与供应商及电子厂商紧密协作,为新的科技与趋势作出定位,并帮助客户把这些最先进的科技揉合于他们的产品当中。集团分别在新加坡、中国及越南设有研发中心,专业的研发团队不断创造新的解决方案,帮助客户提高成本效益并缩短产品上市时间。世健研发的完整解决方案及参考设计可应用于工业、无线通信及消费电子等领域。
世健是新加坡的主板上市公司,总部设于新加坡,拥有超过750名员工,业务范围已扩展至亚太区40多个城市和地区,遍及新加坡、马来西亚、泰国、越南、中国、印度、印度尼西亚、菲律宾及澳大利亚等十多个国家。世健集团在2018年的年营业额超过12亿5千万美元。世健于1993年开始发展中国业务,中国区总部设于香港,并拥有11个分公司及办事处、1个研发中心及2个物流中心,遍及中国多个城市。
史海拾趣
|
电解电容器使用上注意事项 使用电解电容器时,请注意下列事项: 电解电容器就如下列情形时,会引起特性的劣化 ◎ 逆向电压 ◎ 使用电压超出工作电压 ◎ 电流大于容许纹波电流 ◎ 急剧的充放电 此时,引起激烈的发热或气体产生会从电容器的封口处漏 ...… 查看全部问答> |
|
新手请教一个网卡驱动的问题(对网卡芯片的操作,不涉及TCP/IP) 我用的控制芯片为S3C2410,网卡芯片是AX88796, 网卡在BANK2上,基地址为0x200,逻辑地址为0x10000200。Ax88796的寄存器宽度为8位,映射到从基地址200h到21fh地址空间内。 首先是两个对Ax88796的寄存器读写的操作函数:ax88796Write()和ax88796Read( ...… 查看全部问答> |
|
您好! 我们开发了一块pci9052芯片的PCI接口板,出现怪异问题,请帮忙分析下! 开发板连接测量仪器和PC机上的测试程序(VC++), 大概每80ms左右读2048次数据,每次大概2个字节。 测试仪器实时采集数据并作图。 我们发现开机(电 ...… 查看全部问答> |
|
比如我的电脑接了一个光电开关,希望用PC 程序知道根据光电开关电路电压的高低(或通断)。请教怎么个连接实现法? 看了许多书,都是讲关于串口通信,所有演示的都是如何实现两台PC之间互相发送字符的。可是,我并不是要采集字符,我只想采集电压 ...… 查看全部问答> |
|
atmel51开发板一块,凌阳61开发板一块,换闲置嵌入式开发板 我有闲置atmel51开发板一块,还有一块凌阳61的开发板,由于我现在用笔记本,这两个开发板没有USB下载程序的功能,想换块ARM开发板,能用USB下载调试程序的。 61 ...… 查看全部问答> |
|
Vforum2010 见闻 之IBM 和INTEL 讲座心得! 阿牛哥参加Vforum2010, 听到了智慧的IBM 系统--面向云计算的智能硬件平台讲演,也听了INTEL 开放式数据中心--推动云计算的新技术趋势讲演。有一些心得和大家分享,班门弄斧,请大家拍砖! IBM ...… 查看全部问答> |




