历史上的今天
今天是:2025年04月03日(星期四)
2019年04月03日 | 苹果专利建议在自动驾驶汽车底部安装传感器
2019-04-03 来源:盖世汽车网
据外媒报道,几乎所有的驾驶员都需要依靠汽车速度里程表来了解行驶速度,以及汽车移动的总体感觉,从而知道是否自己应该多加注意。而驾驶员在潮湿或结冰的路面与在干燥路面上驾驶时,处理方式会不同,虽然驾驶员可能希望车辆以特定的方式正常行驶,但是在此种情况下,为了达到预期效果,可能不得不过度转动方向盘。再加上轮胎柔度、轮胎尺寸、温度、压力和汽车负载等等可变因素,驾驶就成为一项更加艰难的任务。
不断变化的天气和路况对于自动驾驶汽车系统来说,也是一个问题,虽然自动驾驶汽车系统配备了非常多的安全系统,以确保车内人员不受伤害。目前用于确定道路相对速度的系统包括车轮编码器、惯性传感器和GPS信号检测,但是苹果公司认为还远远不够。惯性传感器易受有噪音的加速度计的影响,无法准确测速;而由于受到自然环境和技术手段的干扰,GPS等全球国家卫星系统也不可靠。
当地时间4月2日,美国专利商标局(US Patent and Trademark Office)授予了苹果一项专利,名为“测量滑差和速度的仪器和方法”,旨在通过两种不同的方式,利用更多传感器解决上述问题,从而确保汽车能够平稳驾驶。

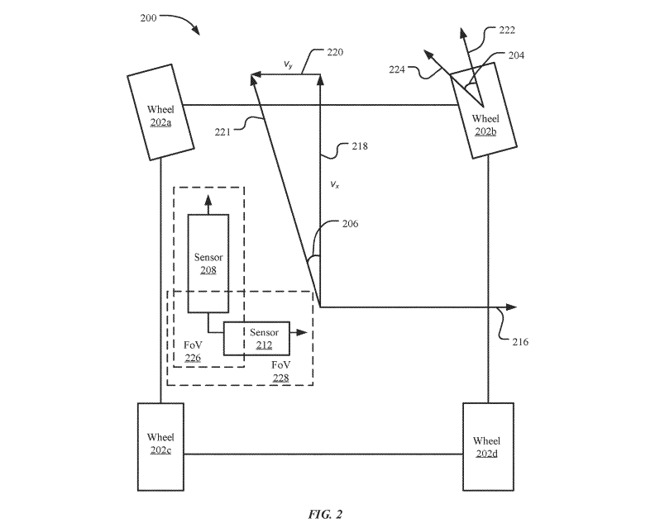
第一种方法是,苹果建议在汽车底部安装两个传感器,扫描路面或地面。通过测量两个传感器的反射电磁波,系统可以产生一对“多普勒斜率”,从而确定车辆移动的速度以及角度。
第一个数据点可提供有关汽车行驶速度的建议,而角度数据会告诉自动驾驶系统一些超出系统预期的动作,如汽车在结冰的道路上行驶时,虽然汽车在转弯,但是传感器显示转弯角度不够。然后此类数据可与惯性传感器和GPS的数据进行比较,确保准确性。

第二种方法是,苹果建议使用多组传感器,不止指向路面,而且指向汽车前方角度,而不是垂直方向。除了可以捕捉更大测量面积内的速度和滑差,第二种方法还能生成纵向和横向传感器速度数据。然后,收集的数据再与其他传感器的数据进行比较,最终用于自动驾驶系统做出决策的基础。
尽管苹果整车面世的时间似乎越来越远,但是有报道暗示,苹果可能正在研发一款汽车,因为最近苹果聘请了特斯拉工程副总裁Michael Schwekutsch,研究汽车动力总成。苹果推出的其他相关专利有:可以捕捉驾驶员兴趣点数据的传感器、使用手势控制移动自动驾驶汽车、使用增强现实在挡风玻璃上展示前方道路和其他信息、与其他自动驾驶系统进行跨车通信、使用移动设备召唤自动驾驶汽车,并且支付车费等等。
史海拾趣
|
关于视频系统处理器选择的建议基于ARM核心的Freescale的i.MX系列芯片是视频应用的佼佼者。 比如i.MX27和i.MX31 i.MX27嵌入式开发板是高清视频输入输出的首选,i.mx27芯片提供了更高的灵活性和更强大的多媒体处理能力,成为IP视频和语音(V2IP)、移 ...… 查看全部问答> |
|
单片机的用途非常广阔,各种智能控制的产品中都少不了它的身影,前景看好,因此引起了一阵阵学习单片机的热潮。 相信很多初学单片机的朋友都是从做流水灯开始的,因为流水灯的电路较为简单。看着按照自己的设想做成的流水灯变幻着不同的花样, ...… 查看全部问答> |
|
小弟要实现如下功能: 当我点击打印操作时,程序弹出一个对话框,显示正在打印,在打印的过程中,必须使程序无法响应用户的其它任何操作。当打印结束时,显示打印成功或打印失败,然后才让程序可以继续响应用户其它操作。 请问这个如何解决哈? … 查看全部问答> |
|
怎样才能不间断采样呢? 我现在的方法:ADC12采样AB相的电压和电流,ADC3采样C相电压和电流,用TIM1的CC2和CC3作为触发,DMA传输采样数据,半传输完成后计算一次,计算期间进行下一个采样,整传输完成后,重新给DMA采样数据个数。 问题是: ...… 查看全部问答> |
|
2.4G无线电力测温解决方案 随着市场的推进,无线电力测温已经收到电力部门的高度重视.从过去的地方项目上升到省局的集中招标.从应用的角度来看,它并不是一个复杂的应用.但是从实现上来看,它需要公司投入相当大的人力和物力.针对于此,上海麓 ...… 查看全部问答> |




