历史上的今天
今天是:2024年09月12日(星期四)
2019年09月12日 | 黑鲨手机新专利,让游戏不再“发烫”了
2019-09-12 来源:爱集微
近日黑鲨游戏手机2 Pro发布,作为游戏手机里的佼佼者,此款手机在上市的短短数天内,曾多次售罄,同时也在京东平台的游戏手机品类销量、销售额排行榜中位居第一。除了性能优异、外形酷炫之外,黑鲨游戏手机2 Pro还采用液冷板+液冷管的双驱液冷设计,结合手机创新的分布式热源架构,可有效覆盖全部发热部件,实现分区直触散热、独立热控。
通常大部分厂商解决散热问题的方法都是在架构方面采用铜、铝、银等高导热材料。但是金属材料密度大,膨胀系数高,在要求高导热效率的场合尚无法满足使用要求,不少智能终端厂商提供了一种均热板的设计,通过在均热板内增加冷却液来散热,但额外增设均热板将增加智能终端的厚度,给用户带来不好的使用体验。
为此,黑鲨科技公司就申请了一项名为“一种散热构件及智能终端”的实用新型专利(申请号为:201820548309.8),申请人为南昌黑鲨科技有限公司。它提供一种新型散热构件,能够有效提升热体验及降低CPU核心温度,改善用户的使用体验。

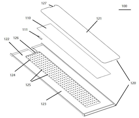
图1
上图是该散热构件100的结构示意图,散热构件100为均热板,它主要包括散热模块110及导热壳体120,其中散热模块110与导热壳体120相耦合。
散热模块110为均热板内部的铜制网格,均热板内壁填充有金属粉末,经烧结后形成毛细结构,当散热模块110接收到热量时,将通过热传导传导至导热壳体120的其他部分。导热壳体120 包括第一板件121及第二板件122,这两个板件均由如铜、铜合金等金属制成,,保证散热构件100的散热效果。同时,将第一板件121与第二板件122密封固定连接后,会在两者间形成一个真空腔体,真空腔体内具有工作流体作为液态传热介质。
当两个板件接收外部热量,并把热量传导至散热模块110时,真空腔体内的液态传热介质在低真空度的环境中受热后开始产生吸热气化,此时,吸收热能并且体积迅速膨胀,气相的工作流体迅速充满整个腔体,从而能够快速实现全面降温。当环境中的热量散去,即液态传热介质接触到一个比较冷的操作环境时便会产生凝结的现象。借由凝结的现象释放出在气化时吸收的热量,凝结后的液态传热介质会借由真空腔体内壁上的毛细结构再回到热源处,因此可以散热过程可以在真空腔体内周而复始地进行。

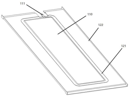
图2
为在该真空腔体内注入液态传热介质,在散热模块110的一侧,会配备一个管件111,管件111的一端深入到散热模块110的内部,另一端向外延伸。该管件111已封有辅助材料,从而避免内部的工作流体溢出。
该散热构件,可以用于智能终端(智能电话、笔记本电脑、平板电脑、导航装置等等)内。同时,它也可以直接作为智能终端的外壳来使用,此时,第二板件将直接朝向外部空间,使得智能终端内部产生的热量迅速散开,提高了散热效果的同时,也使得散热过程更加均匀
史海拾趣
|
摘 要: 本文利用FPGA完成了8路同步话音及16路异步数据的复接与分接过程,并且实现了复接前的帧同步捕获和利用DDS对时钟源进行分频得到所需时钟的过程。该设计的控制模块由VHDL语言完成,最后利用Xilinx公司的ISE工具和Modelsim工具完成了该设计的 ...… 查看全部问答> |
|
内容:测量范围0-10VDC,误差5%,,设计直流电压变换电路,AD转换电路,接口电路,显示电路,设计电源,计算电源功率及效率。 我们单片机是考察课,但是这次的实习课程设计要求十分严格,要一周内做出,上课时候AD和接口和显示都是略过的,而且老 ...… 查看全部问答> |
|
小弟正在学习设计简单的汽车线控转向系统。打算只使用两个电机(路感模拟电机和转向电机各一个),成本问题,但是别的信息看来,实际汽车实际用的是4个电机(2个路感模拟电机和2个转向电机)。不太明白每个电机设计两个就是为了更加安全,更加有保 ...… 查看全部问答> |
|
[img]file:///F:/Program%20Files/Tencent/QQ/Users/382864860/Image/@760GXD(G96Y24}MHQ[1DN0.jpg[/img] 昨天编程的时候出现了这个问题啊,弄了一天还是没弄好。希望大家帮帮忙!! 还有,用到事件管理器(EVA)的时候,要出现PWM波形,使用比 ...… 查看全部问答> |
|
手把手教你写程序 内容:从最简单的程序入手,手把手教你写程序,让同学们拿到一个复杂的程序或者任务,能快速找到切入点,写出程序,再在此基础上优化程序。当拿到一个单片机任务时,不要急于动手写程序,先仔细分析它的以下几个点: 1、它要 ...… 查看全部问答> |
|
在使用GSM模块的时候,有一个担心: 在我发送短信的时候,消息发送动作已经完成,但是模块还没有返回OK时,如果恰巧有新的短信到来,会不会先返回一个收到短信的 “+CMTI: \"SM\",x”的信息,而后再返回发送短信成功的 “+CMGS: xxx”及 OK 信息?… 查看全部问答> |
|
大家好。小弟要写一篇硕士毕业论文。内容是关于ZIGBEE的智能家居系统。 我看了一些1,2年前的文献,他们大都采用星型的拓扑结构。 我想问下,如果采用星型的话,那么在房间内的那些终端节点,会不会因为墙的阻挡,而在与中央的主控制器的通信过程 ...… 查看全部问答> |
|
WinCE5 CEC文件中如何做把几个组件做成Choose 1的效果。 比如:File System-Internal ( Choose 1 ) 是如何做出来的。 … 查看全部问答> |
|
uc/os-II中任务调度是分时的还是占先式? uc/os-II中设计一个任务需要考虑哪些问题? uc/os-II中任务通信有哪些方式?… 查看全部问答> |
|
现已经安装vs2005,想用wince5来开发程序,暂时没有设备,使用想用模拟器,但是vs2005里没有wince5的模拟器,各位大侠请指点小弟,不甚感激!!!… 查看全部问答> |




