历史上的今天
今天是:2024年09月21日(星期六)
2019年09月21日 | STM32的时钟系统RCC详细整理
2019-09-21 来源:eefocus
一、综述:
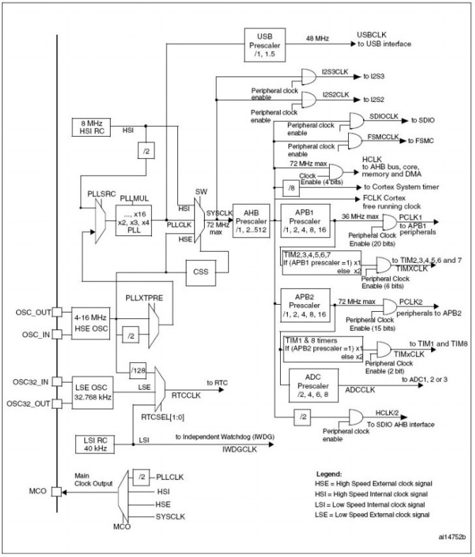
1、时钟源
在 STM32 中,一共有 5 个时钟源,分别是 HSI 、 HSE 、 LSI 、 LSE 、 PLL 。
①HSI 是高速内部时钟, RC 振荡器,频率为 8MHz ;
②HSE 是高速外部时钟,可接石英 / 陶瓷谐振器,或者接外部时钟源,频率范围是 4MHz – 16MHz ;
③LSI 是低速内部时钟, RC 振荡器,频率为 40KHz ;
④LSE 是低速外部时钟,接频率为 32.768KHz 的石英晶体;
⑤PLL 为锁相环倍频输出,严格的来说并不算一个独立的时钟源, PLL 的输入可以接 HSI/2 、 HSE 或者 HSE/2 。PLL倍频可选择为 2 – 16 倍,但是其输出频率最大不得超过 72MHz 。
其中, 40kHz 的 LSI 供独立看门狗 IWDG 使用,另外它还可以被选择为实时时钟 RTC 的时钟源。另外,实时时钟RTC 的时钟源还可以选择 LSE ,或者是 HSE 的 128 分频。
STM32 中有一个全速功能的 USB 模块,其串行接口引擎需要一个频率为 48MHz 的时钟源。该时钟源只能从 PLL 端获取,可以选择为 1.5 分频或者 1 分频,也就是,当需使用到 USB 模块时, PLL 必须使能,并且时钟配置为 48MHz或 72MHz 。
另外 STM32 还可以选择一个时钟信号输出到 MCO 脚 (PA.8) 上,可以选择为 PLL 输出的 2 分频、 HSI 、 HSE或者系统时钟。
系统时钟 SYSCLK ,它是提供 STM32 中绝大部分部件工作的时钟源。系统时钟可以选择为 PLL 输出、 HSI 、HSE 。系系统时钟最大频率为 72MHz ,它通过 AHB 分频器分频后送给各个模块使用, AHB 分频器可以选择 1 、 2、 4 、 8 、 16 、 64 、 128 、 256 、 512 分频,AHB分频器输出的时钟送给 5 大模块使用:
①送给 AHB 总线、内核、内存和 DMA 使用的 HCLK 时钟;
②通过 8 分频后送给 Cortex 的系统定时器时钟STCLK;
③直接送给 Cortex 的空闲运行时钟 FCLK ;
④送给 APB1 分频器。 APB1 分频器可以选择 1 、 2 、 4 、 8 、 16 分频,其输出一路供 APB1 外设使用(PCLK1 ,最大频率 36MHz ),另一路送给定时器 (Timer)2 、 3 、 4 倍频器使用。该倍频器根据PCLK1的分频值自动选择 1 或者 2 倍频,时钟输出供定时器 2 、 3 、 4 使用。
⑤送给 APB2 分频器。 APB2 分频器可以选择 1 、 2 、 4 、 8 、 16 分频,其输出一路供 APB2 外设使用(PCLK2 ,最大频率 72MHz ),另外一路送给定时器 (Timer)1 倍频使用。该倍频器根据PCLK2的分频值自动选择1 或 2 倍频,时钟输出供定时器 1 使用。另外 APB2 分频器还有一路输出供 ADC 分频器使用,分频后送给 ADC 模块使用。 ADC 分频器可选择为 2 、 4 、 6 、 8 分频。
需要注意的是定时器的倍频器,当 APB 的分频为 1 时,它的倍频值为 1 ,否则它的倍频值就为 2 。

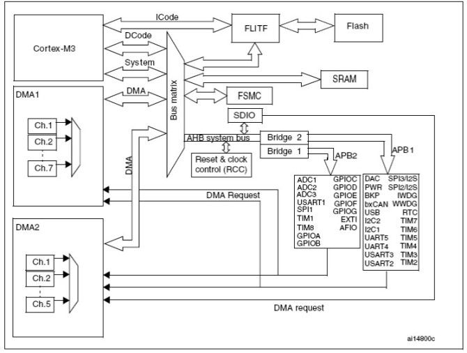
2、APB1和APB2连接的模块
①连接在 APB1( 低速外设 ) 上的设备有:电源接口、备份接口、 CAN 、 USB 、 I2C1 、 I2C2 、 UART2 、UART3 、 SPI2 、窗口看门狗、 Timer2 、 Timer3 、 Timer4 。 注意 USB 模块虽然需要一个单独的 48MHz 的时钟信号,但是它应该不是供 USB 模块工作的时钟,而只是提供给串行接口引擎 (SIE) 使用的时钟。 USB 模块的工作时钟应该是由 APB1 提供的。
②连接在 APB2 (高速外设)上的设备有: UART1 、 SPI1 、 Timer1 、 ADC1 、 ADC2 、 GPIOx(PA~PE) 、第二功能 IO 口。

二、寄存器介绍:
typedef struct
{
__IO uint32_t CR;
__IO uint32_t CFGR;
__IO uint32_t CIR;
__IO uint32_t APB2RSTR;
__IO uint32_t APB1RSTR;
__IO uint32_t AHBENR;
__IO uint32_t APB2ENR;
__IO uint32_t APB1ENR;
__IO uint32_t BDCR;
__IO uint32_t CSR;
#ifdef STM32F10X_CL
__IO uint32_t AHBRSTR;
__IO uint32_t CFGR2;
#endif /* STM32F10X_CL */
#if defined (STM32F10X_LD_VL) || defined (STM32F10X_MD_VL) || defined (STM32F10X_HD_VL)
uint32_t RESERVED0;
__IO uint32_t CFGR2;
#endif /* STM32F10X_LD_VL || STM32F10X_MD_VL || STM32F10X_HD_VL */
} RCC_TypeDef;
1、时钟控制寄存器(RCC_CR):(复位值为0x0000 xx83,内部低速时钟使能和就绪,内部时钟校准)
主要功能:内外部高速时钟的使能和就绪标志(含内部高速时钟校准调整),外部高速时钟旁路,时钟安全系统CSS使能,PLL使能和PLL就绪标志。
2、时钟配置寄存器(RCC_CFGR):(复位值为0x0000 0000)
主要功能:系统时钟源切换及状态,AHB、APB1、APB2、ADC、USB预分频,PLL输入时钟源选择及HSE输入PLL分频选择,PLL倍频系数,MCO(PA8)引脚微控制器时钟输出。
3、时钟中断寄存器 (RCC_CIR):(复位值: 0x0000 0000)
主要功能:LSI、LSE、HIS、HSE、PLL就绪中断标志,HSE时钟失效导致时钟安全系统中断标志,LSI、LSE、HIS、HSE、PLL就绪中断使能,清除LSI、LSE、HIS、HSE、PLL就绪中断,清除时钟安全系统中断。
4、APB2外设复位寄存器 (RCC_APB2RSTR):(复位值: 0x0000 0000)
主要功能:AFIO、IOPA、IOPB、IOPC、IOPD、IOPE、IOPF、IOPG、ADC1、ADC2、TIM1、SPI1、TIM8、USART1、ADC3复位。
5、APB1外设复位寄存器 (RCC_APB1RSTR) :(复位值: 0x0000 0000)
主要功能:TIM2、TIM3、TIM4、TIM5、TIM6、TIM7、WWDG、SPI2、SPI3、USART2、USART3、USART4、USART5、I2C1、I2C2、USB、CAN、BKP、PWR、DAC复位。
6、AHB外设时钟使能寄存器 (RCC_AHBENR) :(复位值: 0x0000 0014睡眠模式时SRAM、闪存接口电路时钟开启)
主要功能:DMA1、DMA2、SRAM、FLITF、CRC、FSMC、SDIO时钟使能。
7、APB2外设时钟使能寄存器(RCC_APB2ENR) :(复位值: 0x0000 0000)
主要功能:AFIO、IOPA、IOPB、IOPC、IOPD、IOPE、IOPF、IOPG、ADC1、ADC2、TIM1、SPI1、TIM8、USART1、ADC3时钟使能。
8、APB1外设时钟使能寄存器(RCC_APB1ENR) :(复位值: 0x0000 0000)
主要功能:TIM2、TIM3、TIM4、TIM5、TIM6、TIM7、WWDG、SPI2、SPI3、USART2、USART3、USART4、USART5、I2C1、I2C2、USB、CAN、BKP、PWR、DAC时钟使能。
9、备份域控制寄存器 (RCC_BDCR) :(复位值: 0x0000 0000)
主要功能:外部低速振荡器使能和就绪标志及旁路、RTC时钟源选择和时钟使能、备份域软件复位。
10、控制/状态寄存器 (RCC_CSR) :(复位值: 0x0C00 0000 NRST引脚复位标志、上电/掉电复位标志)
主要功能:内部低速振荡器就绪、清除复位标志、NRST引脚复位标志、上电/掉电复位标志、软件复位标志、独立看门狗复位标志、窗口看门狗复位标志、低功耗复位标志。
三、初始化设置
采用8MHz 外部HSE 时钟,在 MDK 编译平台中,程序的时钟设置参数流程如下:
将 RCC 寄存器重新设置为默认值:RCC_DeInit();
打开外部高速时钟晶振 HSE : RCC_HSEConfig(RCC_HSE_ON);
等待外部高速时钟晶振工作: HSEStartUpStatus = RCC_WaitForHSEStartUp();
设置 AHB 时钟 (HCLK) : RCC_HCLKConfig(RCC_SYSCLK_Div1);
设置APB 2时钟 (APB2) : RCC_PCLK2Config(RCC_HCLK_Div1);
设置APB1 时钟 (APB1) : RCC_PCLK1Config(RCC_HCLK_Div2);
设置 PLL : RCC_PLLConfig(RCC_PLLSource_HSE_Div1, RCC_PLLMul_9);
打开 PLL : RCC_PLLCmd(ENABLE);
等待 PLL 工作: while(RCC_GetFlagStatus(RCC_FLAG_PLLRDY) == RESET);
设置系统时钟: RCC_SYSCLKConfig(RCC_SYSCLKSource_PLLCLK);
判断 PLL 是否是系统时钟: while(RCC_GetSYSCLKSource() != 0x08);
1、使用库函数进行时钟系统初始化配置
void RCC_config()//如果外部晶振为8M,PLLCLK=SYSCLK=72M,HCLK=72M,//P2CLK=72M,P1CLK=36M,ADCCLK=36M,USBCLK=48M,TIMCLK=72M
{
ErrorStatus HSEStartUpStatus; // 定义错误状态变量
RCC_DeInit();//将RCC寄存器重新设置为默认值
RCC_HSEConfig(RCC_HSE_ON); //打开外部高速时钟晶振
HSEStartUpStatus = RCC_WaitForHSEStartUp();// 等待外部高速时钟晶振工作
if(HSEStartUpStatus == SUCCESS)
{
RCC_HCLKConfig(RCC_SYSCLK_Div1);//设置AHB不分频,HCLK=SYSCLK
RCC_PCLK2Config(RCC_HCLK_Div1);//设置APB2不分频,P2CLK=HCLK
RCC_PCLK1Config(RCC_HCLK_Div2); //设置APB1 为2分频,P1CLK=HCLK/2
FLASH_SetLatency(FLASH_Latency_2);//设置FLASH代码延时
FLASH_PrefetchBufferCmd(FLASH_PrefetchBuffer_Enable);//使能预取指缓存
RCC_PLLConfig(RCC_PLLSource_HSE_Div1, RCC_PLLMul_9);//设置PLL时钟源,
//外部时钟不分频,为HSE的9倍频8MHz * 9 = 72MHz
RCC_PLLCmd(ENABLE);//使能PLL
while(RCC_GetFlagStatus(RCC_FLAG_PLLRDY) == RESET);//等待PLL准备就绪
RCC_SYSCLKConfig(RCC_SYSCLKSource_PLLCLK);//设置PLL为系统时钟源
while(RCC_GetSYSCLKSource() != 0x08);//判断PLL是否是系统时钟
}
/*RCC_APB2PeriphClockCmd(RCC_APB2Periph_GPIOB | RCC_APB2Periph_GPIOD, ENABLE); // 打开 PB 和 PD 用于点亮 LED 灯*/
}
2、使用寄存器进行RCC时钟初始化配置
void RCC_init(u8 PLL)//输入PLL的倍频值2—16倍频
//HCLK=PLLCLK=SYSCLK=P2CLK=P1CLK*2=ADCCLK*2=TIMCLK=USBCLK*2/3
{
unsigned char temp=0;
//RCC_DeInit(); //将RCC寄存器重新设置为默认值
RCC->CR|=0x00010000; //外部高速时钟使能HSEON
while(!(RCC->CR>>17));//等待外部时钟就绪
RCC->CFGR=0X00000400; //APB1=DIV2;APB2=DIV1;AHB=DIV1;
PLL-=2;//抵消2个单位
RCC->CFGR|=PLL<<18; //设置PLL倍频值 2~16
RCC->CFGR|=1<<16; //PLL时钟源选择
FLASH->ACR|=0x32; //FLASH 2个延时周期
RCC->CR|=0x01000000; //PLLON
while(!(RCC->CR>>25));//等待PLL锁定
RCC->CFGR|=0x00000002;//PLL作为系统时钟
while(temp!=0x02) //等待PLL作为系统时钟设置成功
{
temp=RCC->CFGR>>2;
temp&=0x03;
}
}
四、相关库函数解析
1、库中所涉及到的结构体
typedef struct
{
uint32_t SYSCLK_Frequency; /*!< returns SYSCLK clock frequency expressed in Hz */
uint32_t HCLK_Frequency; /*!< returns HCLK clock frequency expressed in Hz */
uint32_t PCLK1_Frequency; /*!< returns PCLK1 clock frequency expressed in Hz */
uint32_t PCLK2_Frequency; /*!< returns PCLK2 clock frequency expressed in Hz */
uint32_t ADCCLK_Frequency; /*!< returns ADCCLK clock frequency expressed in Hz */
}RCC_ClocksTypeDef;
2、库函数解析
void RCC_DeInit(void);//将外设RCC寄存器设为缺省值;(除RCC_BDCR和RCC_CSR)
void RCC_HSEConfig(uint32_t RCC_HSE);//设置外部高速晶振(HSE);
//输入:RCC_HSE_OFF,RCC_HSE_ON,RCC_HSE_Bypass(HSE旁路)
ErrorStatus RCC_WaitForHSEStartUp(void);//等待HSE起振;
//返回值:SUCCESS,HSE晶振稳定且就绪;ERROR,HSE晶振未就绪
void RCC_AdjustHSICalibrationValue(uint8_t HSICalibrationValue);//调整内部高速晶振(HSI)校准值
//输入:校准补偿值(该参数取值必须在0到0x1F之间)
void RCC_HSICmd(FunctionalState NewState);//使能或者失能内部高速晶振(HSI)
//输入:ENABLE或者DISABLE(如果HSI被用于系统时钟,或者FLASH编写操作进行中,那么它不能被停振)
void RCC_PLLConfig(uint32_t RCC_PLLSource, uint32_t RCC_PLLMul);//设置PLL时钟源及倍频系数
//输入:RCC_PLLSource_HSI_Div2,RCC_PLLSource_HSE_Div1,RCC_PLLSource_HSE_Div2
//输入:RCC_PLLMul_2到RCC_PLLMul_16
void RCC_PLLCmd(FunctionalState NewState);// 使能或者失能PLL
//输入:ENABLE或者DISABLE
#if defined (STM32F10X_LD_VL) || defined (STM32F10X_MD_VL) || defined (STM32F10X_HD_VL) || defined (STM32F10X_CL)
void RCC_PREDIV1Config(uint32_t RCC_PREDIV1_Source, uint32_t RCC_PREDIV1_Div);//
#endif
#ifdef STM32F10X_CL
void RCC_PREDIV2Config(uint32_t RCC_PREDIV2_Div);//
void RCC_PLL2Config(uint32_t RCC_PLL2Mul);//
void RCC_PLL2Cmd(FunctionalState NewState);//
void RCC_PLL3Config(uint32_t RCC_PLL3Mul);//
void RCC_PLL3Cmd(FunctionalState NewState);//
#endif /* STM32F10X_CL */
void RCC_SYSCLKConfig(uint32_t RCC_SYSCLKSource);//设置系统时钟(SYSCLK)源
// RCC_SYSCLKSource_HSI,RCC_SYSCLKSource_HSE,RCC_SYSCLKSource_PLLCLK
uint8_t RCC_GetSYSCLKSource(void);// 返回用作系统时钟的时钟源
//返回值:0x00 HSI作为系统时钟,0x04 HSE作为系统时钟,0x08 PLL作为系统时钟
void RCC_HCLKConfig(uint32_t RCC_SYSCLK);//设置AHB时钟(HCLK)
//输入:RCC_SYSCLK_Div1,RCC_SYSCLK_Div2,RCC_SYSCLK_Div4,RCC_SYSCLK_Div8,RCC_SYSCLK_Div16,
//RCC_SYSCLK_Div32,RCC_SYSCLK_Div64,RCC_SYSCLK_Div128,RCC_SYSCLK_Div256,RCC_SYSCLK_Div512
void RCC_PCLK1Config(uint32_t RCC_HCLK);// 设置低速AHB时钟(PCLK1)
史海拾趣
|
不知道为什么 编译通过了 但是运行的时候却发生了错误: error:Debug Asesertion Failed Failed! f:\\sp\\vctors\\vc7libsce\\ship\\atlmfc\\src\\mfc\\filecore.cpp line 207 (207看不清楚不知道是297还是207) 相关的MFC函数: ...… 查看全部问答> |
|
现在在做一网卡项目,实现的功能是当网卡插入Windows XP系统时,显示一个USB口和一个串口,其中USB口实现上网,串口用于走AT命令等,现在在Windows端的驱动程序都已有现成的,USB也可以上网了 其中卡侧是TTPcom开发环境 &nb ...… 查看全部问答> |
|
请问用多片ADSP21161N时不可以用外部晶振作为CLKIN的输入吗?看ADSP21161N的数据手册24页这么说的,不知道是不是理解错了。想用FPGA来驱动4片ADSP21161N时钟信号,现在不知道该怎么办了。。。请高人指点,谢谢。… 查看全部问答> |
|
新买的arm开发板,芯片型号:STM32F103VET6, 编译器:IAR,仿真器:J-LINK。下载程序的时候提示:API Error: Debugger tries to select a device after communication with the target CPU has already been performed. Device selection not exec ...… 查看全部问答> |
|
驱动电源寿命偏低的一个重要原因是驱动电源所需的铝电解电容的寿命不足,主要原因是长时间工作时具内部的环境温度很高,导致铝电解电容的电解液很快被耗干,寿命大为缩短,一般只能工作5千小时左右。而的寿命是5万小时,因此铝电解电容的工作寿命就 ...… 查看全部问答> |




