历史上的今天
今天是:2024年10月11日(星期五)
2019年10月11日 | 从专利解析FF的逆变器设计,功率密度比竞争对手高20%的秘诀是什么?
2019-10-11 来源: OFweek新能源汽车网
法拉第未来(Faraday Future),简称FF,对于这家企业,我们不做任何讨论,单纯从技术上来欣赏一下他的第一个被授予的专利。这项专利申请与2015年,2016年被授予,是法拉第未来的第一项专利,专利号:US 9.241,428 B1 ,专利名称:INVERTERASSEMBLY。

图1专利逆变器外形

图2专利逆变器安装方式
此款逆变器由初创公司内部工程开发,并由Electric Drive Silva Hiti高级总监领导。逆变器被设计为小而简单。FF声称它的功率密度比竞争对手的逆变器高20-30%。
Silva Hiti解释说:“冷凝晶体管和其他复杂组件的数量可以提高逆变器的整体稳定性和可靠性,使我们能够用更少的材料完成更多的工作。”
官方声明指出,FF团队设法使机械和电气部件的数量最少,以便同时实现更小尺寸和更高的可靠性。他们指出,电气元件之间的电流分配不均会导致较高的应力。他们通过减少监视和共享电流的组件来解决了这个问题。
从专利上分析:
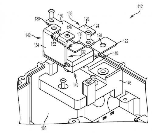
通过专利进行大致的描述,从专利上看,这套控制器工艺相对复杂,使用了大量的叠层母排和多个连接器,从专利上可以看出,至少有三块板子,控制板、驱动板和霍尔板,放在现在来说,结构有点复杂,成本稍微高,但毕竟车的价格也很高,这些成本并不占整车的价格比例过高
从结构上分析,结构相对复杂,母排线采用叠层母排的形式,并有多个固定螺丝。接线端子采用比较常用的铜端子,用螺丝锁紧的方式

图3母排

图4接线端子
母线电容与母线的连接比较复杂,母线电容伸出多个引脚,其中两个引脚与母线输入连接,另外6个引脚通过叠层母排与IGBT正负极连接。
IGBT采用两个六合一的IGBT模块并联的形式,增大输出功率。三相输出也采用叠层母排的形式,并且使用两个霍尔传感器进行电流采样,两个霍尔通过连接器与控制板连接。

图5三相与霍尔

图6 IGBT

图7母线电容
以下内容引用FF官网介绍:
为了实现我们关于未来交通工具的远大愿景,我们的工程师和设计师一直努力奋斗,而他们的努力成果也是多种多样的——从构成可调节框架“VPA 可变平台架构”的弹性原理,到激动人心的FFZERO1 概念车轮廓,再到一些更细致精巧的东西……
比如说,一个小盒子。

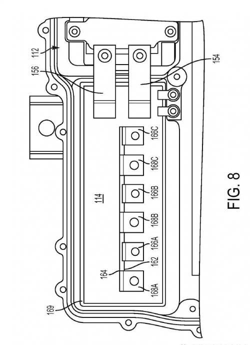
图8法拉第未来逆变器

图9逆变器内部
我们荣幸地宣布,我们日前顺利获得了公司第一个美国专利(专利号9,241,428 B1),这项专利授予一种最先进的逆变器,我们称之为“Faraday Future 梯度逆变器”。
在我们电力驱动部门高级总监 Silva Hiti 的带领下,我们的工程团队刻苦钻研当前量产型逆变器所面对的顽固问题。可靠性、可制造性和能量密度是他们决定翻越的三座大山,他们要从最基础开始重新设计这个装置。
工程师们的首要目的是既要降低逆变器的机械复杂程度,又要满足我们雄心勃勃的性能要求。
我们的工程师决定把逆变器精简到只剩下核心元件。他们放弃了采用成品零件组装逆变器,而是选择追求完全独创的逆变器架构——一款有着更简洁、更直接设计的全新架构。

图10逆变器外观

图11逆变器外观
“通过缩减晶体管等复杂元件的数量,可以提高逆变器的整体稳定性和可靠性,”Silva Hiti 解释道,“这让我们可以使用更少原料,进而实现更强性能。”

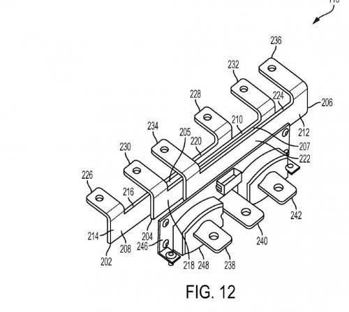
图12逆变器上部
工程界有句名言:系统内集成的交互元件越多,就越有可能出错。对于逆变器而言,有可能出的错就是并联元件的电流分配不均匀,从而对某些元件造成不可预见的压力。最终,这种压力可能会导致逆变器宕机,这种情况下车子就会突然跑不动了。
把注意力集中在Faraday Future 梯度逆变器的核心元件设计上,就可以更方便对其进行监控,确保排除复杂的故障风险,这样做的最终成果就是生产出更安全、更可靠的设备。
除此之外,生产费用也会相应降低。因为随着元件总数的减少,需要进行风险分析测试的对象也相应减少,风险分析测试的成本就会随之降低,而量产的复杂程度及其对环境的影响也会相应降低。设备的尺寸会变得更紧凑,车内空间进一步扩大,驾乘体验由此得到提升。
Faraday Future 梯度逆变器设计独特,前所未有地支持超高能量密度,这就意味着一方面可以减少占用空间,另一方面能够更高效地转换能源。
通过精雕细琢,Faraday Future 梯度逆变器的的能源管理能力超越了所有已知电动汽车,而在未来几年内,它的性能都会领跑业界。
作为我们的首个专利,Faraday Future 梯度逆变器让我们倍感自豪。这一方面是因为它是一项极为强大、引领未来的技术,另一方面,它也让业界更广泛地了解到了我们 Faraday Future 正在深耕的创新天地。事实上,过去一年间我们已经向美国专利局提交了超过100项新专利申请。
高性能、可靠、安全、简洁是贯彻在 Faraday Future 设计理念中的宗旨。从个性化的空气动力学外观设计,到全面改善的内部元件,我们极具天赋的工程师和设计师都秉持这一宗旨,全力探索新方案,攻克长期困扰业界的各种难题。
偏重发明的解决方案让我们拥有了更强大的科技力,不断推出对环境更负责的产品,同时提升安全性和可靠性。
创造力的体现方式多种多样,而有时就仅仅藏身于一个看似平凡的小盒子之中。
通过驾驶我们的电动汽车测试得出,Faraday Future 梯度逆变器可以实现比友商同类产品高出20%到30%的能量密度,换言之,在同样的电源荷载重量基础上,我们可以额外转换出20%到30%的动力。
史海拾趣
|
电源技术对电子变压器的要求,像所有作为商品的产品一样,是在具体使用条件下完成具体的功能中追求性能价格比最好。有时可能偏重价格和成本,有时可能偏重效率和性能。现在,轻、薄、短、小成为电子变压器的发展方向,是强调降低成本。从总的要求出 ...… 查看全部问答> |
|
在DSP的电机控制中,经常要用到方波输出,就是常说的PWM,PTO。一般的控制方式采用的是使用2812的EV单元去产生对称波形。但是在现代的一些控制领域,特别是位置控制领域,经常要实现开环控制脉冲个数,并产生多种频率的脉冲输出。EV是很难实现的。 ...… 查看全部问答> |
|
菜鸟才接触89c51,写的如下代码,但是中断不响应,我在INT0输入的是方波信号,还有这块是16位寻址哈 也就是unsigned int 型最大值是65536哈,我想是让int0为高电平时,计数器开始计数,当int0下一个高电平到来 之后计数器重新计数,一直这样循环 ...… 查看全部问答> |
|
下载bootloader要擦除flash(spansion s29gl032a) 汇编写的 flash容量4M 扇区:8x8k,63x64k bootloader只用了64k,故只擦除了前64k,结果时间很长,要60s左右 经过测试发现: 擦除大小 时间 8k 7s 16k&n ...… 查看全部问答> |
|
下面这个框图是UC2843芯片的内部框图,现在想请教的是反馈电压、反馈电流和输出占空比的计算公式,手册上都没有介绍这个计算关系到底是什么样子的。谢谢!… 查看全部问答> |
|
晒WEBENCH设计的过程+Arria系列10AT090电源驱动电路设计 需求:输入,14到22V 输出: # Name VLoad ILoad Description 1. LOAD #1 3.3 V 0.5 A VoutRipple=10% 2. LOAD #2 5 V 0.5 A VoutRipple=10% 3. VCC 0.9 V 41.304 A VoutRipple=10% 4. VCCA_PLL 1.8 V ...… 查看全部问答> |
|
使用该芯片编写串口接收,可进行串口扫描接收,无法进入中断接收!请高手帮忙。程序配置如下: void USART1_Config(void) { GPIO_InitTypeDef GPIO_InitStructure; USART_InitTypeDef ...… 查看全部问答> |




