历史上的今天
今天是:2024年10月22日(星期二)
2019年10月22日 | 适用于PLC/DCS应用,支持HART和Modbus连接的模拟I/O系统
2019-10-22 来源:EEWORLD
评估和设计支持
电路评估板
CN-0414电路评估板(EVAL-CN0414-ARDZ)
CN-0418电路评估板(EVAL-CN0418-ARDZ)
CN-0416电路评估板(EVAL-CN0416-ARDZ)
ADALM-UARTJTAG板
Arduino尺寸开发平台(EVAL-ADICUP3029)
设计和集成文件
PLC/DCS Wiki用户指南
原理图、布局文件、物料清单、软件
电路功能与优势
可编程逻辑控制器(PLC)和分布式控制系统(DCS)被用于监测和控制工业自动化应用中的智能(支持HART)和模拟现场仪器仪表。
图1所示的电路是一个简单的DCS系统,由一台主机、一个单节点、两个4通道隔离模拟输入板和两个4通道隔离模拟输出板组成,这些板由Arduino尺寸基板在本地管控。RS-485收发器连接至PC或其他主机,如此,用户可以使用Modbus协议与节点交换数据。
模拟输入数据从本地读取,通过使用行业标准Modbus协议的串行接口提供,确保在一系列软件应用和库中,保证数据完整性和可兼容性。同样地,模拟输出通过向Modbus寄存器写入来置位,然后被转换为模拟电压或电流信号。
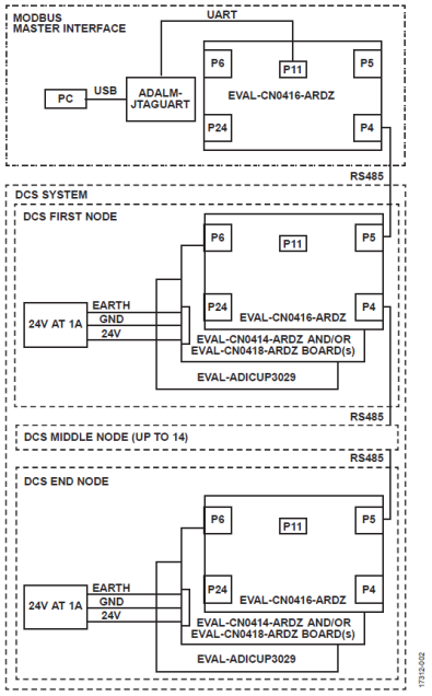
每个节点可以支持4个模拟输入和输出板的组合。如图2所示,最多16个节点的多节点系统在设计时,可以使用提供的硬件和软件基础架构。该电路支持点对点HART通信,可以扩展为多分转站HART网络,在同一通道上集成多个HART器件。
每个板(4个一组)的模拟输入和模拟输出都实施电气隔离,模拟输入支持开路检测,简化了故障检测和诊断过程。在严峻的工业自动化环境中使用时,这些功能可以增强可靠性和耐用性。

图1.PLC(或单节点DCS)Modbus系统功能框图

图2.多节点DCS Modbus系统功能框图
电路描述
该应用侧重于展示受Modbus主机管控的PLC/DCS系统的开发,并且通过示例说明如何使用重要组件的最新功能。单节点系统通常被称为PLC,更大型的系统则通常被称为DCS。
每个节点可以管控多达16个模拟现场器件、传感器或驱动器(兼容HART或仅支持模拟),系统可以扩展,最多包含16个单独的节点。该系统也可用于通用精密模拟数据采集应用,例如仪器仪表、模拟数据记录,或测试和测量。
PLC/DCS拓扑
支持多个连接拓扑。在单节点(PLC,或单节点DCS)系统中,主机可利用micro-USB电缆,直接连接至EVAL-ADICUP3029平台板的USB串行端口,非常适合要求主机和节点之间距离小于2米的实验室测试和测量应用。
在这个点对点拓扑中,电路板四个一组的模拟输入和输出仍然与主机保持隔离。虽然一般来说与实验室设备不相关,但Modbus协议提供一种方便、标准的与节点通信的方法。HART连接支持对智能传感器和驱动器实施配置。
主机和节点之间的距离增大到2米以上时,信号完整度、噪音拾取和电气故障会成为更严重的隐患。在这些情况下,EVAL-CN0416-ARDZ为主机提供可靠的RS-485连接。在单节点、点对点系统中,支持在1 km以上距离中进行全双工或半双工通信,具体由波特率决定。
对于多节点系统(称为DCS更加合适),EVAL-CN0416- ARDZ提供菊花链端口,支持可切换的半/全双工操作和可切换的端电极,因此系统可以集成2到16个节点。
因为Modbus被用作串行通信协议,以通过串行链路,在器件之间发送信息,因此无论规模大小,都可以实现简单、可靠且耐用的系统。PLC/DCS应用的硬件协议栈包含三个不同的参考设计。
模拟输入板
图3所示的CN-0414用于测量4个全差分信号,或者测量8个单端电压和4个电流信号。该电路的核心是AD4111低功耗、低噪声24位Σ-Δ模数转换器(ADC),集成了±10 V和20 mA模拟前端。
其电压输入支持最高±10 V的输入范围。AD4111具有独特的特性,支持在±10 V电压输入上进行开路检测,同时采用5 V或3.3 V单电源供电,而之前的解决方案一般都需要大于±10 V的电源。
电流输入支持0 mA至24 mA输入范围。电路的输入阻抗为250 Ω(AD4111内部为60 Ω),所有输入都以绝缘接地为基准。电流输入上需要250 Ω输入电阻,以使符合HART要求的AD5700-1调制解调器可与AD4111配合使用。
电路的模拟前端AD4111和AD5700-1通过ADuM5411和ADuM3151与处理侧隔离,相比基于分立式变压器的解决方案,能够节省大量空间。
CN-0414板由9.5 V至36 V直流电源供电,这在工业自动化系统中非常典型,因此能够轻松集成到您的系统之中。

图3.模拟输入板
模拟输出板
图4所示的CN-0418是一款4通道电压和电流输出板,以具备动态功率控制功能的AD5755-1 DAC为基础构建。
此电路提供4 mA至20 mA电流输出,以及单极性或双极性电压输出(±10 V)。此板还配有AD5700-1 HART调制解调器,提供完整的支持HART连接的模拟输出解决方案。 同时还包括外部瞬变保护电路,这对恶劣工业环境中的应用极其重要。
电流输出和电压输出通过独立引脚提供,一次仅一个输出处于有效状态,因而允许将两个输出引脚连在一起并接到单个端口上。模拟输出受短路和开路保护。
AD5755-1集成基于DC-DC升压转换器电路的动态电源控制功能,在电流输出模式下可降低功耗。
AD5755-1有四个CHART引脚,分别对应于四个输出通道。HART信号可以耦合至这些引脚,并出现在对应的输出端(如果该输出已使能)。

图4.模拟输出板
RS-485收发器板
图5所示的CN-0416是一款隔离和非隔离式RS-485收发器板,能够在多个系统或节点之间轻松实施数据传输,尤其是在长距离下。
该电路使用ADM2682E RS-485收发器来进行隔离通信,使用LTC2865 RS-485来进行非隔离通信。 这两种器件都可以配置进行全双工或半双工操作,具备开路或端接传输线。
该电路采用板载式RJ-45插孔,因此能够使用常用的CAT5以太网电缆,快速和节点物理连接。端电极电阻被默认设置为CAT5电缆的特性阻抗100 Ω,但在配置之后,可以支持标准RS-485电缆的120 Ω阻抗。
ADM2682E的数据速率可以达到16 Mbps,提供真正安全的接收器输入和经过调整的差动电压阈值。它使用iCoupler数据通道,提供5 kV信号隔离,利用isoPower集成式DC-DC转换器,提供5 kV电源隔离。
LTC2865的数据速率可以达到20 Mbps,提供真正安全的接收器输入。由一个内部窗口比较器确定安全状况,无需调节差动输入电压阈值。

图5.RS-485收发器板
兼容HART的现场器件的接线

图6.兼容HART的现场器件的接线
HART网络
HART器件可在点对点或多分转站这两种网络配置中的一种运行。
在点对点模式下,4 mA至20 mA信号被用于传输一个过程变量,而额外的过程变量、配置参数和其他器件数据则通过HART协议以数字方式传输。4 mA至20 mA模拟信号不会受到HART信号影响,可用于实施控制。HART协议提供访问辅助变量和其他数据的权限,这些数据可用于实施操作、调试、维护和诊断。
Modbus协议
在EVAL-ADICUP3029上运行的软件采用Modbus协议——一种事实上的开放型工业通信标准。Modbus提供一种与单个节点交换数据的可靠方式,通过CRC误差检测来确保数据的完整性。作为一项开放标准,存在众多可用的开放源和商用Modbus软件库,适用于各种平台(例如Windows®、Linux®、嵌入式平台等)。
这些软件也提供简单的命令行接口(CLI)模式,使系统能够从串行端口手动验证,无需主机上装载任何额外的软件。
硬件和软件协议栈
PLC/DCS节点系统软件和硬件协议栈如图7所示。

图7.PLC/DCS节点系统软件和硬件协议栈
配置PLC/DCS硬件之后,用户一般会根据语言(例如C、Python、MATLAB)和主机平台(例如Linux、Windows、嵌入式平台)选择适用的Modbus库。然后,必须编写简单的测试应用程序,将模拟和HART参数转化为Modbus寄存器地址和值。
CN-0435用户指南提供此应用程序的Modbus寄存器映射的完整描述,并使用开源Modbus调试器来验证Modbus的合规性。
此外,还提供多个基于开源Modbus库的顶层应用,包括:
检测系统配置:查询所有Modbus节点,显示配置。
读写输出保持寄存器:检查或更改所有受检测板的输出保持寄存器的状态。
读取模拟输入寄存器:检查所有受检测板的输入寄存器的状态。
读取模拟数据:读取单个模拟输入或所有模拟输入,在控制台显示数据。
写入模拟数据:写入模拟输出,以产生电压或电流。
模拟回波:读取模拟输入板的模拟电压或电流,然后将相同数值的模拟电压或电流写入模拟输出板。
常见变化
CN-0435软件读取模拟输入值和写入模拟输出值,无需实施本地处理。该软件可以扩展包含故障检测和响应等功能,或者包含闭环PID控制环路,从主机上卸载这些功能,节省通信总线的带宽。
树莓派可以用作结构紧凑、价格低廉的主机解决方案。树莓派提供有线或无线以太网连接,可以直接连接至EVAL-ADICUP3029的USB-UART。
如今最常用的三种Modbus版本分别为:Modbus ASCII、Modbus RTU和Modbus TCP。所有Modbus消息都采用相同格式发送。这三种Modbus类型的唯一区别在于消息的编码方式。
可以通过Modbus连接的器件的数量由物理层和数据协议决定。如果RS-485物理层和Modbus RTU或Modbus ASCII数据协议一起使用,那么可以寻址的节点的最大数量为32,但是,如果以太网物理层和Modbus TCP数据协议一起使用,则可以寻址的节点为247个。
器件的地址是从0至247的数字。发送至地址0的消息(广播消息)会被所有从机接受,但1到247这些数值是特定器件的地址。
CN-0414和CN-0418的Arduino尺寸确保与支持广泛的其他自动化通信协议的开发平台兼容,包括过程现场网(PROFINET)、过程现场总线(PROFIBUS)、控制自动化技术的以太网(EtherCAT)、EtherNet/IP、Modbus Plus,以及其他协议。
电路评估与测试
以下部分将介绍采用参考演示所需的设备和一般步骤。可使用软件的CLI选项,来装配DCS系统并测试其基本功能。如需查看完整说明和附加信息,请参阅分布式控制系统(DCS)演示Wiki用户指南。
设备要求
需要以下设备:
具有USB端口和Windows 7(32位)或更高版本的PC
串行终端程序,如TeraTerm或Putty
一个或多个EVAL-CN0414-ARDZ电路评估板,和/或一个或多个EVAL-CN0418-ARDZ电路评估板,适用于每个节点
一个或多个EVAL-CN0416-ARDZ电路板,适用于Modbus接口,另一个EVAL- CN0416-ARDZ板,适用于每个节点
一个ADALM-UARTJTAG评估板,带有一个附加EVAL-CN0416-ARDZ板(或其他半双工RS-485适配器)
一个EVAL-ADICUP3029评估板,适用于每个节点
Micro USB电缆
一根RJ-45电缆,用于RS-485接口,另一根电缆用于每个节点
PLC系统软件或预置的十六进制文件
1 A电源时采用24 V直流电压
开始使用
以下是基本设置步骤:
将EVAL-ADICUP3029的USB电缆插入PC,然后将固件闪存到使用的每个电路板上。
配置硬件。遵循分布式控制系统(DCS)演示Wiki用户指南。确保正确设置每块板上的跳线和开关。或者,对于模拟输入板,连接传感器或信号源,对于模拟输出板,则连接执行器或万用表。
对于每个节点,按以下顺序将平台和扩展板堆叠在一起:
EVAL-CN0416-ARDZ(顶部)
EVAL-CN0414-ARDZ或EVAL-CN0418-ARDZ(可选)
EVAL-CN0414-ARDZ或EVAL-CN0418-ARDZ(可选)
EVAL-CN0414-ARDZ或EVAL-CN0418-ARDZ(可选)
EVAL-CN0414-ARDZ或EVAL-CN0418-ARDZ(可选)
EVAL-ADICUP3029(底部)
4.在节点和RS-485适配器(可能是ADALM-UARTJTAG和EVAL-CN0416-ARDZ)之间连接RJ-45电缆。
5.将RS-485适配器连接至主机。
6.按3029_Reset按钮,或重新启动系统。
如需查看完整细节,请参阅分布式控制系统(DCS)演示Wiki用户指南。
功能框图

图8.单节点PLC模拟I/O系统

图9.DCS模拟I/O系统
史海拾趣
|
本人想做一个最简单的在“手持终端”上运行的程序(在wince5.0上),请帮助。 用的语言最好是C#,或VB.net。 程序要求在终端上运行,当扫一个条码后,在程序界面上要显示出这个货品(通mdb或什么文件记录货品编号和名称),然后在数量栏位录和数量,按保存,把这条信息记录下来(记在一个文本文件就行)。就这么个功能。 ...… 查看全部问答> |
|
关于first-chance exception in **.exe access violation的问题 大侠好! 我在EVC4.0下面建了一个“WCE Dynamic -Link Library\"的工程,然后再建一个MFC的应用程序,用应用程序调用动态库(dll),在动态库中的WM_PAINT消息中执行第一条语句时,就出现了如题所示的异常,请问一下,怎么解决啊? 拜谢。… 查看全部问答> |
|
我用 CreateProcess(\"\\\\Windows\\\\pword.exe\", sPath, IntPtr.Zero, IntPtr.Zero, 0, 0, IntPtr.Zero, IntPtr.Zero, new Byte[128], pi);打开了一个文档,想在打开的时候使文档的属性为只读,该如何实现呢,找了很多方法都不行。 请各位大侠 ...… 查看全部问答> |
|
蓝牙音频网关bluetooth audio gateway? 最近我在学习WINCE5.0下的蓝牙应用。 所用的软件和硬件为: WINCE5.0 PXA270 DBT-120 USB bluetooth adapter. MOTO h320 首先我选中以下环境变量编译出一个内核: SYSGEN_BTH=1 SYSGEN_BTH_AG=1 SYSGEN_BTH_CSR_ONLY=1 SYSGEN_BTH_GATEWAY ...… 查看全部问答> |
|
wince Tiny kernel工程如何让其支持standard shell 新建一项目,基于mobile phone,它是支持standard shell的, 可以编译成功,但新一个wince Tiny kernel 工程,加入standard shell catalog后,编译总是通不过,build.log里: coredll.def : error LNK2001: unresolved external symbol CeClearUser ...… 查看全部问答> |




