历史上的今天
今天是:2024年10月23日(星期三)
2019年10月23日 | 高分辨率示波器的低失真测量
2019-10-23 来源:eefocus
用PicoScope 4262高分辨率示波器来进行故障查询及测试。
基本的故障查询
PicoScope4262是一款高分辨率示波器,它非常适用于一般情况下的故障查询。有两个输入通道,可以在同一时间内显示信号在时域和频域内的视图。光谱视图中提供了自动测量的一些数据,包括失真度和噪声。
动态范围
在大多数的数字示波器中,从模拟到数字的转换器都只有8位分辨率,可产生256个量化水平。这相当于是一个理想的48dB的动态范围。PicoScope4262有一个16位分辨率模拟到数字的转换器,可以产生65536个量化水平,动态范围增加到96dB。
96dB是理论中的最佳值,但在实际中,采集系统中会有一些噪音,这些噪音会减小实际的动态范围。
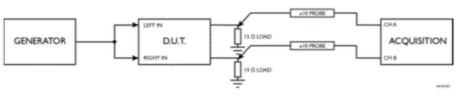
信号发生器和采集系统的动态范围是通过将信号发生器的输出直接连接到A通道的输入上来进行测量的,如图1所示。

图1 通过将信号发生器的信号输出到示波器中来测量动态范围

图2显示的是PicoScope中的频谱图
这是通过在时域中采集正弦波信号,然后点击频域按钮得到的。
为了测量出动态范围,我们需要将A通道的两个标尺(由Y轴上的蓝色方块进行控制)和信号的峰值和噪声层对齐。通过计算两个标尺之间的差值,标尺框中会给出动态范围,大约为-98dB。
检测波形失真
这个测试检测的是立体声放大器的失真度。它展示了PicoScope示波器如何自动检测谐波,即使是在时域波形看起来很整洁的情况下。PicoScope4262有足够的动态范围可以去捕捉这些信号中是否含有噪音或者是否产生失真。

图3 失真检测设置
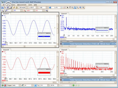
图4和图5展示了PicoScope显示屏被被分为4个视图:两个通道中每个通道的时域图和频域图。每个视图都可以通过在默认视图上点击右键并选择添加视图进行添加。

图4 通道A和B的四个视图,通道B THD为 -61dB。在时域视图中看不到失真。

图5 增加通道A和B的输出功率水平,可以看到在一些信道中的谐波频谱图发生畸变
毛刺检测
PicoScope余辉模式对于捕获不必要的点或者音频信号故障是非常有用的。在普通示波器的显示中,这些信号在屏幕上仅仅只有几分之一秒,所以很难进行准确的测量。余辉模式会导致旧波形在后台保持,同时新波形在上面继续更新。

图6 毛刺检测设置
1. 在PicoScope工具栏中点击余辉模式按钮
2. 去除设置的默认值或者通过点击余辉模式进行调整。
余辉选项中主要的选择是彩色余辉模式还是模拟精度模式。
彩色余辉模式,如图7所示,可以看出新的波形相对于旧的波形在颜色上更加鲜艳,更容易使故障脱颖而出。
模拟精度模式有一个类似的效果,但是使用的是一个颜色的不同深浅效果。这看起来更像是模拟余辉的显示效果。

图7 彩色余辉模式,以更加鲜艳的颜色展示毛刺信号
总结
PicoScope 4262的高分辨率使得它更适合用于检测低噪声、低失真信号,并为其内置的信号发生器移出额外信号源的需求。5MHz的带宽可以很快的分析音频、超声波和振动信号以及开关模式电源的特征噪声,并测量失真度,执行精密的测量任务
上一篇:5分钟读懂示波器的工作原理
史海拾趣
|
摘要:针对某些领域对三相程控高精度电源的需求,提出了一种三相功率源的设计方法。该方法主要利用单片EPROM实现三相稳定信号源的产生,采用同步跟随电源技术进行线性功率放大,采用功率合成技术实现大功率输出。测试结果表明该功率源波形失 ...… 查看全部问答> |
|
威盛694XB公版主板电路图,需要的朋友看看吧.... 威胜的那套图被黑客给黑掉了,我也没有了.换一套INTEL810E的吧.再过几天我会陆续在上一些PC主板的图的. [ 本帖最后由 西门 于 2009-5-15 22:32 编辑 ]… 查看全部问答> |
|
最近抽空整理了一些论坛的帮助帖,希望能对大家有帮助,不断完善中........ 大家多提意见,多问问题,我会帮大家找到答案并在帖子中逐步完善! 一、 &nbs ...… 查看全部问答> |
|
修改C:\\WINCE500\\PRIVATE\\WINCEOS\\COMM\\BLUETOOTH里面的代码,进行全编译都编不进去 有什么办法可以截获蓝牙耳机按键消息吗?… 查看全部问答> |
|
高手进来指导下。我用C语言写了两天的日历时钟,有闹钟功能、计时功能。 #include #include #define UCHAR unsigned char #define UINT unsigned int void init(); void delay(UINT); void displayWeek(UCHAR week); void displayTime(UCHAR first, UCHAR second); void writeCmd(UCHAR cmd); void writeData(UCHAR dat) ...… 查看全部问答> |
|
8086微处理器课程中,在介绍存储器20位地址的形成时,说16位段寄存器中数据左移四位后再与偏移值相加,那么左移四位后前四位不是溢出了吗?如原来是ABCDH,左移后为BCD0H,不会为ABCD0H啊?… 查看全部问答> |




