历史上的今天
今天是:2024年11月09日(星期六)
2019年11月09日 | 2440裸机编程之八 UART通用异步收发
2019-11-09 来源:51hei
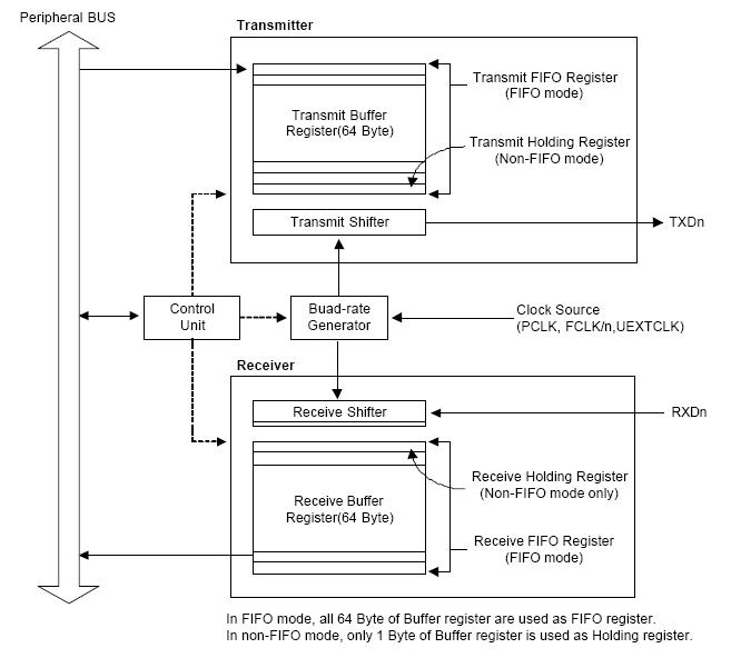
S3C2440A 内部集成的UART(通用异步收发器)单元提供三个独立的异步串行I/O端口,也就是通常所说的串口。串口是用途广泛的通讯口,很多工业现场总线都以串口为基础。在这里,串口不仅可以用来与外部设备进行数据通讯,还可以用来观察系统的运行状况,例如前面已经使用过的利用串口终端工具观察程序运行情况的方法。 S3C2440A 的UART 单元提供三个独立的异步串行I/O 端口,每个都可以在中断或DMA 两种模式下工作。它们支持的最高波特率为115. 2 kbps。每个UART 通道包含2 个64 位FIFO 分别供接收和发送使用。
S3C2440A 的UART 具有以下可配置的参数项目:可编程的波特率,红外收/发模式,l 或2 个停止位,5 位、6 位、7 位或8 位数据宽度和奇偶校验位。每个UART模块包含以下几个部件:波特率发生器,发送器,接收器和控制单元。波特率发生器可以以PCLK、FCLK或UEXTCLK作为时钟源。发送器和接收器包含64字节的FIFO和移位寄存器。要被发送的数据,首先被写入FIFO,然后被拷贝到发送移位寄存器中,最后从数据输出端口(TxDn)依次被移位输出。被接收的数据也同样从数据接收端口(RxDn)依次被移位输入到移位寄存器,然后被拷贝到FIFO中。

这里以uart0简单介绍它的使用。
ULCON0 用于选择 模式、校验、停止位、数据位
UCON0 用于使能 发送、接收
UBRDIV0 设置uart0波特率,波特率 = PCLK/(UBRDIV0+1) /16
UTRSTAT0 接收和发送完毕的标志,用于软件查询
URXH0 接收数据寄存器,存放接收到的数据
UTXH0 发送数据寄存器,用于发送
这是个uart0的简单收发程序:
//********************************************************************
#define bps 115200
char ch;
void Main(void)
{
int i;
……硬件初始化……
uart0_init();
Uart_Printf(" uart串口实验nnn");
Uart_Printf(" 请发送一个字符n");
while(1)
{
ch=receive_byte();
transmit_string("你刚发送了:");
transmit_byte(ch);
transmit_byte('n');
}
}
void uart0_init(void)
{
rGPHCON = rGPHCON & ~(0xf<<4) | 2<<4 | 2<<6 ; //GPH2、3 选为 TXD、RXD
rUMCON0 = 0x0; //关闭控制流功能
rULCON0 = 0<<6 | 0<<3 | 0<<2 | 3; //普通模式、无校验、1位停止位、8位数据位
rUCON0 = 1<<2 | 1; //发送模式:允许、接收模式:允许
rUBRDIV0=(U32)(PCLK/(bps*16))-1; //设置波特率,pclk 为ARM 时钟频率,bps 为传输波特率
}
char receive_byte(void) //接收一个字节
{
while(!(rUTRSTAT0&0x1)); //等待接收到数据
return rURXH0&0xff; //返回数据
}
void transmit_byte(char data) //发送一个字节
{
while(!(rUTRSTAT0 & 0x2)); //等待发送缓存区为空
rUTXH0=data; //发送数据
}
void transmit_string(char* p) //发送一个字符串
{
while(*p != '




