历史上的今天
今天是:2024年11月20日(星期三)
2019年11月20日 | AMS推出具有PSI5接口的新型汽车级磁位置传感器
2019-11-20 来源:AMS
全球领先的高性能传感器解决方案供应商艾迈斯半导体公司(ams AG,瑞士股票交易所股票代码:AMS)今天宣布推出具备双线PSI5接口的AS5172A/B磁位置传感器,可实现精确旋转位置测量数据的快速及安全传输。
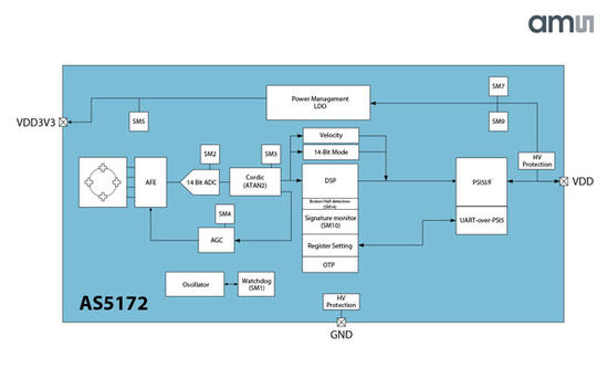
新的AS5172A和AS5172B系统级芯片(SoC)是360度非接触式的旋转磁位置传感器,能够提供14位高分辨率的绝对角度测量。根据汽车安全标准ISO26262,这两款传感器被开发为SEooC设备,并以广泛的片上自诊断系统为特色。这使AS5172A/B成为对安全性有较高要求的汽车应用的理想选择,帮助汽车系统满足最高级别的ASIL安全要求。
此外,AS5172A / B组件中的PSI5接口符合PSI5最新标准1.3和2.1的规定。
经AEC-Q100认证,AS5172A/B能够支持许多汽车远程位置传感应用,包括刹车和油门踏板位置感应、节流阀和节气门、转向角传感器、底盘悬挂高度传感器、废气再循环(EGR)阀和油位测量系统。
借助霍尔传感技术,AS5172A/B能够在圆周内正交分布的传感器阵列来测量磁通量密度,并补偿消除外部杂散磁场的影响,提供一个稳健的14位(0.022° 精度)传感器阵列和模拟前端为中心的稳健结构补偿外部的杂散磁场。AS5172A/B也能够通过编程以支持低至0-10°的全运动转角范围,为应用提供最佳分辨率。
高灵敏度的霍尔传感器前端还能使用小型且低成本的磁铁,并支持10-90mT的宽磁场输入范围。只需一个围绕封装中心旋转的简单两极磁铁就能几乎同步地提供磁铁绝对角度位置的信息。磁铁可被置于设备上方或下方。

AS5172A/B可在4V 至16.5V的宽电压范围内运作,并支持高达+20V的过压保护。此外,电源引脚在高达-18V的反极情况下仍能受到保护。AS5172A/B也可以借助器件上的VDD引脚通过单线UART连接PSI5接口实现简易编程,减少应用编程连接器的引脚数量。
艾迈斯半导体位置传感器市场总监Thomas Mueller表示:“汽车客户不断对接口和安全标准提出更高要求,AS5172A/B磁角度位置传感器的推出体现了艾迈斯半导体为满足客户需求所付出的不懈努力。具备PSI5接口和稳健嵌入式自诊断功能的AS5172A/B将成为帮助OEM厂商在远程角位置传感应用中达到最高ASIL安全等级的最佳解决方案。”
AS5172采用两种封装,TSSOP14封装(AS5172B)和SIP封装(AS5172A)。SIP封装(系统封装)集成了AS5172传感器晶圆与去耦电容器以提升ESD和EMC性能,免除对PCB的需要,帮助减少整体系统成本。AS5172A能够在-40°C 至125°C温度范围内运行,AS5172B则能在-40°C 到 150°C范围内运行。
史海拾趣
|
------------------------------------------------------------------------- 1. 硬件构件 独立编程的实体就是硬件构件,硬件构件分为内部构件和外部构件,内部构件比如系统初始化、定时器、Flash、串口等,外部构件比如LED、开关、按钮、电机 ...… 查看全部问答> |
|
在Kiel做仿真测试:芯片AT89C51,振荡频率设置为12MHz 一个指令周期为振荡频率的1/12,所以为1MHz,对其取倒数既1*10^-6s为其一个指令执行时间. 我们用DJNZ来做延时,因为指令要消耗2个指令周期,所以指令执行时间是2*10^-6s. 如果要延时10S,做三层循 ...… 查看全部问答> |
|
求救!有关WinCE6.0 R2 NandFlash驱动的新架构MDD+PDD+FMD的问题 现在NANDFlash驱动的新架构MDD+PDD+FMD已经抛弃了旧的分区驱动mspart和MBR格式,采用region+partition的概念,整个nandflash分为多个region,每个region又可分为多个partition,每个region的开头有一个分区表。 有哪位达人知道这个分区表的格式? ...… 查看全部问答> |
|
请回答时能加上哪张图和标题,麻烦了谢谢。分不够我在加。 [img=http://pic.wenwen.soso.com/p/20100615/20100615121134-105367426.jpg[/img]… 查看全部问答> |
|
请教各位,我写了一个多用户的驱动,就是那种可以多个应用同时打开的驱动,,然后每个应用都用轮训的方式从驱动那里得到数据,我在驱动中为每个调用者都创建了一个BUFFER,然后谁来读,我就COPY里面的数据给他。。结果我发现当我多个应用打开的时候 ...… 查看全部问答> |
|
2012年7月份的三场行业盛事:安富利电子元件亚洲的X-fest 2012 技术研讨会在北京开始第一站。2012年飞思卡尔智能车大赛在华南赛区拉开帷幕。2012 ARM® 嵌入式开发应用研讨会在上海开始第一站。 ...… 查看全部问答> |




