历史上的今天
今天是:2024年12月23日(星期一)
2019年12月23日 | 技术文章—集成化芯片在相控阵beam-forming中的应用
2019-12-23 来源:EEWORLD
现代通信领域中,beam-forming技术有着非常广泛的应用。在5G通信、相控阵雷达、卫星通信等方面也越来越受到工程师们的重视。
波束成形(beamforming or spatial filtering)是传感器阵列中用于定向信号传输或接收的信号处理技术。这是通过将天线阵列中的元件以特定角度的信号经历相长干涉而其他经历相消干涉来实现的。波束成形在发送端和接收端都可以使用,以实现空间选择性。工程师利用波束成形技术已经有相当久的历史,比如使用波束来补偿信道衰减的卫星通讯。卫星和地面接收天线的距离非常远,信道衰减非常大,于是卫星信号到达地面时能量已经非常小,甚至比热噪声还要低。因此,我们需要想方设法提高接收卫星信号能量。当卫星的信号向空间全方向辐射时,绝大多数能量并没有被地面天线接收到,而是被浪费了。为避免这种浪费,我们在接收和发射卫星信号时都会使用波束成形。这样,发射的电磁波信号都集中在一个方向上,只要接收天线能对准这个方向,就可以大大提高接收的卫星信号能量。
相控阵天线的beamforming技术(如图1描述),我们可以线性或二维地对N个天线阵列进行波束赋形配置,并以电子的方式,智能地控制阵列中每个单独天线的幅度和相位激励,以产生指向所需方向的波束。在物理结构固定不变的情况下,相控阵天线能够快速无惯性的进行波束成形和波束扫描。


图1
针对卫星通信领域的相控阵系统,技术型授权分销商Excelpoint世健公司的工程师Rain Cai向我们介绍了一款世健代理的ADI公司的相控阵beam-forming集成化芯片,可以为广大卫星通信客户提供新一代的系统化解决方案(如图2)。该系统方案包含天线前端的多通道幅相控制集成套片ADAR1000、上线变频混频器LTC5548/LTC5549、本振PLLVCO集成芯片ADF5356/ADF5610、低频2T/2R 收发集成套片ADRV9009。相比传统的超外差方式,节省数十颗芯片就能完成对整个收发系统的研发设计,大大缩小了整个通信系统的体积和功耗。

图2
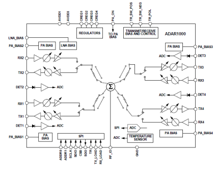
下面,Rain重点介绍相控阵前端的有源天线幅相控制方案ADAR1000。ADAR1000是一款适用于相控阵的 4 通道 X 和 Ku 频段波束形成芯片。该器件在接收和发射模式之间以半双工状态工作。在接收模式下,输入信号通过四个接收通道后在公共 RF_IO 引脚上组合在一起。在发射模式下,RF_IO 输入信号拆分后通过四个发射通道。在这两种模式下,ADAR1000 在射频 (RF) 路径中都提供 ≥31 dB 的增益调整范围和完整 360° 相位调整范围,分辨率优于 6 位(分别低于 ≤0.5 dB 和 2.8°)。并且支持存储最多126个波束的各通道增益相位信息,支持相控阵雷达和通信系统的设计人员利用电调扫描的方式来取代原来庞大的机械转向天线平台。ADAR1000每一路通道都集成有低噪放(或功率放大器)、移相器、可变增益放大器。4通道ADAR1000有源天线波束成形芯片可取代天线相位增益调节和数字控制所需的12个分立元件,显著的简化了监控、卫星通信所用的相控阵雷达系统尺寸、重量及功耗。尤其是使用ADAR1000在平面阵列中,使得装配于不同平台的平面阵雷达具有极强的竞争力。
ADAR1000原理框图如下图3所示。除核心的4T/4R幅度相控控制以外,ADAR1000集成套片还包含温度检测、功率检测功能,并且为可能需要外挂的大功率功放管以及LNA提供bias供电电压,这将进一步减少工程师在PCB设计时的电源控制难度以及PCB尺寸。

图3
最后,Rain介绍了一个具体案例:世健公司的某最终用户希望减小30%相控阵天线总体重量,针对这一需求,世健向其推荐了ADAR1000集成芯片,成功解决了设计难题。使用4通道的ADAR1000替换掉原有的分立元器件方案,将系统尺寸和重量减小30%以上。使得整套卫星系统能够更为便捷的搭载船舶、飞机等大型交通运输工具。下图(4)为该客户实测ADAR1000的VSWR、phase error、Gain随频率变化曲线:

图4
从测试结果可以看出,尽管ADAR1000在7X7mm的封装尺寸内对以前的12颗分立元件进行集成和替代,但性能并没有随着高集成度而降低。客户对整体性能和成本都非常满意。并提出未来8通道、16通道的集成化芯片预期。
ADAR1000在相控阵天线前端的beam-forming设计中有着非常卓越的性能,使得这一类型的集成化套片在大型相控阵雷达以及卫星通信应用中成为主流方案。为此,可以预见到,在不久的未来,更多通道、更高频率以及带宽的多功能集成套片将会推向市场,多个单元的天线阵列尺寸、功耗将进一步减小。
史海拾趣
|
有分析师认为,智能手机操作系统的市场正趋于开源化;此外,苹果和RIM的封闭系统也在不断壮大,微软正面临两面受困的局面。 在去年11月底以2亿美元收购联想移动后的短短1个多月,昨日,联想集团正式发布其移动互联网战略———“乐计划”,并推出 ...… 查看全部问答> |
|
心得分享:周末仔细研究了一下Stellaris的数据书,终于学会了如何使用外接的SDRAM 周末仔细研究了一下数据书,从里面的蛛丝马迹里理解领会,终于找到了答案。 事后觉得答案十分,因为这个可能会的人不大愿意回答: 1、初始化EPI接口时需要指定EPI的工作模式:SDRAM接口或 ...… 查看全部问答> |
|
各位大虾! 我的程序一开始在各款手簿上(都是Wince操作系统)都可以以Debug方式调试,但是随着程序不断变大,慢慢有些手簿出现无法调试的情况,例如多普达828、多普达696、还有一些工业手簿等。 Debug调试时,程序 ...… 查看全部问答> |
|
一、ecc 和 spare area 格式的疑问: 具体是这样的: 在代码里面我看到这样的操作 在系统启动的时候,调用flash驱动,进行预留块的读操作,此时读的是spare area, 因为,我的flash是大页的,坏块标记是在列地址为2048的位置,就是sp ...… 查看全部问答> |
|
在2600A系列数字源表中,对内存读取速率的最大测量值增加了两倍,必定需要更多的读数缓冲存储器。除了增加2600A系列数字源表[1]的内部数据缓冲存储器,还需要添加前部面板USB端口,以便于用户访问更多的内存。为了满足存储需求,用户现在可以从多 ...… 查看全部问答> |




