历史上的今天
今天是:2025年01月19日(星期日)
2020年01月19日 | 特斯拉意外情况是否能实际控制?
2020-01-19 来源:eefocus
随着特斯拉成为美国汽车行业的市值最高,且远超 GM+Ford 的市值,法律界和道路管理层面对它的事也会越来越多。最新的美国国家公路交通安全管理局(NHTSA),针对美国 Tesla 3 款车可能会意外加速的事情,准备开始调查。这是由独立投资者 Brian Sparks 提交的一份 127 起事故合集,可能导致了 110 起撞车事件和 52 人受伤。
1)NHTSA 网站的故障抱怨
从目前的网站上来看,随着使用范围的深入,不同的客户和不同的场景都有这种非预期加速的抱怨存在,有些造成了事故,有些没有。这里特斯拉统一的处理办法,是高速大家,我们有车辆日志数据,是由驾驶员误踩油门造成。在大部分场景下,我们都认为都是司机比较新手,要么之前开的是老爷车对特斯拉这种点点油门就要飞出去的车不了解。
我把这 120 多个案子的概述放到了知识星球里面,这确实是真是实际车主存在的投诉,实际上还存在一些没写上去的。
2)特斯拉突然加速日志数据
Ronald A. Belt 写过一篇《Tesla Sudden Acceleration Log Data What It Shows》的文章,里面。在这篇文章里面,作者后半部分是根据一个典型的控制场景来做的分析,主观臆断的成分比较多。但是这个数据如果后续 NHTSA 向特斯拉全部问询清楚的话,如果出现一定的重复性,这个事情就很有意思了。如下图所示,特斯拉在车里设置了总线数据记录仪,所以可以记录车辆的事件。从驾驶员的角度来说,在行驶过程中没有踩油门踏板。

图 1 Tesla S 突然意外加速期间记录的加速踏板传感器数据
我们现在来看这个图,在这个图里面看到,在 t = 3.5 秒到发生撞车事故的 5 秒钟,这车是被撞停的。这里最大的问题,是这个油门他把是如何从 0%的开度一下突然提升到 97%,然后造成了司机的反应在 5 秒以后才有刹车的行为。而且在这个过程里面,连续出现了几个周期性的 1 秒为 0 开度,一秒又踏上了油门踏板。油门信号是 100ms 发送一次并被记录下来。
特斯拉目前一般只提供给驾驶员这一段 CAN 的日志数据。而在逆变器里面,对传感器的模拟信号的采集窗口的原始信号的数据是不披露的。而 NHTSA 在丰田的调查事故中,是要求企业提交逆变器控制器里面的诊断数据,以确认实际的控制策略问题,还是真正的信号。如果我们对这个数据进行质疑,只有把这个周期性 CAN 上的开度,和模拟信号诊断的数据(AD 采集出来的数据进行比对)才有比较好的效果。

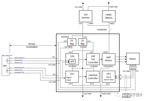
图 2 特斯拉的 Model S 逆变器输出图
实际上,我们也不太清楚,特斯拉在逆变器中整合 VCU 功能里面,对于这类关键安全功能电路到底设计的如何,文章里面给出的参考的油门踏板读取的电路,在 5V 电源方面是否按照要求,以独立双路的设计来做,在这 127 例里面到底有哪些真实的数据。

图 3 文章里面给出的参考的油门踏板读取的电路
小结:我觉得在 NTHSA 仔细调查以后,特别是在不同的车速和场景下,这些总线上的油门踏板 CAN 数据和逆变器里面真实的模拟采集量的诊断数据能够披露出来,我们能对这些事故有一个清晰的判断。
史海拾趣
|
在wince上跑应用软件,界面一多CEdit控件就刷新慢,能不能有像图片复制那样的方法来对这些控件进行处理?取得焦点问题如何解决?请问哪位大侠有过此经验,能否说来分享分享?谢谢… 查看全部问答> |
|
syntax error at or near symbol \\\'.\\\' 这是怎么回事啊? 出问题的语句是这样的 .title \\"vectors.asm\\"… 查看全部问答> |
|
自己做的LM3S9B92开发板,连着JLINK时程序正常运行,去掉JLINK就不运行了,求解释。。。 注:没有使用JTAG防死锁,是因为这个原因么? 【复位电路未正常复位,链接JLINK时由JLINK提供复位信号。修改电路后一切正常。】 [ 本 ...… 查看全部问答> |
|
什么是 ADC? “ADC”Analog-to-Digital Converter 的缩写,指模/数转换器或者模拟/数字转换器。真实世界的模拟信号, 例如温度、压力、声音或者图像等,需要转换成更容易储存、处理和发射的数字形式。模/数转换器可以实 现这个功能。 什么是 DA ...… 查看全部问答> |




