历史上的今天
今天是:2025年02月11日(星期二)
2020年02月11日 | 超小口径涡街流量计的原理及设计
2020-02-11 来源:elecfans
内容说明
本发明涉及流量测量技术领域,尤其涉及一种超小口径涡街流量计。
发明背景
涡街流量计技术自20世纪70年代发明以来,已经成为流量计量领域的一种关键仪表,目前国内外知名流量计生产厂家都有系列化的多种口径规格的涡街流量计,但最小只能制造DN15口径,可测气体最小流量仅为4m3/h ,可测液体流量仅为0 .3m3/h。再小口径如:DN10、DN8、DN6等或测更小流量的涡街流量计尚属空白,而市场对于更小口径的涡街流量计测量更小流量的要求越来越多,如科研院所实验室、精细化工、生物制药、轻工纺织行业等的要测量更小的气体、液体或蒸汽流量计量或试验等需要。
发明说明
本发明目的就是为了弥补已有技术的缺陷,提供一种超小口径涡街流量计。
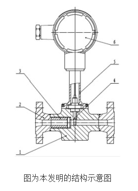
本发明是通过以下技术方案实现的: 一种超小口径涡街流量计,包括有测量管表体、对焊法兰、旋涡发生体组件、流量传感器和流量积算仪,所述的测量管表体的左右端分别与对焊法兰焊接连接,所述的旋涡发生体组件安装在测量管表体内腔的入口处,在测量管表体的侧面径向开有通孔,流量传感器通过通孔伸入到测量管表体内,在测量管表体外侧固定有支撑筒柱,所述的支撑筒柱罩住流量传感器,在支撑筒柱的顶部安装有流量积算仪,流量传感器的信号线穿过支撑筒柱与流量积算仪连接,流量传感器的输出信号即通过此办法进入积算显示单元进行信号处理后完成同频率的脉冲信号输出及流量积算显示。

所述的旋涡发生体组件包括有测量套管,在测量套管的内腔内径向镶装有主旋涡发生体,在主旋涡发生体的后侧设有辅旋涡发生体,所述的主旋涡发生体为梯形柱状,所述的辅旋涡发生体为流量传感器的末端插入测量管表体内的部分。
本发明所述流量传感器的安装要求是传感器下端末到流通管壁距离要求为0 .2-1mm。更好地保证了辅旋涡发生体的起旋效果,使得旋涡信号更强,拓展了流量计的适当量程。该流量传感器是内部封装压电晶体为2片柱片状的铌酸锂压电晶体,总体传感器结构设计保证传感器固有频率大于8000Hz以上,由于涡街流量计的原理设计表明,口径越小,传感器输出的信号频率越高,DN6口径的涡街理论设计信号频率可达5000Hz,所以这样的设计要求保证了流量传感器可以通用于更小口径的涡街流量计。
本发明采用了组合焊接式本体结构和双旋涡发生体结构设计,包括流量计的表体、对焊法兰、表体内镶嵌装配的主旋涡发生体件、流量传感器、支撑筒柱和流量积算显示单元。 其中,旋涡发生体组件为一测量套管径向镶装一主旋涡发生体,该主旋涡发生体为梯形柱状。采用组合式的结构,解决了流量计口径小,表体流通管道长等结构的机械加工难的问题。
本发明的优点在于结构简单,零部件加工工艺性好,可通用于DN6~DN32系列小口径,量程宽,可达30:1量程,仪表精度高可达1 .0级,重复性好。
史海拾趣




