历史上的今天
今天是:2025年02月18日(星期二)
2020年02月18日 | 散热器检漏仪的组装和使用方法
2020-02-18 来源:elecfans
内容说明
本发明涉及一种检漏仪,特别是涉及一种散热器检漏仪及其组装和使用方法。
发明背景
油浸式变压器是电力系统中的主要设备之一,它能否正常运行直接影响着电力系统的安全,从变压器的长期运行中观察到,变压器渗漏油一直是困扰变压器安全运行的主要因素之一,变压器长期渗漏油会使本体油面降低从而失去变压器油的保护功能,使变压器绕组暴漏在空气中,这样会直接影响到变压器的安全工作。
发明内容
本发明为解决现有技术问题,提供一种造价低,携带方便的散热器检漏仪及其组装和使用方法。

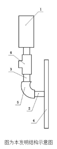
本发明为解决现有技术问题所采取的技术方案为:一种散热器检漏仪,包括压力表和连接管,连接管包括第一连接管和第二连接管,第一连接管一端与挡板连接,另一端与弯管的一端连接,弯管的另一端通过第二连接管与阀门的一端连接,阀门的另一端与压力表连接。阀门为三通铜阀门,其中在同一水平线上的两个阀门口分别与压力表和第二连接管连接,另外一个阀门口与充气泵连接。
第一连接管和第二连接管的两端均设置有外螺纹,弯管左右两端口内侧设置有内螺纹,弯管上内螺纹的尺寸分别与第一连接管和第二连接管上的外螺纹的尺寸相匹配。挡板为四边形,挡板上的四个边角处分别设置有一个圆形孔,挡板中心设置有连接孔,第一连接管的一端通过连接孔后设置在挡板上。弯管与第一连接管和第二连接管连接处,以及阀门与第二连接管和压力表连接处均设置有改性丙烯酸酯胶粘剂和聚四氟乙烯无油生料带。压力表采用红旗牌中最大量程为0 .25 MPa的压力表。
一种散热器捡漏仪的组装以及使用方法,包括以下步骤:
(1)连接前,将第一连接管、第二连接管、弯管、阀门和压力表的连接处用改性丙烯酸酯胶粘剂涂抹;
(2)连接时,利用管钳将挡板、第一连接管、第二连接管、弯管、阀门和压力表进行连接,使各部件的连接处紧固的粘合在一起,并在各部件连接处设置聚四氟乙烯无油生料带;
(3)连接后,用改性丙烯酸酯胶粘剂在各个部件的连接处重新涂抹一遍;
(4)将组装并涂抹好改性丙烯酸酯胶粘剂的散热器检漏仪通过螺栓固定于散热器的阀门处,并在散热器检漏仪与散热器连接处涂上检漏剂;
(5)随后通过阀门利用充气泵向散热器内充气,观察压力表数值,当压力表达到标准值0 .04MPa时,停止充气;
(6)将充气后的散热器静置,用十个小时的时间观察散热器气压表有无变化,若无明显变化,则说明散热器密封性完好,若有明显变化,则说明散热器密封性不好。
在步骤(4)中,散热器检漏仪通过其上的挡板上的圆形孔利用螺栓与散热器连接;挡板为四边形,挡板上的四个边角处分别设置有一个圆形孔,挡板中心设置有连接孔。在步骤(2)中,第一连接管和第二连接管的两端均设置有外螺纹,弯管左右两端口内侧设置有内螺纹,弯管上内螺纹的尺寸分别与第一连接管和第二连接管上的外螺纹的尺寸相匹配。在步骤(2)中,阀门为三通铜阀门,其中在同一水平线上的两个阀门口分别与压力表和第二连接管连接,另外一个阀门口与充气泵连接。
本发明的积极有益效果是:1、本发明中选用弯管连接第一连接管和第二连接管,一方面是可以节约空间,外形也较美观,另一方面,可以方便工作人员直接观察压力表的变化,从而方便工作人员判断散热器密封性的好坏。2、本发明中改性丙烯酸酯胶粘剂和聚四氟乙烯无油生料带的使用,增加了连接处的密封性,防止连接处漏气,造成检测不准确等误操作。3、本发明中的各个部件都是平常常见常用的,成本不高,从而可以大大节约散热器的维护成本,并提高了供电可靠性;另外由于此检漏仪制作简易,操作简单,携带方便,还节约了维护成本,所以具有很好的传播及使用前景。
下一篇:是德频谱仪校准方法介绍
史海拾趣
|
我在C#程序中想添加个计时器: System.Timers.Timer aTimer = new System.Timers.Timer(); aTimer.Elap ...… 查看全部问答> |
|
感谢您进来,祝您身体健康,财源滚滚! 我现在有一个硬件用的芯片是MAX323EPE,但是不支持VISTA和WIN7,有没有一种芯片能替换的,非常感谢。… 查看全部问答> |
|
在WINCE60里面把CELLCORE组件加进了NK,怎么测试这块是不是可以正常工作?有没简单的测试AP可用?怎么测试RIL组件绑定了物理通信的串口? 在WINCE60里面把CELLCORE组件加进了NK,怎么测试这块是不是可以正常工作?有没简单的测试AP可用?怎么测试RIL组件绑定了物理通信的串口?… 查看全部问答> |
|
最近在做一个在JZ上的PS2驱动,因为是第一次做驱动,所以不清楚具体是怎样掉用这个驱动的入口函数的?请各位大大帮帮忙,有帮忙的都有10分,不够我再加… 查看全部问答> |
|
ppc2003可以直接访问sql2000 server中的数据吗? ppc2003通过wifi跟局域网连接后,可以通过编程直接访问服务器上sql2000 server中的数据吗?有人说必须在ppc上安装sql CE,然后通过sql CE跟服务器上的sql2000交换数据?真的是这样?… 查看全部问答> |
|
因设计的模块较多,在有的模块中有任务发起。有的模块中仅有函数调用,在vxSIM调试时,不能顺利进行下去。有人能批点一下不? 另外,在一个文件中发起任务,在另一个文件中实现任务,可以不? 在任务中再发起子任务可以这样设计吗?… 查看全部问答> |
|
2010年度吉时利测试测量技术全国巡回研讨会将从9月初开始,在成都、重庆、合肥、南京、哈尔滨、武汉、兰州举办届时吉时利资深技术专家将与您深入交流: 绿色电子革命中的光电测试/新能源测试方案 新材料的测试方案 微弱信号测量难点与应对方 ...… 查看全部问答> |
|
使用uC2.86 ADC使用DMA中断的模式,在DMA1_CH1 初始化以及 中断 都没问题,都可以进中断, 但是改成 DMA1_CH4 就再也不进中断了,为什么?? 难道 DR_ADDRESS 地址不对?? RCC,等其他设置应该都没问题请大家看下我的初始化函 ...… 查看全部问答> |
|
最近在调STM8 的I2C(不想搞模拟的I2C),结果I2C没有调通,不知道问题所在,软件是参考I2C EEPROM固件那个程序写的。初始化如下: void IIC_Init(void) { UCHAR temp; CLK_PCKENR1 |= 0x01; I2C_CR1 = 0x00; &n ...… 查看全部问答> |




