历史上的今天
今天是:2025年03月14日(星期五)
2020年03月14日 | 一种超微弯型科里奥利质量流量计
2020-03-14 来源:elecfans
内容说明
本发明涉及一种科里奥利质量流量计(Coriolis Mass Flowmeter),特别涉及超微弯型科里奥利质量流量计,属于流量计量仪器仪表领域,用于质量流量的直接高精度测量。
发明背景
质量流量测量技术是当今国家科技在过程控制领域中发展的重点,为实现对各种介质在复杂环境条件下的高准确度、高可靠性的测量,科里奥利质量流量计以其优越的性能成为该领域重点发展的新型测量仪表。
科式流量计可以实现对介质质量流量的精准测量,其中测量管是其核心部件。根据测量管数量不同,分为单管式和双管式。单管式因其易受外界振动干扰以及严重的零点漂移导致测量精度较差,故单管式实际应用较少,多采用双管式设计。根据测量管形状不同,可分为弯管型和直管型。
弯管型分U型、微弯型、△型、Ω型、水滴型、蝇拍型等,其中又以U型和微弯型的应用最为广泛。传统微弯型其管形壁厚较厚,尺寸较大,谐振频率较低,一般在60~200HZ,振动信号易于处理,灵敏度高,能够容易实现对结果的测量。但是,传统微弯型由于结构尺寸大,易积存介质残渣以及较大的压力损失而引起较大误差;同时,随着市场要求的逐步提高,传统微弯型的体积尺寸、结构功能等受到安装环境、测量现场苛刻条件的约束,严重影响到科式流量计的广泛应用。市场要求其向更小体积、更低压损、更高精度、更佳稳定性等方向发展。
直管型科式流量计,以其小体积、低压损、高频率等诸多优点在一定程度上解决了弯管型的许多不足,但是直管型的缺点同样比较显著:直管刚度大,灵敏度低,量程比小,相位差过小导致信号处理困难等等,都在很大程度上制约了科式流量计的实际应用。所以由于直管型的其自身局限性导致市场应用较少。
发明内容
本发明所要解决的技术问题是克服上述现有技术中所存在的缺陷,提供一种超微弯型科里奥利质量流量计,使得其既能够具有微弯型的高灵敏度、宽量程比的效果,又能够获得直管型的小尺寸、低压损的特点。

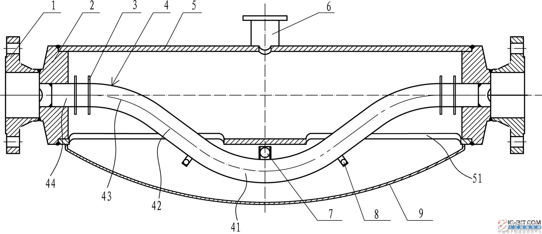
图为本发明的剖面结构示意图
本发明采用了下列技术方案解决了其技术问题:一种超微弯型科里奥利质量流量计,包括两根相对应的平行的测量管,该测量管两端通过分流体与法兰固定连接,两分流体之间固定连接支撑管,阻尼板固定置在测量管两端,测量管底部圆弧管段的上还置有驱动部件,检测部件固定置在测量管底部圆弧管段两侧的底部,其特征在于:所述的测量管其底部大圆弧管段分别向两侧延伸连接相切的第一直管段,该第一直管段的另一端与小圆弧管段的一端相切连接,小圆弧管段的另一端与第二直管段一端相切连接,该第二直管段的另一端分别固定连接到分流体上的测量管连接端。
本发明克服了目前现用的质量流量计的缺点,使得该超微弯型科里奥利质量流量计既能够具有微弯型的高灵敏度、宽量程比的效果,又能够获得直管型的小尺寸、低压损的特点,有效地提高了科式质量流量计传感器的机械特性及其品质因数。本发明更大程度地减小流量计体积,更加便于现场安装和应用,减小流动阻力,减小压力损失,同时更多地提高测量精度,拓宽量程比,提高抗干扰能力,更大程度地满足日趋复杂的现场工况的高精度计量要求。
上一篇:数字万用表测量误差分析
下一篇:自动量程万用表模块设计方案
史海拾趣
|
引用《移动在线》 GSM数字移动通信发展非常迅速,从早期规划的大区制,到后来的小区制,直到现在的微蜂窝、微微蜂窝,相对应的天线从早期架设在屋面铁塔上,到后来天线降到屋面上,直到现在要把天线设置在屋面下的外墙侧面上。所有的这些变化都说 ...… 查看全部问答> |
|
1.4 深度睡眠模式设置步骤 处理通过调用WFI 指令即可进入睡眠模式,但要进入深度睡眠实现最低的功耗需要正确配置,其步骤如下: 1. 使能ACG 自动时钟门控。这样睡眠模式和深度睡眠模式的外设时钟可以单独控制。 2. 配置寄存器DCGC0、 DCGC1 和DC ...… 查看全部问答> |
|
本帖最后由 paulhyde 于 2014-9-15 09:00 编辑 请问广州哪里有零售漆包线、绝缘纸和绝缘漆的地方?? 昨天下午走了一下午,传说中有这些东西的解放中,都没看见有卖忘各位朋友指出哪里有得买 … 查看全部问答> |
|
FLASH锁死了这是为什么,有没有办法解锁。为什么会有类似下面这几种报错: Read status value 0x0001 from symbol PRG_status(24x系列) ADC Calibration not complete, check if device is unlocked and recalibrate.(2833x系列) 答:FL ...… 查看全部问答> |
|
想问一下各位大侠,施密特触发器对于直流信号是怎么处理的?(我仿真过,发现如果输入一个电压介于两个门限电压之间,那输出电压和输入电压是成比例的,谁能告诉我为什么啊?)… 查看全部问答> |




