历史上的今天
今天是:2025年03月31日(星期一)
2020年03月31日 | MSP430使用指南31 -> BSL
2020-03-31 来源:eefocus
在讲述BSL功能之前,首先我们需要了解以下MSP430的下载方式:
JTAG: 很多MCU都使用的下载方式,具有速度快,可以仿真等优点,但是连线较多,需要:
VCC, GND, TDI, TDO, TMS, TCK, TEST,RST 每个引脚具体功能如下图所示:

SBW: SBW即Spy-Bi-Wire下载方式,包括电源的两个引脚在内的话,仅仅需要四个引脚:
VCC, GND, SWDIO, SWCLK, 其中SWDIO为数据引脚,双向通信,SWCLK为时钟引脚,在MSP430内部有一个SBW控制器,可以解码SBW信号转换成JTAG信号,如下图所示:

BSL: BSL即bootloader,是固化在MSP430内部ROM区的一块数据,用于对MCU内部空间进行读写数据,由于BSL的程序存在ROM区,因此在出场后就固定了,不会收到用户再次编程的影响,同时在烧写程序过程中,如果设定了密码或者使能了熔断丝,则会导致JTAG和SBW均无法正常烧写程序,这时可以使用BSL进行大量擦除,同时BSL可以设定密码,方防止MCU内部程序被窃取。同时,BSL一般接口是USRT或者I2C,因此可以实现一个MCU对MSP430的程序升级。
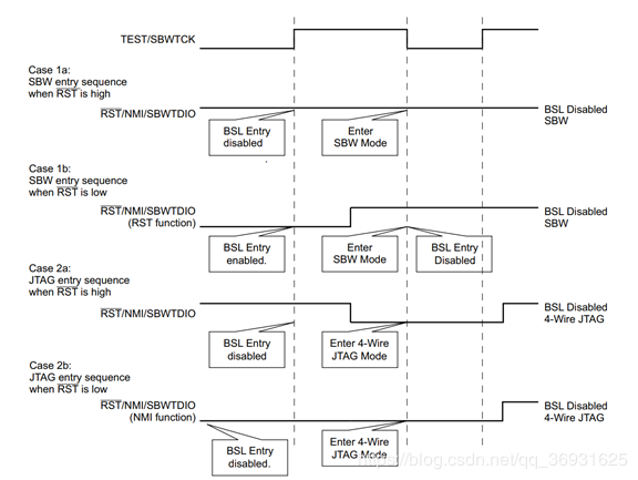
好啦,在描述玩MSP430烧写程序之后,问题来了,既然有这三种程序下载模式,那么下载器如何选择进入哪一种模式呢? 这就需要RST和TEST引脚了,具体时序如下图所示:
注意:对于Flash系类MCU,有些没有TEST引脚的芯片吗,使用TMS引脚,不过进入的时序和下图有点区别,具体看每个芯片的User Guide和Datasheet。


下面介绍一下MSP-FET烧写器的引脚功能即连接方式:
MSP-FET实物图如下所示,支持以下功能:
JTAG下载
SBW下载
BSL下载(支持UART I2C)
用户串口:在连接电脑后你会发现有两个COM口,一个是Debug的,另一个则是用户串口,也就是MSP-FET内部已经有USB转TTL模块(本质上是使用的F5528的USB模块,可以实现一个硬件接口,多个COM口)。串口使用过程中,建议选择9600左右波特率,因为这个串口是软件实现的,后续连接的MCU可能也是软件实现的,高波特率的通信会有较大误差,可能导致通信失败。
供电:VCC_TOOL

下图是MSP-FET的引脚图,由于TI想标明JTAG SBW BSL三种模式的下载接口,所以就标成了这个样子。。。。 很有误导性,下面我介绍一下如何连接到MCU上。

第一种模式:JTAG
需要连接引脚:TDO TDI TMS TCK GND VCC_TOOL RST TEST

第二种模式:SBW
需要连接引脚:SWDIO SWCLK GND VCC_TOOL

第三种模式:BSL
需要连接引脚:TEST RST GND VCC_TOOL UART_TXD UART_RXD(PS : 串口模式,如果是I2C 连接I2C引脚)

附上一张更加详细的MSP-FET引脚描述图:

OK,在描述玩这几种下载模式,及硬件连接等之后,开始详细讲解一下BSL的使用:
首先,你需要下载BSL工具:
BSL已经集成到新版CCS和Uniflash(5.0版本以后)中,但在PC端,为了使用每一个BSL命令,我们采用BSL Scripter软件,下载地址如下:
http://software-dl.ti.com/msp430/msp430_public_sw/mcu/msp430/MSPBSL_Scripter/latest/index_FDS.html
这个软件是使用CMD命令实现的一个脚本插件,因此在安装完之后,会有下图所示的一堆文件:

文件中BSL-Scripter.exe即是BSL的脚本,进入ScriptExampleWindows文件夹,你会发现里面有跟多例程,我们进入FRxx_uart,如下图所示,有四个文件:

第一个blinkLED_FR6989.txt文件时程序,需要BSL下载进入MCU的,中间pass32_default.txt和pass32_wrong.txt是BSL的密码,因为访问BSL一定是要密码的,这个密码是可以通过编译软件自己设置的,最后一个文件script_FRxx_uart.txt则是执行的BSL命令,把命令全部都写入文件里,使用BSL-Scripter.exe脚本可一次性执行多行程序。
在安装完成后默认文件中的程序可自行查看,本实验中使用FR2355 MCU,因此写BSL程序如下:
LOG // 打开文件记录生成
MODE FRxx UART 9600 COM8 // 选择FR MCU, UART模式,端口COM8 波特率9600
CHANGE_BAUD_RATE 115200 // 改变波特率为115200
DELAY 2000 // 延时2000ms
RX_PASSWORD BSLPassword.txt // 写BSL密码
RX_DATA_BLOCK MSP430FR2355.txt // 烧写程序
DELAY 4000 // 延时4000ms
TX_DATA_BLOCK 0x8000 0x0080 MSP430FR2355_R.txt // 从MCU中读程序
// (地址:0x8000 长度:0x0080)
CRC_CHECK 0x8000 0x0080 // CRC校验(地址:0x8000 长度:0x0080)
SET_PC 0xFFFE // 设置启动地址,启动程序
如上图所示即为烧写,读取程序的整体流程,有几点需要写明:
BSL密码:这个在使用烧写工具,比如FET-pro等时可以进行设置,同时保存出一个BSL密码,如果没有设置,就为全FF,也就是在默认文件中的pass32_default.txt文件
BSL密码:如果写错,会导致MCU内部数据全部擦除,包括BSL密码也会擦除,因此你会发现官方的程序是先给一个错误的BSL密码(随便都行),再给一个默认的BSL密码,就是全FF:pass32_default.txt文件,这样就可以保证如果BSL密码错误,直接擦除MCU数据以保护资料不会被窃取。
更多BSL指令如下所示:

下面开始执行上述的额BSL程序,
MCU: MSP430FR2355
BSL模式:UART
连接方式:
VCC_TOOL (2) <-> 3.3V
GND (9) <-> GND
TEST/VPP (8) <-> SBWTCK (4)
RST (11) <-> SBWTDIO (5)
UART_TXD (12) <-> P1.7 (31)
UART_RXD (14) <-> P1.6 (32)
实验结果图如下:

注意:两个命令:
cd C:tiBSL-Scripter :进入脚本文件夹,这个和你安装路径有关
BSL-Scripter DemoBSLScripter.txt :执行BSL程序,因为我的BSL程序文件BSLScripter.txt不和脚本再同一级目录下,再下一级目录里面,因此需要使用这种方法,如下图:

附上你可能会用到的参考文件链接:
BSL Scripter User's Guide : http://www.ti.com/lit/ug/slau655f/slau655f.pdf
MSP debuggers : http://www.ti.com/lit/ug/slau647m/slau647m.pdf
MSP430™ Programming With the JTAG Interface : http://www.ti.com/lit/ug/slau320ah/slau320ah.pdf
史海拾趣
|
我的电路设计和程序都编写好了,但是输出波形很不理想,只有方波OK,三角波,锯齿波,正弦波都失真很厉害,求大侠们帮小弟解决下这个问题! ORG 0000H MAIN: MOV A,#00H MO ...… 查看全部问答> |
|
讨论:各位在单片机中用什么算法去做菜单? 比如我要用89s52和smc1602做个菜单。这个菜单有很多层的,即有子菜单。 不知道各位用的是什么方法和算法? 小弟我一开始就用树和链表方式做的。不好。 & ...… 查看全部问答> |
|
动手做个示波器,液晶显示屏不知用那款好些.有的说用 NS 12864C,也有的的说用 NS 12864R 有点拿不准.想请教高手.用那款实用好些,二者有何区别.请给欲我答复.感激.谢谢!… 查看全部问答> |
|
使用Altera的UniPHY控制器,采用软核和硬核两种模式,使用的时候一般是PHY跟controller一起使用,例化的时候已经将两者合为一体了。使用软核或硬核的区别只是下图的一个check box是否选上。 本来还好好的,默认没有选上,一点击使用硬核之后,图表 ...… 查看全部问答> |
|
一直想把ucosII V2.92移植到LM3S9B92上去,但前前后后搞了将近三个星期了,还是没有一点结果,指针总是越界,第一个任务还没启动起来就会进入死循环,真是郁闷啊。… 查看全部问答> |
|
写了个串口调试程序用来测试板子各个工作点状态的,但是居然第一次烧录几次后CPLD就不能再烧录了干脆坏掉了,只能换芯片,要知道100脚的epm570更换起来多费时间。是不是程序导致芯片内部短路了?… 查看全部问答> |
|
求大神指教!!! ZigBee技术中,网络中的设备按照各自的作用的不同可以分为协调器节点、路由器节点和终端节点。 是不是终端节点之间是不能相互通信的,只有路由器节点之间才能相互通信的?然后协调器节点相当于“大脑”,我的理解应该木有错吧! ...… 查看全部问答> |




