历史上的今天
今天是:2025年04月22日(星期二)
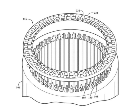
2020年04月22日 | 新专利显示苹果汽车可能采用特斯拉式感应电动机
2020-04-22 来源:cnBeta.COM
尽管提交了法律要求的文件,而且还提交了无数关于内饰和外观的专利,但苹果仍然不会说自己在制造汽车。但是,专利号10,630,127,题为“带棒状绕线定子和端头冷却电动机”的美国专利显示,苹果公司正在研发一款适合苹果汽车的三相交流感应电机,采用与特斯拉相同的基本工程和电机设计原理。
该专利特别详细介绍了一种三段式交流感应电机,这只是汽车可能的几种电机系统中的一种。不过,它使用的是与特斯拉相同的松鼠笼式电机技术。苹果之所以会专门选择这种技术,也是出于和特斯拉一样的原因。它可以在电压/频率可控的情况下产生较高的启动力矩,价格更便宜,而且在崎岖的地形上也很有用。与永磁驱动等相比,这类电机的寿命也可以预期,需要的维护费用较少。
相比之下,福特和日产的混合动力汽车使用的是永磁同步电机。它们比感应电机效率更高,但成本更高,需要更多的维护。此外,它们的磁铁往往会随着时间的推移而磨损,需要更换。选择三相异步电动机,可能是因为这种技术的制造成本相对较低,不需要太多维护,而且在控制电压/频率时,可以产生较高的启动转矩。如果控制得当,三相交流感应电机的效率可以达到90%。问题在于这种控制的复杂性,尽管专利中没有明确详细说明苹果公司的处理系统。
相反,苹果公司的专利集中在电机技术与发动机散热方法的搭配上。专利显示,冷却结构与上部外环表面或下部外环表面中的至少一个处于导热关系,用于接收来自端部转环的热量。


史海拾趣
|
AC(alternating current) 交流(电)A/D(analog to digital) 模拟/数字转换 ADC(analog to digital convertor) 模拟/数字转换器 ADM(adaptive delta modulation)&n ...… 查看全部问答> |
|
全系列数据手册,原书扫描,共795页,每个器件都附有简要说明、逻辑图、真值表、电气特性表http://www.etuni.com/data/downdata.asp?id=910… 查看全部问答> |
|
Filter Solutions Nuhertz公司出品,Nuhertz公司是滤波器设计软件的行业领军企业。 网上只有试用版下载,仅有20天的试用期,过了软件就基本瘫痪了,当然咯,细心点的话还是可以找到序列号的。 功能非常齐全,值得一提的是,Filter Solutions绘制 ...… 查看全部问答> |
|
一个LED的N种玩法 (一) Author: chenzhufly Email: chenzhufly@126.com 2010-4-27 NXP的LPC1343板载资源真的很少,仅仅只有一个LED接在 P0_7上。需要说明的是LPC1343其他的管脚都已经引出,很容易扩展,如果谁有兴趣的话可以做做。虽然我工具齐 ...… 查看全部问答> |
|
在单步调试GPIOPinTypeGPIOOutput(GPIO_PORTD_BASE, GPIO_PIN_4|GPIO_PIN_5 );时,看反汇编代码,发现程序根本就在GPIODirModeSet子程序和GPIOPadCongfigSet子程序中不会发生跳转,只要是出现TST指令,下一句指令肯定就是ITE EQ 所以程 ...… 查看全部问答> |
|
猎头职位:北京世界五百强诚聘symbian高级研发-c++ 有相应的具体JD 客户是世界五百强外资,做手机symbian系统的研发 一般要求硕士5年经验以上,具体看个人资质 请有意者速速联系 msn:jessi.wang@hotmail.com e-mail:weiyangwj@sina.com 可 ...… 查看全部问答> |




