历史上的今天
今天是:2025年04月22日(星期二)
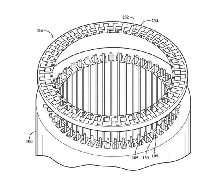
2020年04月22日 | 想要造车的苹果终于传来消息!已开始申请驱动电机专利
2020-04-22 来源:EEWORLD
这年头各大科技公司都想要在汽车市场内布局一番,就连国际巨头苹果公司也不例外,不过自打上次宣布进入汽车领域之后,一直没有其它有实质性内容的消息传出,不过最近我们了解到苹果公司已经在美国开始了驱动电机专利技术的申请。

众所周知,电机技术是电动车领域内重要的核心技术,而从专利介绍中我们可以了解到,苹果公司此次申请专利的电机为感应异步电机。电机由转子和定子两部分组成,定子采用笼式结构,转子则是由多个硅钢片制成的导电圆盘叠加在一起,嵌入定子之中。由于感应异步电机不需要永磁体,并且主体材料为钢和铜,制作成本和维修成本较低,因此该类型电机被很多车企所采用。

申请专利意味着苹果对于电机技术已经有了一部分积累,一旦专利技术得到认可,苹果公司在电动车制造领域便获得了一定得进展,或许将来我们每年9月等待的不止是新的Iphone、Ipad等电子产品,说不定还会有新的汽车产品发布。(图片来源于汽车之家与网络)
下一篇:汽车,半导体行业下一个“富矿”
史海拾趣
|
最新版本的keil软件--uvision4beta1及其使用手记 上传一份最新版本的KEIL 51 软件vision4beta1,看起来很不错的,这个是没有PJ的版本,如果你的机子上装有注册过的uvision3,那直接安装就可以使用,无需另外注册!!刚下载下来,简单打开看了下,就拿出来和大家分享了,里边有一份网上找的使用手记 ...… 查看全部问答> |
|
首先我一直关注学校有个2+2的项目,是去明尼苏达双城校区的。不过我大概了解到,一年所有的费用大概在20万左右,不知道你觉得是大概一个怎样的数目? 然后我家的情况不是特别好,只能这样说,最多够支付我一年的学费,也就是20万。而且我估计是家 ...… 查看全部问答> |
|
我用的stm32F103VC控制器外接一个TJA1050CAN收发器,加一个CAN分析仪(确定可用USBCAN-II(iTEK公司的))进行测试,至于stm32的CAN测试程序,首先采用回环模式,使能CAN接收中断,调试发现,可以进入接收中断,而且接收的数据与发送的数 ...… 查看全部问答> |
|
收到板子后就开始装软件,软件装了两次,第一次不知道为什么没装成功,第二次直接安装到C盘 ,安装类型选的全部,装好后可以用了。 我是听大学的老师说起PSoC的,感觉挺不错的就申请了一套板子,打算用到公司的方案上。 &n ...… 查看全部问答> |
|
2014 C2000研讨会课程汇总 https://www.eeworld.com.cn/traini ... ex&a=lists&catid=25 TI C2000是业界公认的最适合各种对实时性要求高的场合 工业应用是TI近几年明确的最重要的发展应用,即把工业应用作为其公司发展战略的重中之重, 因此C20 ...… 查看全部问答> |




