历史上的今天
今天是:2025年08月21日(星期四)
2020年08月21日 | 折叠面板技术竞争加剧,三星显示、LGD提前布局
2020-08-21 来源:eefocus
韩国两大面板厂正聚焦 Bending 技术力提升。随着折叠面板应用设备陆续上市,折叠部位的耐久性逐步成为核心竞争力,易弯曲且耐久的折叠面板技术竞争加剧。
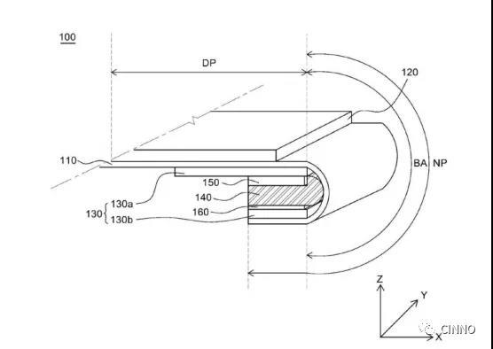
根据韩媒 Etnews 报道,LG 显示(以下 LGD)近日注册了“折叠面板制造方法”专利,为一种最小化面板折叠褶皱的技术。主要目的是通过减少基板变形所受压力,以提升耐久性。
折叠面板一般会有膜片等多个零部件组成,但基板折叠时这些零部件受力后发生应力(内力),导致基板变形。

图:LGD 专利
LGD 为解决此问题,采用了”控制层(制御层)“吸收应力,减少了褶皱。
LGD 专利书中表示发明了一种“减少折叠面板 Bending 时的特定位置压力,最小化变形量的结构与制造方法。已在柔性 OLED 基板上确认过基板压力大幅改善效果。
三星显示(以下 SDC)在差不多时间段也注册了一种“折叠显示装置”专利。专利为一种新型折叠面板制造专利,目的与 LGD 相同,也是为了减少 Bending 压力,以缓解折叠基板变形和面板受损。
SDC 的专利聚焦在铰链黏着剂。采用一种可根据折叠力度发生粘着力变化的辅材。例如,面板折叠时黏着剂失去粘着力,从支撑架分离,而展开面板时可恢复其黏着力。

图:SDC 专利
SDC 在专利书中描述:可利用低压黏着分离的压感 PSA,通过解除应力提升面板耐久性。
预期折叠面板 Bending 技术后续将日益加剧。在确保更大显示面积的同时,可大幅减少设备尺寸和重量的折叠设备正逐渐成为了次世代显示潮流。三星电子近日发布的 Galaxy Z Fold2 等新品手机基本都采用此种设计。
业界人士评论:随着 5G 通讯普及,手机为主的折叠显示需求有望增长。业界会为了实现更优秀的 Bending 技术而展开新一轮竞争。
史海拾趣
|
PS:本文转自 飞凌嵌入式技术交流群 这个是由群里一些工程师朋友做的小实验,可以作为参考。 嵌入式Linux简单路由实验 本实验所用硬件平台为飞凌(www.witech.com.cn)TE2440V2型开发板;该开发板上有两个网卡芯片,分别为C ...… 查看全部问答> |
|
关于WINCE6.0 VS2005 “go to definition ”功能 无法定位相关内容 关于WINCE6.0 VS2005 “go to definition ”功能 无法定位相关内容 大家好!向大家请教一个问题: 我现在装了VS2005 打开mini2440的BSP包(缺省内核工程),可以编译内核通过。 我想用go to definition 功能跟踪一下程序,比如定位一个函数或 ...… 查看全部问答> |
|
请问大家-有没有从事过在自己的软件中嵌入摄像头功能,就是自己的软件能够同过手机的摄像头照相,并且存储,而不是用手机自带的照相机。 有这方面的书也可以,大家介绍下吧,急用。 … 查看全部问答> |
|
EVC3.0+PPC202程序编译出错,关于StdAfx.sbr Compiling resources... Compiling... Error spawning clarm.exe Creating browse info file... BSCMAKE: error BK1506 : cannot open file \'.\\ARMRel\\StdAfx.sbr\': No such file or directory Error executing bscmake.exe. Main.exe - ...… 查看全部问答> |
|
可以连上,必须把JTAG口RST脚上的电容拿掉,但又碰到了新问题:在线仿真5438时速度极慢,下载操作需1分钟左右,执行一个单步需十几秒,执行一次复位需半分钟,运算结果倒是正确的。iar是4.20.1版,操作系统是vista,仿真器是USB型的LSD-FET430UIF, ...… 查看全部问答> |
|
急求助:Linux无法从NFlash(K9F1208U0A)启动 自己开了一个ARM架构板, CPU: S5PC100, SDRAM: K4T1G164QQ(两颗),Nand flash: K9F1208U0A。现在系统能从SD卡启动,对FLASH擦除操作后返回OK,但将SD卡取后,从FLASH启动串口不出现任何信息。有没有人知道是哪里出了问题,急求大家的帮助,不甚 ...… 查看全部问答> |




