历史上的今天
今天是:2024年08月26日(星期一)
2020年08月26日 | 苹果眼镜或通过无线方式处理数据,兼顾便携性与高性能
2020-08-26 来源:IT之家
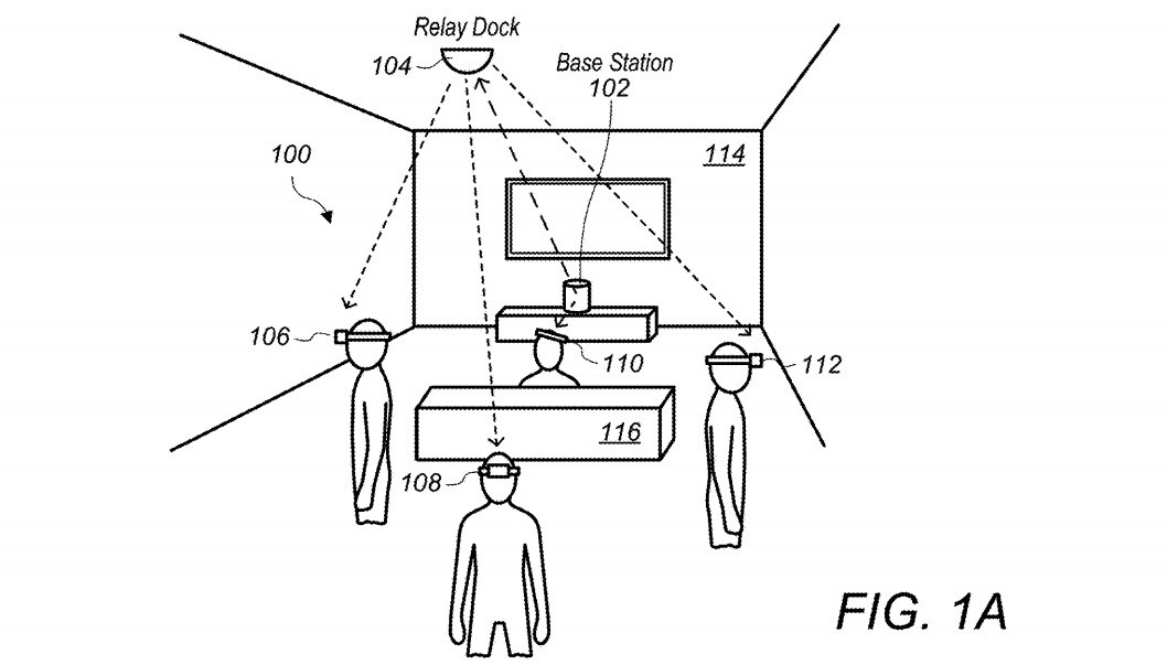
传闻中的苹果眼镜在室内使用时,可能会采取完全无线的方式,通过使用中继基站将通信范围扩大到一个房间内的多个用户。
目前,增强现实和虚拟现实系统存在的问题之一是需要靠近一个进行大量处理的系统。来自头戴式显示器上传感器的大量数据必须被输入到计算设备中,然后计算设备必须对其进行处理,并将数据应用于渲染虚拟场景或物体,然后这些视频数据必须传递给显示系统,让用户看到。
紧凑型 VR 系统,如 Google Cardboard 和 Oculus Go,通过将所有的处理过程带到头显本身,在一个独立的系统中来解决这个问题。然而,这样做会增加用户头上的重量。
早期的 VR 系统和套件,如 Magic Leap One,依靠将头显与一个独立的处理单元绑定。这可以采取小型袖珍设备的形式,但通常采用台式计算机来改进图形处理。虽然这可以改善整个系统的视觉处理,以及减轻头显重量,但缺点是存在可能被绊倒或以其他方式限制移动的电缆。
在美国专利和商标局周二授予的一项名为 “具有基于位置信息的定向波形成的中继基座和基站”的专利中,苹果公司想要创造一种无线缆的头显,携带电池组进行供电,但数据则由无线通信处理。

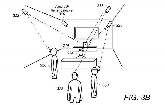
从本质上讲,该系统将依靠一个中继基座在一个区域的中心,用于 VR 或 AR 目的,同样,它与另一个位置的基站无线连接。在固定的设置中,基站和中继基座可以通过电缆连接,这可能是可行的,但该专利的主旨是关于中继基座和头显之间的通信。

对于在一个区域内有多个中继基座的系统,如较大的房间,基站将连接到它和目标用户之间最近的中继基座。让一个中继坞处理用户的入站通信,而另一个中继坞传输数据也是可行的,例如在向用户发送的信号可能被环境景物阻挡的情况下。
利用头显上的传感器组合,例如摄像头、加速度计、陀螺仪、照相机和红外传感器,基座利用数据确定用户耳机与它的位置关系。基座还可以有红外传感器,可以使用头显上的红外标记来帮助更准确地计算出用户的位置。
知道用户的位置,以及他们的一般运动,可以让基站使用波束成形引擎向特定方向发送放大信号。波束成形可以最大限度地减少向用户广播信号所需的功率,同时也可以通过方向性使信号更加私密。
在多个用户的情况下,波束成形将有助于减少干扰的可能性。
IT之家了解到,苹果每周都会提交众多专利申请。虽然申请的存在表明了苹果研发工作感兴趣的领域,但它们并不能保证这些想法会出现在未来的产品或服务中。一段时间以来,苹果一直热衷于完善 VR 或 AR 头显,但与通信和便携性相关的申请相对较少。
史海拾趣
|
摘要: 介绍了汽车发动机电子控制系统相关技术背景、开发现状及发展趋势。 关键词: EECS,ECU汽车发动机电喷 一、 汽车发动机电子控制系统概述 汽车发动 ...… 查看全部问答> |
|
以下是我的一个输出正弦波的函数,输出了一个100hz的正弦波 我的项目需要输出一个幅值由0.5V逐渐增长的正弦信号。 各位有什么好的建议请多多指教。 另外,要求幅值的变化是每隔十个周期一次,并且要在2048点进行变化。 void TopFrequency_M ...… 查看全部问答> |
|
VB2005 在wince下用FindWindow 所获句柄不正确的问题 我引用 Declare Function FindWindow Lib \"coredll\" Alias \"FindWindowW\" (ByVal lpClassName As String, ByVal lpWindowName As String) As Integer 然后获取指定窗体句柄WINDOW_HANDLER = FindWindow(Nothing, (\"接受方窗体\")) ...… 查看全部问答> |
|
开发板做服务器 pc机做客户端通过http://192.168.3.100:800/login.html这种方式访问 客户端的流媒体播放器采用VLC login.html该怎么实现呢 … 查看全部问答> |
|
keil4上不能用ST-LINK!!大家帮帮忙看看怎么解决! 我先前下了MDK3.32版本的,用STLINK下载没反应,就下了个新的MDK4.12版本,结果下载出现了下列提示, old STlink firmware detected.Please upgrade it." 请问能我的STLINK能不能用在MDK上?要的话 这么升级 我 ...… 查看全部问答> |
|
招兼职ucos相关讲师,周期短,可周末,如您想挣点外块,积累资源,充实生活,请联系我,要求有实际项目经历,两年以上项目经历,表达能力较好,有意者请联系QQ:2294693830,邮件soft@info-soft.cn。… 查看全部问答> |




