历史上的今天
今天是:2024年10月21日(星期一)
2020年10月21日 | Imagination用于数据渲染的AI芯片揭秘
2020-10-21 来源:爱集微
2020年9月,由中国人工智能产业发展联盟(AIIA)主办的“AIIA2020人工智能开发者大会”在北京举行。Imagination Technologies作为投身人工智能领域多年的领先半导体知识产权供应商,也参与了此次活动。
Imagination中国区战略市场与生态高级总监时昕代表公司出席,并在主论坛上发表了“基于GPU与神经网络加速器的异构计算平台”的主题演讲,分享了AI芯片的应用场景和发展趋势。
图形处理单元(GPU)通常使用多个图块的渲染空间来处理图形数据,而GPU所能控制的渲染复杂程度,也依赖于这些渲染空间。因此,如果要发挥GPU的强性能,就需要调控这些图块来渲染空间。
为此,Imagination在2020年5月28日申请了一项名为“图形处理单元和用于使用渲染空间的瓦片集合的成本指示来控制渲染复杂度的方法”的发明专利(申请号:US 2020/0167984 A1),申请人为Imagination Technologies公司。
根据该专利目前公开的资料,让我们一起来看看这项人工智能芯片的相关专利吧。

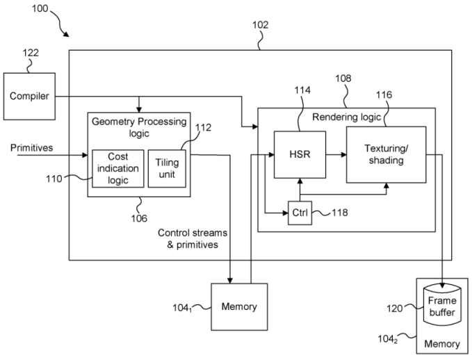
如上图,是该专利中发明的图形处理系统,这种图形处理系统可以用来渲染3D场景的图像,图形处理系统100包括图形处理单元(GPU)102和内存104,内存中包含有帧缓冲区120,GPU中包含几何处理逻辑106和呈现逻辑108。
GPU可以接收用于执行渲染的图形数据,例如当游戏应用程序启动时,就可以交给GPU处理,而除了启动画面以外,游戏画面中的游戏人物以及场景对象也可以由GPU来绘制。此外,GPU还可以指定要在图元数据上执行的着色器程序。这种处理图形数据的方法流程如下图所示意:

从该流程图中可以看出,首先,编译器122编译与原语关联的着色器程序,并确定要使用哪一种着色器程序,并且需要确定着色器程序是在哪些图元上执行的,从而为每个图元部分上的图片片段指定如何渲染图像着色器。
之后,平铺单元会确定在图形处理系统的渲染空间的每个图块中存在哪些图元,平铺单元通过为图块创建控制流,将图元分配给渲染空间的图块,并将这些信息存储在内存中。当渲染完图像的所有图块后,帧缓冲区将存储整个图像的渲染结果,如下图所示。

上图为帧缓冲器内的渲染图块,在帧缓冲区120中,用交叉的阴影线来表示已渲染和显示的图块,用对角阴影线表示已渲染并存储在帧缓冲区120中的图块,而空白的部分则是当前帧尚未渲染的图块。
在常规的系统中,通常同时使用两个帧缓冲器,将整个帧渲染到第一个帧缓冲器中,同时将存储在第二帧缓冲器中的图像输出到显示器,然后交换帧缓冲器,这样就可以在下一帧存储在第一帧缓冲器中的图像被输出到显示器时,图像可以被渲染到第二帧缓冲器中,从而保证了流水线作业,减少了相邻帧之间的等待时间。
回到流程图中,在将图像的渲染结果保存到帧缓冲区后,就可以输出渲染的图像值,渲染的图像值可以被输出到存储器中,当图像需要在显示器上显示时就需要利用这些图像值。

如上图,为搭载有这种图形处理系统的计算机系统,可以看到,这种系统的结构与上述的功能结构相匹配,数据总线连接着CPU、GPU、内存以及显示设备,数据在其之间流动,而GPU布置在内存与显示设备之间,这也与数据先存储再在GPU中进行渲染显示的过程相匹配。
以上就是Imagination发明的人工智能芯片,该专利着重介绍了该芯片用于数据渲染的物理结构以及功能结构。这种采用双缓冲器的渲染结构,不仅极大的提高了数据的渲染效率,同时也减少了数据丢失以及误传的风险,为完成高精准度人工智能任务,例如应用在无人驾驶技术上时提供了有效的技术保障。
史海拾趣
|
这个世界已经越来越有方向感,一群远见的精英思想正在汇聚成一张清晰的低碳线路图,供人类未来抵达。拯救地球环境,不能或缺中国力量。2009年度,中国光伏正在赶往一条叫做社会责任的低碳大道上。… 查看全部问答> |
|
哪位大侠能提供一下nor flash M29W128G 的fast program 的代码 nor flash M29W128G 可以32个words fast program, 哪位大哥有这个写的代码,能否给小弟一下,谢谢了。… 查看全部问答> |
|
平台:6410+WINCE6.0 新开一个贴,再讨论一下这个CAMERA应用开发,因为本人一直是做驱动的,现在要写应用,而且是COM接口的directshow,所以有很多东西要向大家请教, 用640X480分辩进行preview 和 拍照都没有问题,但是,我驱动给di ...… 查看全部问答> |
|
我主要想知道硬件编解码之前的数据是什么格式或者封装的?之后应该就是H.264,MPEG-4之类的吧。之前呢?通过以太网接口的以太网数据帧(应该包含视频流的)能直接通过硬件编解码进行播放吗? 还有TV-in,进来的是什么数据?那个接口是接什么的? ...… 查看全部问答> |
|
想写一个过滤驱动,实现禁用蓝牙,红外线等设备, 请问要将过滤驱动挂载在注册表的什么地方? 我发现过载在 注册表HKEY_LOCAL_MACHINE\\SYSTEM\\CurrentConrolSet\\Control\\Class\\{E0CBF06C-CD8B-4647-BB8A-263B43F0F974},在这个位置并不能完 ...… 查看全部问答> |
|
按键控制无线遥控发送是脉冲 现在我想对接收板接收到无线模块发送的信号进行分析 1.如果只是单个脉冲电机就微动一下 2.如果是连续的脉冲,电机就保持转动状态,再发一个脉冲,电机才停止 现在不知道如何判断发送的是单个脉冲还是连续脉冲 请高 ...… 查看全部问答> |
|
我用双路AD同步采集,采集后的数据通过DMA传送的一个32位数组空间内,采集100次,100次后AD采样自动从从数组的开始位置存放。是不数不能实现这个功能啊?我怎么做不出来啊,我的数据只能采集16个,而且数据好像不是按我的要求去转换不同的通道… 查看全部问答> |
|
TI 原厂LM3S8962板上调试部分的 CPLD 起到什么样的作用呢 TI 原厂LM3S8962板上调试部分的 CPLD 起到什么样的作用呢? 设计调试仿真器的时候,是否可以不用它?… 查看全部问答> |




