历史上的今天
今天是:2024年10月30日(星期三)
2020年10月30日 | 苹果正为可折叠设备开发防破裂的保护涂层
2020-10-30 来源:威锋网
一份新发布的专利文件显示,苹果公司正在开发一种保护层,以防止可折叠屏幕破裂,并提高其耐刮性和耐用性。

美国专利和商标局的文件名为“用于柔性显示应用的混合覆盖层/窗口结构”,概述了弯曲的,柔性的或可折叠的显示模块如何使用保护性的硬涂层来避免开裂。
该专利指出,“通常,玻璃破裂是由于微裂纹的出现而引起的。”苹果的硬涂层将填充先前存在的微裂纹,因此使严重的裂纹难以形成。

额外的保护层将直接放置在屏幕顶层。它将被设计为具有足够高的硬度和拉伸强度,以用作电子设备的外部保护涂层。因此,硬涂层对于高耐穿刺性和耐刮性具有足够的能力。
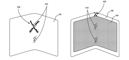
专利所附的图像包括可折叠设备的简单图解,其中包括向内和向外可折叠的屏幕。

尽管苹果似乎不会很快推出可折叠设备,但该公司一直在大力研究和开发该技术。据报道,9 月苹果就订购了“大量”三星的可折叠屏幕样品。
史海拾趣
|
根据测试测量世界tmworld与Frost & Sullivan的联合调查,全球通用仪器市场的大部分份额仍然由示波器、频谱分析仪、信号发生器、万用表四种仪器把持。如图(1)所示四种仪器所占份额依次为33.7%,17.3%,16.3%,13.1%。个人认为,频谱分析仪之所以会占 ...… 查看全部问答> |
|
我的开发平台是DM365DVR,通过USB方式将TD模块(LC6311)连接到DM365DVR上,正确配置后,能够成功拨号,也能够通过TD网络传输视频,但是传输效果极差。CIF(352*288)格式的视频每秒只能传输一到两帧,而且画面质量也不好。更可气的是传不几秒就断 ...… 查看全部问答> |
|
具体事情如下: 传感器测一个力,送到“TR700数字式重量变送器”上显示。现在从“TR700数字式重量变送器”上接出的一个RS232接到电脑上,需要做的是在电脑上采集传感器测得的数据并存储下来。 从来没做过这方面的工作,在网上查了一下还是毫无头 ...… 查看全部问答> |
|
#define TOUCH_MAX_X 1000 // 950 #define TOUCH_MIN_X 30 // 90 #define TOUCH_MAX_Y 980 // 960 // 910 #define TOUCH_MIN_Y 30 // 70 //50 #define TOUCH_X 800 #define TOUCH_Y 480 VOID Touch_CoordinateConversion(INT *px, INT ...… 查看全部问答> |
|
GPRS模块做数据传输时用SIM公司的那个SERVER.EXE软件来和GPRS交互数据。主机是ADSL拨号上网,用ipconfig查了一下有两个地址,一个是宽带地址一个是本地地址。把SERVER软件打开发现它上面的IP地址是本地地址,端口是2020这该怎么办啊 我怎么样才能 ...… 查看全部问答> |
|
开发的硬件是mips架构的CPU~ 郁闷了~在dos下编bootrom.bin,烧进flash后通过点灯观察运行状况 在romStart函数中复制rom代码到ram已经没问题,之后可以成功调用rom中的点灯程序或者已经复制到ram中的点灯程序拷贝。 但是解压缩就是过不去~ 想问 ...… 查看全部问答> |




