历史上的今天
今天是:2025年01月02日(星期四)
2021年01月02日 | 解密抗低温、高能量、高功率 宁德时代锂离子电池
2021-01-02 来源:爱集微
集微网消息,据悉,能源市场研究公司SNE Research 日前表示,今年1月-9月,宁德时代的电动汽车电池使用量达到19.2 GWh ,超过了LG Chem。
锂离子电池由于具备能量密度大、输出功率高、循环寿命长和环境污染小等优点而被广泛应用于电动汽车以及消费类电子产品中。电动汽车在行驶过程中,对驱动电源的功率要求很高,因而也要求锂离子电池具有较佳的功率特性。
温度是对电池的充放电性能影响最大的环境因素之一,在低温环境中,锂离子电池的功率性能发生下降。此外,电池荷电状态SOC(State of Charge)也是评价电动车电池的一个重要参数,其反映了电池的剩余容量占电池容量的比值。
在低SOC状态下,锂离子电池的功率性能往往也受影响,为此,宁德时代在2020年4月30日申请了一项名为“一种二次电池及其装置”的发明专利(申请号:202010365063.2),申请人为宁德时代新能源科技股份有限公司。
该专利发明了一种耐低温、高功率、高能效的二次锂离子电池,根据目前公开的相关资料,让我们一起来看看这项锂离子电池方案吧。

如上图,为该专利中发明的可重复利用锂离子电池的立体图(左)以及分解图(右),这种锂离子电池包括外包装51、电极组件52、顶盖组件53和电解液,电极组件收容于外包装中。
该锂离子电池的负极极片通常包括负极集流体和位于其表面的负极活性材料层,该专利中选用人造石墨、天然石墨等改良后的材料来用作负极,以此提高电池寿命以及能效。同时,隔离膜通常选用例如聚乙烯膜、聚丙烯膜、聚偏氟乙烯膜以及多层复合膜等,电解液一般选用在有机溶剂中溶解的锂盐溶液。
该专利在发明这样的锂离子电池时,还针对于锂离子固相扩散系数、粉体电阻率、颗粒形态、粒径和碳包覆量、X射线衍射图谱关键参数等方面改善正极活性材料的导电性、结晶度和有序度等各方面,以此来提高电池的动力学和充放电性能,并且发现这种电池在低温低SOC状态下的功率性能显著高于单一正极活性物质制备的电池。
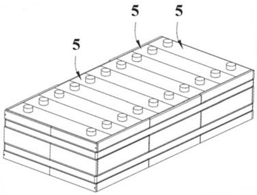
这种单个电池通过材料的不断改良,拥有出色的供电以及续航效果,同时,为了应对新能源汽车这样的大功耗场景,一般会将多个电池封装成为电池模块以及电池包,以提高电源模块的封装程度以及扩展其使用场景,如下图所示。

从图中可以看到,电池模块中包含多个单个锂离子电池,沿着电池模块的长度方向依次排列设置,初次之外,还可以设置成为下图这样的电池包形式。

如上图,电池包包含的电池模块的数量可以根据电池包的应用和容量进行调节,电池包中包含有电池箱和设置于电池箱中的多个电池模块,电池箱包括上箱体2和下箱体3,并形成用于容纳电池模块的封闭空间,从上图下方可以看到,两个电池模块并排摆放。
这种电池包可以为纯电动车、混合动力电动车以及插电式混合动力电动车提供电量来源,同时也可以满足这些领域对于锂离子电池的高功率和高能量密度的需求。
以上就是宁德时代发明的锂离子电池包,其正极极片使用的正极活性材料包含具有不同工作电压平台的活性物质,通过对于正负极材料的创新改进,使得这种锂离子电池在低温,尤其是在低温低SOC下的功率、工作能量效率、低温容量和能量保持率等关键性能得到显著的提高。
史海拾趣
|
大家好,我需要在wince5里面调用DS,但是这个实体机器在定制的时候好像没有把ds打包进去,请问我如何才可以加上ds的组件? PS:我手上就一台实体机,没有rom擦写设备的. 或者如何给定制时候不带windows media play的ce装上windows media player 并且 ...… 查看全部问答> |
|
【班竹:为什么我的两个招聘的帖子都被删除了???】 招聘2-3名软件测试人员 我部门是隶属于一工厂的研发部,工厂在深圳福永(机场附近)。主要从事GPS的研发工作。 工作地点:深圳市南山区科技园 要求: 1) 计算机软件及相关专业毕业,大专及 ...… 查看全部问答> |
|
/* Includes ------------------------------------------------------------------*/#include \"stm32f10x.h\" GPIO_InitTypeDef GPIO_InitStructure;#define LED1_ON GPIO_SetBits(GPIOB,GPIO_Pin_5);#define LED1_OFF GPIO_ResetBits(GPI ...… 查看全部问答> |
|
,超前电子的LPC2368开发板,原价460元,现在卖240吧,不到6折了,不包邮, 板子的资料齐全,有一个配套LCD,板载网络接口 SD卡 USB 等常用功能 联系qq:289916015[localimg=300,240]2[/localimg] http://item.taobao.com/item.htm?id=988308063 ...… 查看全部问答> |
|
本帖最后由 dontium 于 2015-1-23 13:34 编辑 去年公司里的产品上用到2254 运放,可是有次采购到的TLV2254I应用到HART通讯上,手持器通信就是通讯不上,后来换了以前购买的V2254AI就是可以通讯的上,请问V2254AI跟TLV2254I G4有什么区别? 片 ...… 查看全部问答> |




