历史上的今天
返回首页

历史上的今天

今天是:2025年01月09日(星期四)

正在发生

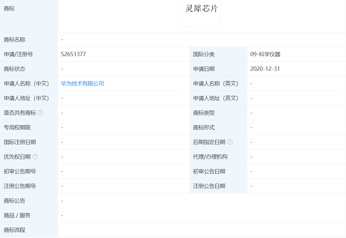
2021年01月09日 | 华为申请了“灵犀芯片”、“灵犀处理器”商标

2021-01-09 来源:爱集微

天眼查显示,近日,华为技术有限公司申请“灵犀芯片”、“灵犀处理器”商标,申请日期为2020年12月31日,国际分类为科学仪器,商标状态均为“商标申请中”。


推荐阅读

史海拾趣

蓝箭(BLUE ROCKET)公司的发展小趣事

随着市场的不断扩大和需求的增加,蓝箭电子逐渐形成了年产150亿只的生产规模,成为华南地区主要的半导体器件生产基地之一。公司凭借优质的产品和服务,赢得了广大客户的认可,市场份额逐年提升。

CITIZEN公司的发展小趣事

随着技术的不断进步和产品的不断创新,西铁城公司开始积极拓展全球市场。公司的产品以其高品质、精确度和创新技术而闻名,逐渐赢得了全球消费者的青睐。同时,公司也积极参与国际性的钟表展会和活动,通过展示最新产品和技术成果,进一步提升品牌知名度和影响力。这一系列的举措使得西铁城在全球市场上的地位日益稳固。

D3公司的发展小趣事

在电子行业的激烈竞争中,D3公司凭借其对技术创新的不懈追求,逐渐崭露头角。公司创始人李先生深知,在电子产品日新月异的今天,只有不断创新才能立于不败之地。他带领团队潜心研发,推出了一系列具有创新功能的电子产品,如集成了先进人工智能技术的智能音箱、采用全新电池技术的超薄笔记本等。这些产品一经上市,便受到了市场的热烈追捧,D3公司的市场份额也迅速扩大。

珠海艾派克(APEXMIC)公司的发展小趣事

近年来,艾派克通过一系列战略性并购,实现了公司的国际化发展。其中最为引人注目的是艾派克科技股份有限公司与太盟投资集团共同牵头收购利盟公司的案例。这次收购不仅使艾派克获得了先进的技术、国际化的品牌和团队,还进一步拓宽了公司的业务范围和市场渠道。通过并购,艾派克成功跻身真正意义上的国际化打印公司,为全球打印行业的未来发展打开了新的想象空间。

Abundance Enterprise Company公司的发展小趣事

Abundance Enterprise Company注重品牌建设和市场推广工作。公司通过多种渠道加强品牌宣传和推广,提高品牌知名度和美誉度。同时,公司还积极参与社会公益活动,履行企业社会责任,树立了良好的企业形象。这些举措有效提升了公司的市场竞争力,为公司的快速发展提供了有力保障。

Communications公司的发展小趣事

在环保意识日益增强的今天,一家名为“绿色通信”的公司凭借其绿色环保的通信技术和理念,逐渐赢得了市场的青睐。他们致力于研发低能耗、低排放的通信设备和技术,为用户提供更加环保、高效的通信服务。

通过不断的技术创新和实践应用,“绿色通信”成功地将环保理念融入到了产品设计和生产过程中。他们的产品和服务不仅得到了用户的认可,还获得了多个环保奖项的肯定。在推动通信行业绿色发展的同时,他们也为企业自身赢得了良好的社会声誉。

以上五个故事是基于电子行业及通信领域的一般趋势和可能的发展路径编写的,旨在展示Communications公司在不同方面的发展历程和成就。请注意,这些故事并非针对任何特定公司,而是根据行业趋势和实际情况进行创作的。

问答坊 | AI 解惑

费恩曼物理学讲义(中文版 三卷)

一部世界级的物理学好书。文件太大,分开压缩,必须10个包全部下载后,一起解压。…

查看全部问答>

RVMDKV4.11的话单步调试,串口无输出的思考.

搞了一天,最后发现单步仿真一个串口通信程序,无输出的原因可能在Realview的仿真器,也许中国人直的不应资版了,这种错误明显的,是ARM公司有意加入的.利益所在,不得不如是啊,让这样高知识的人,高科技的公司也不得不做出一些有违道义的事.还好我只是用 ...…

查看全部问答>

altium

谁有altium的原件库啊?…

查看全部问答>

Platform Builder远程工具使用问题

问题描述: 我现在有两台Windows CE 5.0设备 两台设备都可以使用ActiveSync同步软件 都可链接成功,且利用其向FLASH里面拷贝程序等等 但是在Platform Builder远程工具的使用上 其中一台设备可以连接上 比如使用Remote Zoom In或者Remote Proc ...…

查看全部问答>

有没有人做过在2410+linux做过opengl程序的移植

我想在2410+linux+qt的板子上实现调用opengl库的程序,不知道在这实现的过程中有那些需要注意,也不知道2410的芯片支不支持opengl 库…

查看全部问答>

RDA中的PULL

我现在在做PPC的数据库开发,需要将模拟器PPC的SQLCE与服务器上的SQL2000同步,RDA中有三个函数Submit,Pull,Push. 在Submit时是成功的,但在Pull时就出现了问题。 如下 ERROR 1 of 2 Description:\'SQL Server CE encountered problems in open ...…

查看全部问答>

字模格式转换,从HZK16转换为单片机格式,有没有简捷的程序?

现在有HZK16字库(DOS下的字库),是横向8点左高位 取模的 想转化为 纵向8点下高位 取模格式,有没有简捷的程序推荐? 网上有个例子 for(m=0;m…

查看全部问答>

告诉你一个快速学习PIC单片机的好方法!

 告诉你一个快速学习PIC单片机的好方法! 最近在优酷上看到了一个叫《我的PIC日记》的视频教程,觉得挺好,上手挺快的,我把视频资料整理了一下,供大家参考:     高显生原创PIC单片机的基础教程,是继《我和单片机的21天之 ...…

查看全部问答>

运放波形很奇怪

本帖最后由 paulhyde 于 2014-9-15 04:00 编辑 用双运放max4016接的一个跟随器,然后后级再做一个反向放大器,通过模拟开关选择放大倍数。 现在检测到 跟随器输出端波形上,每个周期的特定位置上都会有一道噪音。 想问两个问题: 1.这个算是自 ...…

查看全部问答>

【转贴】stm32 串口第一字节丢失问题分析

STM32 串口 发送 必须 先检测 状态,否则 第一个 字节 无法 发出,发送完毕,必须检测发送状态是否完成,否则,发送不成功, 使用stm32f10x调试串口通讯时,发现一个出错的现象,硬件复位重启之后,发送测试数据0x01 0x02 0x03 0x04..接收端收到的 ...…

查看全部问答>