历史上的今天
今天是:2025年01月13日(星期一)
2021年01月13日 | 新专利显示苹果眼镜或可以自动解锁你的iPhone
2021-01-13 来源:cnBeta
苹果即将推出的 “Apple Glass ”(苹果眼镜)可能会让用户跳过解锁iPhone,因为他们将已经通过认证。苹果目前已经获得了一项专利,就是利用 “苹果眼镜”或类似设备,自动解锁用户的其他设备。这类似于如果用户佩戴Apple Watch,Mac可能会解锁的方式。
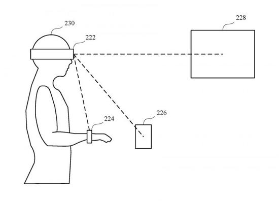
“认证设备辅助用户认证 ”最初是在2018年申请的,现在是一项新获批的专利,涉及通过近距离认证,即通过 “苹果眼镜 ”进行一次认证,用户无需反复解锁自己的iPhone、iPad、Mac或其他设备。苹果在专利表示,许多电子设备基于对用户身份认证来限制对各种功能的访问,当多个设备同时使用时,单独解锁每个设备程序会延迟用户的访问,并降低用户体验的质量。
苹果提出的解决方案包括一个经过认证的设备,该设备被用户佩戴为头戴式设备。附近的近距离设备可以是iPhone、iPad Pro、Mac等。然后]认证设备可操作以检测近距离设备,以确定用户在近距离设备处于锁定状态时访问近距离设备的意图,并发出认证数据。基于认证数据,近距离设备将用户识别为经过认证的用户,并从锁定状态进入解锁状态,从而使用户可以访问设备上各种限制访问的功能。
因此,在佩戴 “苹果眼镜 ”时拿起iPhone,用户甚至不一定要看手机,就可以直接使用它,而不是输入密码或等待Face ID。苹果建议,这种专利可以有层次认证。只要在佩戴“苹果眼镜 ”时拿起iPhone或iPad,就可以进行有限的使用。这类似于目前苹果设备可以让通知出现在锁屏上,或者允许在不解锁的情况下访问控制中心。

史海拾趣
|
IO Read这个引脚在有输入的时候应该呈低电平,没输入的时候应该一直高,但我的却呈2.5V,高的话应该是4.8V才对,这样导致工控机启动不起来,我的程序是这么写的 if(outputflag = \'0\') then if(addr = \"0001\") then &nb ...… 查看全部问答> |
|
//打开执行远程SQL语句窗口 void CRDAExamDlg::OnBtnsubmit() { ::MessageBox(NULL, L\"1\", L\"\", MB_OK); ISSCERDA* &n ...… 查看全部问答> |
|
本帖最后由 paulhyde 于 2014-9-15 04:00 编辑 ADC采样中断和键盘中断不能一块儿用,单独的模块儿都没有问题的,这是为什么,求大神们指导 … 查看全部问答> |
|
TI 开发软件CCS5.5.0.00068_win32下载啦! https://focus-webapps.ti.com/lic ... eleases/CCSv5/beta/ 迅雷下载… 查看全部问答> |




