历史上的今天
今天是:2025年01月13日(星期一)
2021年01月13日 | 51单片机实例讲解,由按钮控制灯亮程序
2021-01-13 来源:eefocus
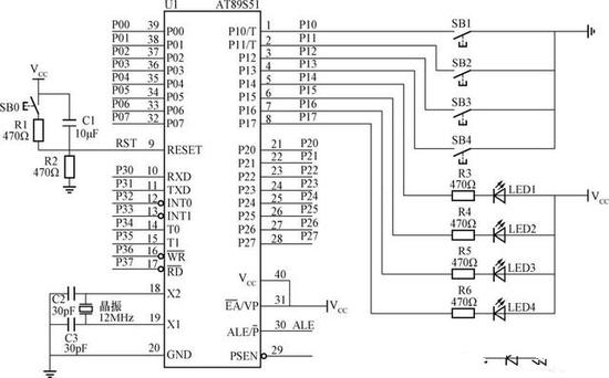
按钮控制灯亮接线原理图如图11所示。在单片机的P1口的低4位按上按钮,在高4位接上发光二极管。当按下SB1时(P1.0口为“0”),LED1发亮(P1.4口为“0”)。同理,若分别按下SB2、SB3、SB4,则对应的端口P1.5、P1.6、P1.7输出低电平,对应的发光二极管LED2、LED3、LED4就发亮。
若同时按下两个以上的按钮,则对应的发光二极管发亮。例如按下SB1和SB3,则对应的输出端口P1.4和P1.6输出为低电平,对应的发光二极管LED1、LED3发亮。
(1)按钮控制灯亮硬件电路(见图11)。

图11 按钮控制灯亮接线原理图
(2)按钮控制灯亮硬件电路元器件(见表3)。

表3 按钮控制灯亮硬件电路元器件表
(3)按钮控制灯亮程序流程图(见图12)。

图12 由按钮控制灯亮程序流程图
(4)按钮控制灯亮程序。

史海拾趣
|
无法找到ntifs.h 头文件,搞了两天了。都吐了高手帮忙啊 开发环境IFS2003+VS2008+DDKWIZARD 开发普通的驱动都很好。可是有一天我想尝试一下文件驱动: 我把sfilter里面的代码复制到我自己建的一个驱动项目里面,调好了编译环境,一编译找不到ntifs.h文件,于是我就把Include的路径改了一下,结果这下好 ...… 查看全部问答> |
|
ERROR: [U1_VM2] \'1.8V VCore\' (2.73V) is outside specified range (1.65V-1.95V)如何配置才能通过仿真… 查看全部问答> |
|
DX帮我看一下,为什么我的UART1不产生接收中断啊!! 初始化如下: ////////////////////////////////////////// ///串口1初始化 void Uart1Init(void) { //使能所有要用APB2的外设时钟 RCC_APB2PeriphClockCmd(RCC_APB2Periph_GPIOA | ...… 查看全部问答> |
|
我是电子专业,学习嵌入式,买了一个神舟一号的板子,感觉不是太好用,也不知道怎么用 mini2440,和神舟系列(神舟三号四号的)的是不是一一样的,mini2440相比之下有什么有点,现在在学ucos,下学期学Linux,买个什么板子最好呢,… 查看全部问答> |
|
我用的例子在开发板里下载到FLASH里可以运行,下载到我自己的板子里不能运行,但是在自己的板子里可以仿真,VDD3VFL也接了3.3V,忙了好几天,望各位碰到过类似问题的解答下,谢谢了… 查看全部问答> |
|
本帖最后由 paulhyde 于 2014-9-15 03:32 编辑 题目要求制作一个RLC 串联谐振电路作为被测网络, 要求被测网络通带中心频率为20MHz,误差的绝对值≤5%;有载品质因数为4,误差的绝对值≤5%;有载最大电压增益≥ -1dB; 这个有载最大电压增益≥ ...… 查看全部问答> |
|
为什么MSP430Ware的Driver Liberary下的“MSP430F5xx_6xx”系列里,在导入“FLASHCTL”的example project时,是空的!! 其它的example project都能正常导入! … 查看全部问答> |
|
STM32我定时器频率捕获90-120K范围,我测试100K频率误差418HZ,怎么降低误差 STM32我定时器频率捕获90-120K范围,我测试100K频率误差418HZ,怎么降低误差… 查看全部问答> |




