历史上的今天
今天是:2025年01月20日(星期一)
2021年01月20日 | 四种扩展51单片机中断的方法总结
2021-01-20 来源:eefocus
简介:MCS—51系列单片机内部只有两个外部中断源输入端,当外部中断源多于两个时,就必须进行扩展,下面介绍几种简单的扩展方法。
一、采用硬件请求和软件查询的方法:
这种方法是:把各个中断源通过硬件“或非(高有效,如CD4002)”(与,低有效)门引入到单片机外部中断源输入端(INT0或INT1),同时再把外部中断源送到单片机的某个输入输出端口,这样当外部中断时,通过“或非”(与)门引起单片机中断,在中断服务程序中再通过软件查询,进而转相应的中断服务程序。
显然,这种方法的中断优先级取决于软件查询的次序。其硬件连接和软件编程如下:
Void zhongduan (void) interrupt 0 using 3 //中断函数
{
EX0=0;//关中断
If(P0_0=1) { *****}//中断查询
If(P0_1=1) { *****}//中断查询
If(P0_2=1) { *****}//中断查询
EX0=1;开中断
}
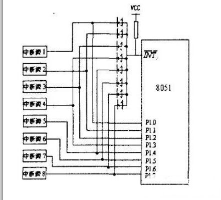
二、用普通二极管构成中断选择

扩展的8个外部中断源均通过二极管向I N T(x=0或I)请求中断。当某个外部中断源请求中断服务时输出低电平,单片机的I NT 经二极管接地电平,单片机满足响应外部中断(I N T)请求条件,响应中断,程序立即转向I NT 对应的中断入口地址处开始执行中断服务程序,通过软件查询PI.0~P1.7口外中断源的状态,以识别提出请求的外扩中断源,并转向中断服务程序为其服务,其查询顺序即为外部扩展中断源的中断优先级顺序。在图中,是选用PI.0~PI.7作为外扩中断源请求的状态信息输入端口。
有点类似第一种方法。
三、用定时器/计数器作外部中断
单片机的定时器/计数器是一个加一计数器,每当计数输入端有一个“1—0”的负跳变时,计数器加一,当加一计数器溢出时,就向CPU发出中断,利用这个特性
来扩展中断的方法是:首先把定时器/计数器设置成计数方式,并预置满值,把外部中断源输入到P3口第4引脚或第5引脚(计数器输入端),这样就可以利用
定时器/计数器作为单片机外部中断了。注意这种方法的中断服务的入口地址应
在000BH或001BH。
四、用专用中断扩展芯片8259A
8259A是可编程中断控制接口,单片机控制八级中断。在系统中还可采用级联方式,一个主片可级联8个从片,构成64级中断处理系统。
这样在程序小于8K的情况,就可以用一片单片机实现了,而不需要用两片单片机控制,还要进行单片机点对点通讯。
史海拾趣
|
如果同时掌握了arm和cpld会不会有所帮助? 来自EEWORLD合作群:arm linux fpga 嵌入0(49900581)群主:wangkj… 查看全部问答> |
|
我的是一个协议层驱动,有个疑问就是 A.使用CreateService,OpenService,QueryServiceStatus及StartService等一系列API安装起来的驱动 B.使用Inf文件及INetCfg的COM接口安装的驱动 问题是 1.这两种方式有什么不同? 2.为什么A安装后\"本地连接\" ...… 查看全部问答> |
|
我现在做图片解码显示,用的是ze的片子,我开辟了的一个大的数组在sram里,请放心这个数组确实在外部,我去过地址查看,0x6800xxx位置,现在的问题是,我如果把这个数组开辟的小一点,比如几百字节,lcd显示正常,开辟大来人比如几百k &n ...… 查看全部问答> |
|
请各位大侠帮忙看一下如下三条语句,已知(80H)=20H,(81H)=30H, LD #0,DP LD 80H,16,B ADD 81H,B 运行后B等于多少?这到底是属于绝对地址寻址还是直接寻址啊?谢谢!… 查看全部问答> |




