历史上的今天
今天是:2025年01月27日(星期一)
2021年01月27日 | 国星光电背光模组,显示器出神入“画”
2021-01-27 来源:爱集微
Mini LED作为国星光电的重点发展板块之一,其在Mini LED相关技术投入增加,国星光电成功实现了低OD值(OD值指扩散片的下表面与线路板上表面之间的距离),且不增加发光点阵列密度的Mini LED背光模组结构。
目前Mini LED线路板上的发光点阵列由一个或多个LED器件构成,可发出背光,扩散片对背光进行扩散。为了使扩散的效果最佳,现有的技术方案中,对发光点阵列采用两种处理方式,第一种采用器件+光学透镜的形式,即在器件阵列的每一个器件上焊接透镜,但这种方案很难达到小的OD值。第二种是舍去光学透镜,将带透镜的LED器件阵列密集排布,这样虽然可以达到很小的OD值,但是对LED器件数量要求很高,带来成本高、固晶效率低等问题。
为此,国星光电于2019年4月28日申请了一项名为“一种背光模组结构及显示器”的发明专利(申请号: 201920601692.3),申请人为佛山市国星光电股份有限公司。

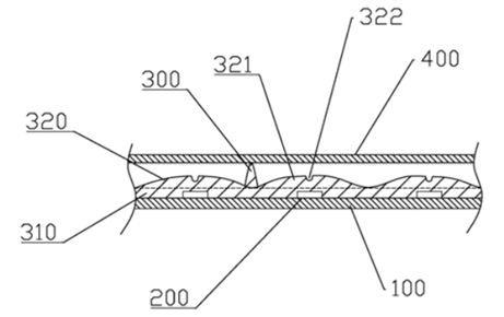
图1 背光模组结构示意图
图1为背光模组结构示意图。其中包括线路板100、发光点阵列200和扩散片400,所述发光点阵列200设置在线路板100上,扩散片400又设置在发光点阵列200的上方,发光点阵列200的单元发光点为LED芯片,并封装有一体成型的光学透镜封装层,用来均匀其出光。光学透镜封装层包括底铺层310和顶铺层320,顶铺层320呈起伏状,由若干个透镜单元321以相切和/或相交的像铺设而成。相邻的透镜单元321之间的相切/交约束较小。每个透镜单元321与每个单元发光点相对应,顶部中心处设有凹陷322,单元发光点位于凹陷322的正下方。
本发明中光学透镜封装层由封装胶水通过模顶工艺一体成型,直接在发光点阵列200上制作,实现一次配光,十分方便。具体方法为,提供模具,使模具上模腔与发光点阵列200中的单元发光点一一对应,通过注塑方式在每个单元发光点上胶水成型,得到光学透镜封装层。模顶封装工艺采用的胶水材质,如果选用邵氏硬度过高的封装胶水,在实际封装中就会存在胶裂的问题。
本背光模组结构创造性的对整个发光点阵列200进行光学封装设计。通过光学透镜封装层将每一个单位发光点连接成一体,相对于现有依靠独立LED器件+透镜的方案,该技术方案在光学设计上可以做得更加薄,而且在不额外增加发光点阵列200的密度的前提下,满足Mini LED背光小OD值的要求。
简而言之,国星光电的Mini LED专利,通过降低背光模组结构在光学设计上的厚度,而且在不额外增加发光点阵列密度的前提下,满足Mini LED背光小OD值的要求。
国星光电是国内最大的LED生产制造企业之一,也是全球LED封装行业龙头企业之一,始终坚持自主创新,努力掌握核心技术。未来,国安光电将始终坚持创新驱动发展战略,做强做优做大LED封装主业,致力于成为世界级LED封装技术创新领导者!
史海拾趣
|
求做模拟键盘鼠标动作驱动,过NP。 不要按一次键出发那种键盘驱动,鼠标定位要准,稳定(韩文系统) 报酬丰厚。 急,急,急 TELL ME: 13406738163 pass86@gmail.com… 查看全部问答> |
|
在学习中断过程中,使用最简单的程序如下,我使用的是开发板,直接load进去的。请教高手,程序为什么进不了中断?先谢谢了! #include \\"lf2407.h\\" void inline disable() { asm(\\" setc INTM ...… 查看全部问答> |
|
MSP430X32X微控制器的片内A/D TI的MSP430系列微控制器 TI公司的MSP430系列微控制器包含430X11X、430X31X、430X32X、430X33X等几种型号。可根据不同的应用目标作有针对性的选择。 MSP430系列微控制器在性能上有一定的特色, ...… 查看全部问答> |
|
[img]最近为这个问题很头疼,虽然网上也有资料,但总讲的也不详细,而且有些提到的东西找不到。有两个问题很烦恼,一、只要程序超过64KB,编译就出错,二、可不可以不指定bank,keil就能自己自动划分呢,对于写程序的人来说,写个C文件就指定一个ba ...… 查看全部问答> |




