历史上的今天
今天是:2025年01月28日(星期二)
2021年01月28日 | 苹果“折叠相机”专利解密:可拍摄三维图像
2021-01-28 来源:快科技
近段时间,已经有多方传闻证实了,苹果内部正在测试折叠屏设备的耐用性,将会在明年推出首款折叠屏iPhone。
但最新消息显示,苹果并没有将目光局限在折叠屏幕上,他们还想要打造一个能折叠的相机系统。
苹果申请“折叠相机”相关专利
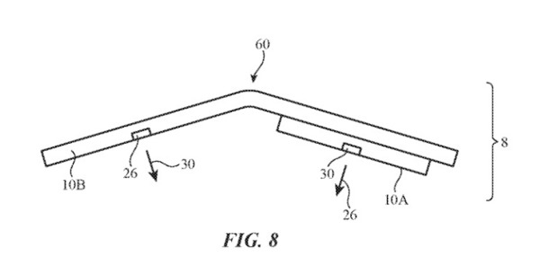
根据相关媒体报道,近日苹果向美国专利和商标局(USPTO)提交了一项新的专利申请,名为 “可弯曲电子设备的相机系统”。
专利介绍文件显示,这是一种电子设备可以具有由柔性织物、柔性聚合物或其他柔性材料形成的柔性外壳。摄像头可以安装在外壳上,外壳可以被弯曲成不同的形态,例如外壳具有面向外部区域的凸面的配置和外壳具有面向外部区域的凹面的配置。
“折叠相机”可用来拍摄全景图像或三维图像
相机可以具有各自的相机图像捕捉方向,通过弯曲外壳来调整相机的方向,可以使用相机来捕捉全景图像或三维图像。
从专利介绍来看,这个“折叠相机系统”应该是主要用于优化全景图像的拍摄方式和效果。
目前还没有关于该技术更加确切的信息传出,不过根据此前供应链传出的消息显示,富士康正在为苹果测试两种可折叠设备,其中一款可能就会用于“折叠相机系统”的应用。
而另一款则是真正的折叠屏iPhone,此前有媒体曝光了这款手机的最新渲染图。
网曝折叠屏iPhone渲染图
根据图片显示,苹果首款折叠屏iPhone采用了类似三星Galaxy Z Flip的上下翻折方案,且沿用多年的刘海终于在这款机型上彻底消失,整个正面完全无任何异物遮挡,且四边框完全等宽,视觉效果十分震撼。
此前有相关人士预测,折叠屏iPhone会在2022年发布,售价为1499美元起步,而这次曝光的“折叠相机系统”也有望同一时期与我们见面。
史海拾趣
|
我在使用CBitmapButton 时候出了一点问题,请给分析一下。 CBitmapButton m_BTN_F1; m_BTN_F1.AutoLoad(IDC_BTN_F1,this); m_BTN_F1.LoadBitmaps(IDB_SDCZ_F1UP, IDB_SDCZ_F1DOWN, IDB_SDCZ_F1UP,IDB_SDCZ_F1DOWN); m_BTN_F1.SizeToContent ...… 查看全部问答> |
|
现在usb网卡连接AP后,无线连接的信号质量始终是满格,跟踪了一下发现 vista系统并没有调用OID_802_11_RSSI,似乎和xp下不太一样, 请问大家应该用哪个OID或者函数功能来实现RSSI取值?… 查看全部问答> |
|
CE下的CETK测试要怎么设置才可以啊?我参考了网上的一些配置,可以连上但为什么老是报错呢? 简单的通过USB同步能不能做CETK测试吗?必须要网卡,要通过网络连接吗?我简单通过USB同步,PC上的CETEST。EXE可以连到下面的CE设备,但执行测试操作,老是报“windows CE Test Kit遇到问题需要关闭,我们对此引起的不便表示抱歉”。这是为什么?进 ...… 查看全部问答> |
|
MSP430 MCU作为TI的低功耗16位MCU大家都很熟悉了,不过一般都是在CCS下使用C语言编程开发。这里要给大家介绍一种全新的基于LabVIEW的图形化MSP430系统开发手段。我们需要在计算机上安装LabVIEW、LabVIEW C Generato ...… 查看全部问答> |
|
版上我经常看到有坛友询问入门MSP430需要什么样的教材,大家一致推荐的是使用用户手册(USER GUIDE)。咱们版块开设的一个目的就是让更多的人能接触并且熟悉MSP430,在新手入门的很多时候对英文版的用户手册是很抵触的,虽然用户手册上的英文都比较 ...… 查看全部问答> |




