历史上的今天
今天是:2025年02月01日(星期六)
2021年02月01日 | OPPO基于LoRa通信技术无网络条件下的通信方案
2021-02-01 来源:爱集微
随着无线耳机以及可穿戴式设备逐渐受到消费者的喜爱,各种通信技术也得到了发展,例如在远距离通信方面,出现了LoRa技术,这是一种由semtech公司建立的低功耗局域网无线标准。
其最大特点就是在同样的功耗条件下比其他无线方式传播的距离更远,实现了低功耗和远距离的统一,它在同样的功耗下比传统的无线射频通信距离扩大3-5倍,例如在城镇可达到2-5km,而在郊区达到了15km之远。
因此,借助于这种技术,就可以完成更多的任务以及弥补部分现有技术的不足,如当通信设备所处的位置移动通信网络不佳时,则无法进行正常的通信,例如,在一些停车场或景区时,经常会遇到网络通信信号不佳的状况,而导致通信设备无法进行有效的通信。
为此,OPPO在2020年7月6日申请了一项名为“控制方法、装置、移动终端、存储介质和无线耳机”的发明专利(申请号:202010639194.5),申请人为OPPO(重庆)智能科技有限公司。
根据该专利目前公开的资料,让我们一起来看看这项基于LoRa的通信方案吧。

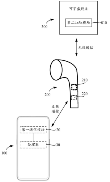
如上图,为该专利中发明的无网络通信控制方法的结构示意图,其中包括智能终端100、无线耳机200以及可穿戴式设备300,无线耳机中包括第一LoRa模块,可穿戴式设备中包括第二LoRa模块,这两个模块之间可以相互进行通信。
LoRa技术是一种基于扩频技术的远距离无线传输技术,属于低功耗广域网络技术(LPWAN)中的一种,低功耗广域网络技术是面向物联网中远距离和低功耗的通信需求的一种无线通信技术,具有低成本、低功耗、广覆盖、大连接的特点。
如下图,是这种控制方法的流程示意图:

智能终端首先发送控制信号至无线耳机处,以控制第一LoRa模块接收第二LoRa模块的配对信号,如果耳机和可穿戴式设备之间进行配对了,则会通过耳机与可穿戴式设备之间进行数据传输。智能终端与无线耳机的连接,则可以通过蓝牙、Wi-Fi等方式进行连接。
值得注意的是,在该方案的使用场景中,智能终端和无线耳机均需要在用户的手中,实际上也就是可穿戴式设备只具有和无线耳机通信的能力,这种能力就是借助于LoRa这种远距离传输计数来实现,而现在的智能手机中一般都不具有LoRa模块,因此,利用无线耳机作为无网络模式下的数据中转站,就可以实现智能手机与可穿戴设备之间的通信。
这样,不仅不需要对智能终端进行进一步处理,而且无线耳机也无需承担过多的数据处理任务,降低了无线耳机的硬件成本、体积以及功耗。而为了进一步增加无线耳机的数据交换能力以及充分发挥LoRa的通信能力,该专利还发明了多LoRa的交互方案,如下图所示:

可以看到,在这个方案中,无线耳机中的LoRa被分为了两个子模块211和212,且分别安置于两个蓝牙耳机上,而在可穿戴式设备中,也配备了两个LoRa子模块,用于与无线耳机中的两个子模块之间相互进行通信,这种多LoRa的通信方案可以有效的增加通信信号强度以及提高无线耳机的续航时间。
以上就是OPPO发明的借助于LoRa通信技术的无网络情况下的设备通信方案,通过中间媒介——无线耳机来在两个设备之间利用LoRa进行数据交换,保证了智能终端在网络通信信号不佳的情况下也能与可穿戴设备实现通信,增强了用户体验。
上一篇:华为去年在美国游说支出减少80%
下一篇:北京两会:加快传感器等的产业发展
史海拾趣
|
第一:现在正是大赛高峰,下载的人很多,可以考虑多派送一点芯币以解燃眉之急额! 第二:对于一个附件分卷压缩,如果很小的话,的确有刷分的嫌疑,建议斑竹,管理员整理。 第三:如果是很多,确实需要分开,是不是可以考虑一下多多补偿芯币。。。 ...… 查看全部问答> |
|
今天碰到一个protel的拖拽问题,当我拖拽导线或者fill的控点的时候,根本不管用,整条导线或者fill都跟着移动,以前拖拽还是可以用的现在不行了。各位有没有遇到过这种问题?????… 查看全部问答> |
|
有没有类似C++ STL开源库那样的实现各种数据结构的ANSI C库 有没有类似C++ STL开源库那样的实现各种数据结构的ANSI C库 我想在单片机上使用 有的话,大家给推荐一个 … 查看全部问答> |
|
小弟刚开始学protues软件,遇到了这样的问题,哪位能帮我解决一下,谢谢了!!! 我在选择components选项选择元件时怎么出现了如下的提示No Libraries Found!的提示,而不能像教程那样挑选元件?… 查看全部问答> |
|
C#.NET开发的程序,如何访问WINCE5.0移动设备的内存?? 通讯的红外驱动已经装好,在电脑里可以看到有 \"移动设备\"这个\'盘\',但不知道如何用代码实现把这个\'盘\'里的数据拷贝到PC上,请指点.谢谢!!!… 查看全部问答> |
|
我想写一个usb过滤驱动,能监控插入计算机的u盘内的文件变化并保存到本地硬盘,譬如在U盘内新建、删除、修改、拷贝了什么文件,记录下文件名以及硬件号 麻烦各位有经验的大侠提供一点思路,我自己都不确定能否做到这一点,是不是还要做文件系统驱 ...… 查看全部问答> |
|
在用EVC编写一个字符处理的小程序的时候,在处理WM_CHAR消息的时候,出现一个这样的问题: void CWordView::OnChar(UINT nChar, UINT nRepCnt, UINT nFlags) { CString m_strLine; m_strLine += nCha ...… 查看全部问答> |
|
用TI的lm3s811板子下不进去程序,本来好好的,突然就下不进去了,提示的错误是Could not initialize target device!Please power cycle the board and try again!哪位朋友知道是什么问题啊,我一开始还能下程序,就是突然就开始跳这个错误了,我 ...… 查看全部问答> |




