历史上的今天
今天是:2025年02月27日(星期四)
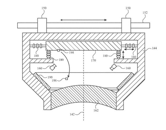
2021年02月27日 | 苹果Apple Glass新专利曝光:可侦测声音方位、自动清洁镜片
2021-02-27 来源:IT之家
苹果的 Apple Glass 智能眼镜此前已经公布了多个消息,苹果公司也申请了众多专利。外媒 appleinsider 消息,苹果最新的专利中展现了 Apple Glass 使用麦克风阵列探测声音方位的方法,另一项专利还曝光了苹果眼镜的自动清洁功能。

根据专利图片,眼镜正面以及头带上均配备大量麦克风,可以侦听不同方位的声音,从而在头戴显示装置上定位声音来源。专利中没有说明这项功能的具体应用,外媒表示或许可以配合 Apple Tag 蓝牙追踪器来寻找物品。

第二项专利为自动清洁 Apple Glass 镜片的装置。根据描述,该设备通过机械振动来清除头戴显示器 / 眼镜镜片表面的灰尘、碎屑等杂物,避免影响显示效果。苹果表示,在高分辨率显示设备上,异物和灰尘对显示效果的影响十分大。此外,残留在镜片表面的灰尘和异物,会磨损以及腐蚀镜片,时间久了之后会更难以清除,或聚集在设备更深处。
IT之家获悉,有产业链消息称苹果 Apple Glass AR 眼镜已经进入研发的第二阶段,将经历 6-9 个月的工程验证期。在这期间,制造商将专注于优化设别重量和电池续航能力。
史海拾趣
|
大事化小,成功一点点做起 我是搞工程的,我自己在做事的时候喜欢把任务分为许多块,没完成一个就有一次成就感,这样愉快的进行下一个目标。我平时也训练自己的这方面的能力,比如每天做俯卧撑20个,抄写古文等,目前已经抄写过《论语》,《孙子兵 ...… 查看全部问答> |
|
问题描述: 1.一个流式驱动,工作流程是硬件触发一个中断,系统采集到数据信息后通过xxx_READ将采集到的数据发给应用层; 2.驱动通过一个线程函数来获取GPIO的中断信号,并读取值从打印信息打印出。 (这里的处理正常,有多少中断都接受到,并且 ...… 查看全部问答> |
|
我在微软的网站下载的示例程序Pocket Access Demo,模拟器下运行没有任何问题,但是导到pda上总是提示未处理的“System.Runtime.InteropServices.ExternalException”类型的异常出现在 InTheHand.AdoceNet.dll 中。 其他信息: -2147024809 而且我 ...… 查看全部问答> |
|
用SAMSUNG的2440A做导航终端,400M主频,CPU发热严重,板子和机壳都很烫热.各位有什么好办法可以使CPU降温?看到别人的导航仪亦热,略感欣慰,非我独有啊!… 查看全部问答> |




