历史上的今天
今天是:2025年03月10日(星期一)
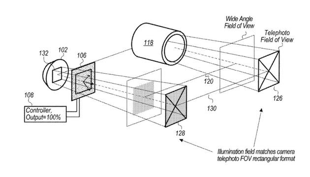
2021年03月10日 | 苹果新专利:可据物体距离进行相机闪光灯扩散
2021-03-10 来源:IT之家
据外媒 appleinsider 报道,苹果最近公开了一项名为 “可调节焦点的光源模块”专利,该专利可根据物体距离进行相机闪光灯扩散,以均匀照亮场景。
专利指出,无法根据变焦级别或根据与物体的距离进行调节的闪光灯会导致场景照明不均匀,专利中的闪光灯将包括照明元件和可调节的光扩散材料,相机控制闪光灯,同时将控制漫射器,从而使整个场景都能够得到均匀的照明。如果该专利投入使用,有望替代目前的 “夜景模式”。

IT之家了解到,专利中还提到,该方案可应用于许多不同类型的设备中的相机,例如 “较大的电子设备,包括移动电子设备,其中可以包括移动电话、智能手机、笔记本电脑等 “。
该专利中并未提及 LiDAR 激光雷达,但明确提到了距离信息来自相机的自动对焦。
史海拾趣
|
跪求高手指点: 在安装凌华采集卡驱动时,系统提示:If your drivers DO NOT perform DMA and INTERUPT Operation , & ...… 查看全部问答> |
|
本人新做一个有关数据采集的项目,问些比较菜的问题~!! 见笑啊 数据采集卡是12位的,用256k的频率进行数据采集,fifo缓冲区是8k*16bit。 我想知道这个缓冲区能存多少个数,缓冲区存满需要多 ...… 查看全部问答> |
|
就拿我们现实中普通的计数器来说吧,当我按下1键后,在它内部会产生什么情况?难道会产生一股电流?这股电流如何把1这个信息存储在内部某个元件上啊?这个元件是如何存储它的啊?我需要详细的了解最最底层的原理啊,硬件是如何识别0和1的?如何存储 ...… 查看全部问答> |
|
各位大师们好 我现在在三星Armv4-2410ep教学开发板上做串口通信的开发。我是在Windows Ce 4.2的平台下作的。台子上的Serial 0,我可以轻松搞定,可是Serial 2我怎么调也调不成功?这是为什么? 答案正确,一定给分 ...… 查看全部问答> |




