历史上的今天
今天是:2025年08月21日(星期四)
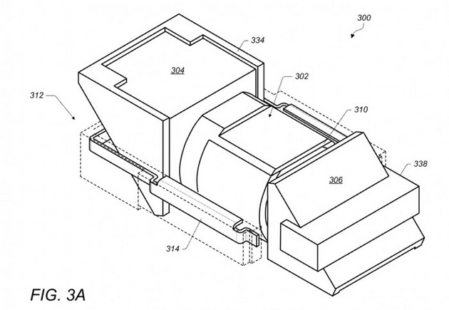
2021年08月21日 | iPhone潜望镜相机可提供光学图像稳定和自动对焦功能
2021-08-21 来源:cnBeta
根据美国商标和专利局授予苹果的一项新专利显示,未来iPhone中的潜望镜相机系统可能包括致动器,允许镜头移动以实现自动对焦和光学图像稳定的应用,而不需要大量增加相机的凸起。
苹果公司在iPhone 12 Pro中使用的三摄像头系统给用户带来了宽广的光学变焦范围。在这种情况下,需要使用三个相机传感器,因为设备中没有足够的厚度来实现变焦镜头的使用。绕过这个问题的一个方法在一些设备中开始浮现,它被称为潜望镜相机和折叠式相机,这些系统依靠的是以一定角度反射光线的镜头排列,利用智能手机的宽度而不是厚度进行工作。

据传,苹果公司正在开发一种折叠式相机,打算在未来的iPhone机型中使用。虽然这样做可以实现极长的焦距,但它仍然依赖于其他元素来发挥作用。主要的是了实现一系列的焦距,镜头排列必须能够移动,这就需要创造一种方法来安装镜头并将它们移动。
在美国专利和商标局周二授予一项名为“带有移动光学元件致动器的折叠式相机”专利中,苹果公司提出了一些在设备中包含折叠式光学元件和镜头移动的方法。在各种实施方案中,苹果建议该系统可以由两个棱镜组成,在这对棱镜之间有一个由多个元素组成的镜头组。棱镜将光线沿轴线引向成像传感器,而镜头组则处理各种光学功能。

镜头组可以被固定在一个内部载体结构中,该结构本身与一个外部载体结构相连。两个结构都可以移动,其中一个以直角移动,允许镜头排列的角度和位置有很多变化。该专利涉及安装或悬挂镜头安排的方法,以提供OIS和自动对焦功能。苹果建议用音圈马达执行器将两个载体移到一起,以提供自动对焦功能。第二个和第三个VCM致动器可用于将内部载体结构相对于外部载体进行移动,以提供光学图像稳定。
苹果公司每周都会提交大量的专利申请,但虽然专利的存在表明苹果公司的研究和开发目的感兴趣的领域,但它们并不能保证这个想法会出现在未来的产品或服务中。
史海拾趣
|
软误差是半导体器件中无法有意再生的“干扰”(即数据丢失)。它是由那些不受设计师控制的外部因素所引起的,包括α粒子、宇宙射线和热中子。许多系统能够容忍一定程度的软误差。例如,如果为音频、视频或静止成像系统设计一个预压缩捕获缓冲 ...… 查看全部问答> |
|
关于写wince6的spi应用,如何配置deviceiocontrol来初始呢?急求!!! 小弟最近在写wince6一些设备的测试应用, createfile打开spi设备后,该如何初始化spi的基本配置呢? 用deviceiocontrol吗?但是不知道设置哪些参数来初始化 请各位帮帮忙!… 查看全部问答> |
|
各位嵌入式爱好者网友: 我先说一下,我今年27了,一直在做vb的开发,老感觉待不下去了,想去做一些事情,例如创业。我一直是搞技术的,希望通过技术开发一款产品,这点我可以找合作伙伴一起做。 后来就找到了嵌入式开发这里。我要 ...… 查看全部问答> |
|
using System; using System.Collections.Generic; using System.ComponentModel; using System.Data; using System.Drawing; using System.Text; using System.Windows.Forms; namespace soundpdatest { public partial class Form ...… 查看全部问答> |
|
9月初的(成都)电子展的规模据说近五百家,我们的两个主要的竞争对手都第一次参加了,我们老大想参加,但实际上我们目前在西南的客户很少。不太了解那边的状况(我们公司提供电子生产制造中用的一种高精度测试设备,目前的主要客户在沿海地区)。 ...… 查看全部问答> |
|
1 最高波特率是多少?手册上说:1.5.2 Maximum baud rateBHigh is the highest baud rate for which the deviation still does not exceed the&n ...… 查看全部问答> |
|
2440启动代码中有段代码设置大小端如下: ASSERT :DEF:ENDIAN_CHANGE [ ENDIAN_CHANGE ASSERT :DEF:ENTRY_BUS_WIDTH [ ENTRY_BUS_WIDTH=32 b ChangeBigEndian ;DCD 0xea000007 ] [ ENTRY_BUS_WIDTH=16 andeq r14,r7,r0,lsl #20 ;DCD 0x0007 ...… 查看全部问答> |
|
最开始的时候是手册看的没感觉,就去看代码(发现更没感觉),主要是寄存器定义不清楚,后来对着User Guide看代码就轻松很多。 后来是要用到某个模块,就图简单,从范例里面把设置代码抄过来。… 查看全部问答> |




