历史上的今天
今天是:2024年09月05日(星期四)
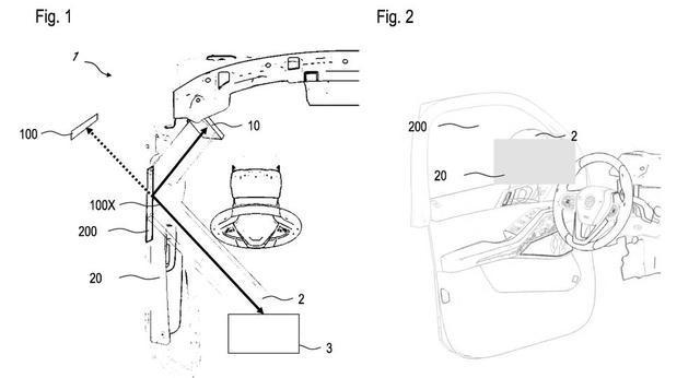
2021年09月05日 | 取消物理后视镜?宝马正在计划开发虚拟后视镜
2021-09-05 来源:欢视汽车
宝马已经申请了一项专利,描述了一种将后视投射到前窗的一部分的技术。
汽车制造商正在将越来越多的疯狂技术装入他们的汽车中,以吸引买家和/或提高安全性,这意味着一些最古老和最简单的功能正在被重新发明。

就拿不起眼的后视镜吧。它是您汽车中最简单的部件之一,但也是最有用的部件之一,因此您可能认为添加技术不会对其进行太多改进。然而,有些人正在尝试通过使用相机镜子。这样做有一些好处,最明显的是在空气动力学方面 - 一个小的相机吊舱产生的阻力要小得多。
您也可以拥有更大的(尽管是固定的)视野,并且您可以在显示屏顶部显示安全信息,例如盲点监控警告。几年前,宝马通过在消费电子展上展示的i8概念版实现了部分想法,但该公司正在通过一项新专利提出更有趣的东西。

正如有人在论坛上发现的那样,宝马已向欧洲专利局 (EPO) 提交了一项专利,详细介绍了对虚拟后视镜的截然不同的看法。与 i8 上的系统以及本田 E和奥迪 E-Tron 之类的类似设置一样,摄像头安装在传统的后视镜单元的位置上,但信息并不简单地显示在仪表板/门安装的屏幕上。

取而代之的是,相机看到的东西会投射到两个前挡风玻璃上的半透明部分。就像平视显示系统一样,图像看起来比实际玻璃更远,似乎占据与普通镜子单元相同的区域。

这将是更好的解决方案,因为驾驶员的眼睛不会那么紧张。他们也不必习惯于在与正常情况不同的位置寻找,就像 E-Tron 一样,它要求用户进一步向下查看安装在门上的卡式显示器。
想要放下一个或两个前窗?正如你所希望的,宝马已经想到了这一点。用于镜面显示的玻璃部分将与主窗口分开,当主窗口收紧时保持固定,想法还是比较周到的。
史海拾趣
|
家电是现代生活方式的核心。消费者希望家电产品不但 “智能”、“绿色”,当然还要价格合适。所有这些 需求都促使当今的家电设计人员推出真正的高技术产品。 多年以来,智能家电采用微控制器单元(MCU)和数字信号处理(DSP)模块等通用电子器件来管 ...… 查看全部问答> |
|
wince下希望通过程序控制录音的音量,使用mixer一组的函数,遇到了一些棘手的问题: 1,mixerGetNumDevs的返回值竟然是0,不解; 2,mixerOpen执行总是失败,返回值为MMSYSERR_BADDEVICEID; 我用的是EVC4.0,在wince5.0下运行。 请问大家是否 ...… 查看全部问答> |
|
1,我的Wince+2440休眠唤醒后系统运行明显变慢,直至渐渐死机,请各位大侠推测下可能是什么原因; 2,能否设置休眠唤醒源为多个?比如我是否能设置EXTINT0,EXTINT1均能把系统从休眠中唤醒; 3,电源管理项是如何取得空闲时间的,目前我设置1分钟 ...… 查看全部问答> |
|
开发PDA上的程序,读文件的路径就应该是设备上的路径,PC上的路径就没用了。 模拟器上是没文件的,不知道怎么办了? 有人告诉我保持读文件路径与部署路径的一致就可以了。我照做了仍然不行, ...… 查看全部问答> |
|
请问各位同行:MSP430F1611的DVCC引脚断了,可以接到旁边的P6.3引脚,从P6.3引脚给芯片供电吗?如果这样对芯片的正常工作有什么影响吗?望各位同行给新手指导啊,我感谢个位同行的回答,不管是否有用都很感谢你们发表意见!!… 查看全部问答> |
|
TI 指南囊括了各种标准模拟产品,其具有封装尺寸小、性价比高等优异特性, 能够全面满足客户广泛的应用需求。 新版标准线性指南包括:器件详情及相关参数表关键产品信息封装选项及定价 现在下载 … 查看全部问答> |




